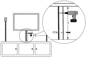
hama 00020644-45 Aluminium Cable Duct Instruction Manual
Assembly Instruction







hama 00020644-45 Aluminium Cable Duct Instruction Manual







Download manual
Here you can download full pdf version of manual, it may contain additional safety instructions, warranty information, FCC rules, etc.