Mondawe IF-1330TCL Electric Fireplace

CONSUMER SAFETY INFORMATION
- Read this manual before installing and operating this appliance
- Failure to follow these instructions may result in electric shock, fire property, or personal injury
- Do not store or use gasoline or other flammable liquids in vicinity of this appliance.
WARNING
- Read all instructions before using this heater!
- This heater is hot when in use. To avoid burns, DO NOT let bare skin touch hot surfaces. If provided, use handles when moving this heater. Keep combustible materials, such as furniture, pillows, bedding, papers, clothes, and curtains at least 3 feet (0.9m) from the front of the heater, and keep them away from the sides and rear.
- Extreme caution is necessary when any heater is used by or near children or invalids and whenever the heater is left operating and unattended.
- DO NOT operate any heater with a damaged cord or plug or after the heater malfunctions, has been dropped or damaged in any manner, Discard heater, or return to authorized service facility for examination and /or repair.
- DO NOT run power cord under carpeting. DO NOT cover power cord with throw rugs, runners, or similar coverings. DO NOT route power cord under furniture or appliances.
Arrange power cord away from traffic area, and where it will not be tripped over. - WARNING
- Connect to properly grounded outlets ONLY.
- DO NOT insert or allow foreign objects to enter any ventilation or exhaust openings, as this may cause electric shock or fire, or damage the heater.
- To prevent a possible fire, DO NOT block air intakes or exhaust in any manner. Doing so could cause a fire. DO NOT use on soft surfaces, like a bed, where openings may become blocked.
- A heater has hot and arcing or sparking parts inside. DO NOT use it in areas where gasoline, paint, or flammable liquids are used or stored.
- Use this heater only as described in this manual. Any other use not recommended by the manufacturer may cause fire, electric shock, or injury to persons.
- ALWAYS plug heaters directly into a wall outlet/receptacle. Never use with an extension cord or relocatable power tap (outlet/power strip).
- DO NOT place the heater near a bed because objects such as pillows or blankets can fall off the bed and be ignited by the heater.
- NEVER use this heater in bathrooms, laundry rooms, or any other location where the heater could fall into a bathtub or pool, become damp or come in contact with water.
- AVOID FIRE! Regularly inspect all air vents to make sure they are free from dust, lint, or other Blockage.Unplug the unit and clean with a vacuum ONLY. DO NOT rinse or get wet.
- ALWAYS mount to wall bracket before use. DO NOT set on the floor, or other surface, to use.
- NEVER use a wall mount bracket from another manufacturer.
- This product is not intended to be a primary heat source. It is for supplemental heat only.
- INDOOR use only! NEVER use this heater outdoors! Doing so may result in electric shock!
- Risk of electric shock! DO NOT OPEN! No user-serviceable parts inside!
- ALWAYS turn this heater off before unplugging it from the outlet.
- ALWAYS disconnect this unit from the power supply before performing any assembly or cleaning, or before relocating the electric fireplace.
- NEVER leave this heater unattended. ALWAYS unplug this heater when not in use.
- ALWAYS store this heater in a dry location.NEVER use the fireplace if it has become wet.
- NEVER plug this heater into an outlet that is old, cracked, or has any loose wires or connections. Plugging this heater into a faulty outlet could result in electric arcing within the outlet that could cause the outlet to overheat or catch fire.
- ALWAYS check your heater cord and plug connections with each use!
- MAKE SURE the plug fits tight in the outlet! Faulty wall outlet connections or loose plugs can cause the outlet to overheat.
- Heaters draw more current than small appliances. Overheating may occur even if it has not occurred with the use of other appliances.
- During use check frequently to see if the plug outlet or face plate is HOT!
- If the outlet or face plate is HOT, discontinue use immediately and have a qualified electrician inspect and/or replace the faulty outlets.
- The power cord supplied with the heater has a plug with two flat blades (live and neutral) and one round pin (ground). If a 3- slot receptacle is not available, an adapter MUST be used. The adapter MUST be properly grounded to the outlet box (see figure at right).(Note:Adapter NOT INCLUDED.)

PREPARATION
This product includes a GLASS panel! Always use extreme caution when handing glass. Failure to do so could result in personal injury or property damage.
Remove all parts and hardware from the carton and place them on a clean, soft, dry surface. Parts and assembly steps are grounded for wall-hanging or recessing use. Check the parts list to make sure nothing is missing. Dispose of packaging materials properly. Please recycle whenever possible. You will need the following tools (not included): Phillips screwdriver; stud finder; level; tape measure; electric drill; 1/4” wood drill bit, hammer.
PARTS & HARDWARE

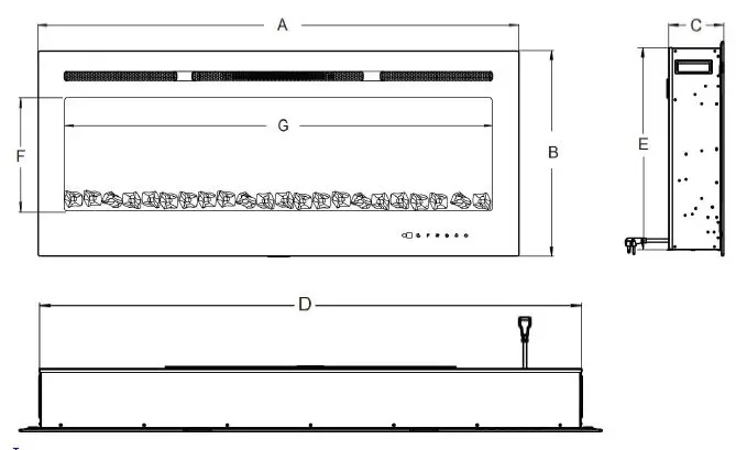
Specification and Dimension

PRODUCT DIMENSIONS
| PRODUCT DIMENSIONS | |||||||
| Model Number | A | B | C | D | E | F | G |
| IF-1330TCL | 30” 76.2cm | 17.0” 43.2cm | 4.13” 10.5cm | 26.2” 66.5cm | 16.2” 41.2cm | 9.1” 23.2cm | 23.7” 60.2cm |
| IF-1336TCL | 36” 91.5cm | 17.0” 43.2cm | 4.13” 10.5cm | 32.2” 81.8cm | 16.2” 41.2cm | 9.1” 23.2cm | 29.7” 60.2cm |
| IF-1340TCL | 40” 101.6cm | 17.0” 43.2cm | 4.13” 10.5cm | 36.2” 91.9cm | 16.2” 41.2cm | 9.1” 23.2cm | 33.7” 85.6cm |
| IF-1350TCL | 50” 127.0cm | 17.0” 43.2cm | 4.13” 10.5cm | 46.2” 117.3cm | 16.2” 41.2cm | 9.1” 23.2cm | 43.7” 111.0cm |
| IF-1360TCL | 60” 152.4cm | 17.0” 43.2cm | 4.13” 10.5cm | 56.2” 142.7cm | 16.2” 41.2cm | 9.1” 23.2cm | 53.7” 136.4cm |
Installation and Assembly
Your appliance is a wall-mounted, recessed and /or mantel-installed appliance. Select a suitable location that is not susceptible to moisture and is away from drapes, furniture and high-traffic areas.
NOTE:Follow all National and local electrical codes.
MINIMUM CLEARANCE TO COMBUSTIBLES
| Measurements are taken from the glass front. | |||
| Bottom | 0” | Top | 11.8”(300mm) to mantel |
| Sides | 0” | Top | 11.8”(300mm) to ceiling |
| Back | 0” | ||
MINUMUM MANTEL CLEARANCES
WARNING
WHEN USING PAINT OR LACQUER TO FINISH THE MANTEL, THE PAINT OR LACQUER MUST BE HEAT RESISTANT TO PREVENT DISCOLOURATION

RECESSED TO WALL INSTALLATION

Figure (A) Framing Hole Size STEP A. Selection drywall to open a hole for the fireplace box. Size of the hole as below chat Figure (A)
| Framing Hole Size | ||
| Model Number | W | H |
| IF-1330TCL | 26.77”(68.0cm) | 16.54”(42.0cm) |
| IF-1336TCL | 32.77(83.2cm) | 16.54”(42.0cm) |
| IF-1340TCL | 36.77”(93.4cm) | 16.54”(42.0cm) |
| IF-1350TCL | 46.77”(118.8cm) | 16.54”(42.0cm) |
| IF-1360TCL | 56.77”(144.2cm) | 16.54”(42.0cm) |


STEP B. Fix the four wall anchors in each side of the fireplace box according to the dimensions Showed on the drawing. Figure (B)

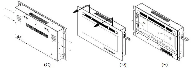
STEP C. Take off the two screws in both sides of fireplace. Figure (C)
STEP D. Have two person to take the glass panel out of the fireplace box. Place it to a soft and clean place. Figure (D) , taks two pcs of foam out of fireplace(E).

STEP E. Have two person to move the fireplace box to the wall hole or fireplace mantel (F). If the appliance is fully recessed into the wall:
- Use the 4 screws(provided) to lock the appliance into wall with the existing two side flanges, see Figure(G)
- Install the media and re-install the glass front.
STEP F. Place the front panel lock the appliance. See Figure (H)
STEP G. Fireplace will be like this after installation Figure (I)
Wall Mounted Installation
Due to the many different materials used on different walls, it is highly recommended that you consult your local builder before you install this appliance on the wall.
A. Select a location that is not prone to moisture and is located at least 36”(914mm) away from combustible materials such as curtain drapes, furniture, bedding, paper, etc.
B. Have two people hold the appliance against the wall to determine the final location.
C. Place unit face down on a soft, non abrasive surface.Remove the bracket from the back of the unit by removing the screws, refer to Figure 1. Remove four pcs of silver screws at bothe sides, refer to Figure 2.

D. Take glass off carefully, then take two pcs of foam out of fireplace.

E. Mark out location, then mount the bracket(s) onto the wall using the supplied screws. This bracket MUST have the hooks facing upward and be level.

NOTE: It is strongly Recommended that the mounting bracket(d) be screwed into the wall studs where possible. If the wall studs cannot be used, ensure that the supplied plastic anchors are used to affix the bracket to the wall and the bracket is adequately secured.
F. With the wall mounting bracket installed have two people lift the appliance up and insert the two hooks on the bracket into the two slots on the back of the appliance.Use original 4x8mm screws to fasten wall bracket.
G. Check the appliance for stability ensuring that the bracket will not pull free from the wall.
H. Place the front panel lock the appliance.Fig.7

Logset /Crystal Ember Installation
(Note: Please make the installation according to the embers which you bought or selected.)
A. Glass front must be removed and the appliance must be mounted in its final location before the logset/crystal embers are installed.
B. If your fireplace come with lotset, remove the logset from the package, put it to the fireplace designed place. Figure 1.
C. If your fireplace come with CLEAN CRYSTAL MEDIA: crystal may have a fine oil residue that needs to be cleaned prior to installation. Clean them with mild dish soap, drain, rinse thoroughly and dry before placing into the tray.
D. Then carefully place crystal embers into the bottom tray on the front of the appliance as illustrated. Apply an even layer from side to side. Figure 2.

WARNING
Read and understand this entire owner’s manual, including all safety information, before plugging in or using this product. Failure do to so could result in electric shock, fire, serious injury, or death.
Power
Plug the power cord into a 110-120V Volt 12 Amp grounded outlet (see IMPORTANT SAFETY INFORMATION on Pages 2 and 3).Make sure the outlet is in good condition and that the plug is not loose.NEVER exceed the maximum amperage for the circuit. DO NOT plug other appliances into the same circuit.
Methods of Operation
This electric fireplace can be operated by the TOUCH PANEL, located on the BOTTOM right side glass panel of the fireplace, or by the battery-powered
REMOTE CONTROL.
The operation and functions of the two methods are the same.
Before operating, please review the IMPORTANT SAFETY INFORMATION on Pages 2 and 3, and heed all warnings.


Touch panel/Remote control Operation
| BUTTON | FUNCTION | ACTION&INDICATION |
![]() POWER | ON: Enables control panel functions and remote control.Turn on flame effect. OFF: Disables control panel functions and remote control.Turn off flame effect. | 1. Press once. Indicator light turns on. Power turns on. All functions enabled. 2. Press again. Indicator light turns off. Power turns on. All functions will off. |
![]() COLOR | Coadl bed COLOR button: Makes the coal bed’s color flame effect changing. | 1. Press once. Flame color effect gets changing. 2. Press again until desired setting is reached. |
FLAME | FLAME COLOR button: Makes the back flame color effect changing. | 1. Press once. Flame color effect gets changing. 2. Press again until desired setting is reached. |
| HEATER button:Turn heater on and off. NOTE: To prevent overheating, the heater fan will blow out cool air for 30 seconds after the heater turn off. | 1. Press once. Indicator lights up. 750W heater turns on and blows warm air. 2. Press again. Indicator lights up. 1500W heaters turns on and blows hot air. 3. Press again. Heaters turn off . The display show “00” The fan blows cool air for 30 seconds to allow heater to cool down, then turns off. | |
| TEMPERATURE button: Control temperature settings to choose temperature as desired. Setting range from 62F to 82F. | 1. Press once. Indicator light turn on. Temperature is set to 62F. 2. Press again until desired setting is reached. LED display show setting. | |
TIMER | TIMER button: Control timer settings to turn off fireplace at selected time. Settings range from 0 hours,1hours, to 8 hours. | 3. Press once. Indicator light turn on. Temperature is set to hours. Press again until desired setting is reached. LED display show setting. |
NOTICE When the heater is first turned on, a slight odor may be odor may be present. This is normal and should not occur again unless the heater is not used for a long period of time.
To improve operation, aim the remote control at the front of the fireplace. DO NOT press the buttons too quickly.Give the unit time to respond to each command.
Temperature Limiting Control
This heater is equipped with a Temperature Limiting Control. Should the heater reach an unsafe temperature,the heater will automatically turn OFF. To reset:
- Unplug the power cord from the outlet.
- Turn the ON/OFF switch on the CONTROL PANEL to OFF. Wait 5 minutes.
- Inspect the fireplace to make sure no vents are blocked, or clogged with dust or lint. If they are, use a vacuum to clean the vent areas.
- With the POWER switch in the OFF position, plug the power cord back into the outlet.
- If the problem continues, have your outlet and wiring inspected by a professional.
Remote Control Battery Information
- With 2x AAA batteries.

Step1, remove back cap’s screws.

Step 2, take back cap out off remote, insert 2x AAA batteries.

Last, fasten back cap again, then scew it.
NOTE: Remote control battery used depends on the remote control type which selected above.
NEVER dispose of batteries in fire. Failure to observe this precaution may result in an explosion.
Dispose of batteries at your local hazardous material processing center.
CARE AND MAINTENANCE
Cleaning
ALWAYS turn the heater OFF and unplug the power cord from the outlet before cleaning, performing maintenance, or moving this fireplace. Failure to do so could result in electric shock, fire, or personal injury.
NEVER immerse in water or spray with water. Doing so could result in electric shock, fire, or personal injury.
Metal:
- Buff using a soft cloth, slightly dampened with a citrus oil-based product.
- DO NOT use brass polish or household cleaners as these products will damage the metal trim.
Glass:
- Use a good quality glass cleaner and dry thoroughly with a paper towel or lint-free cloth.
- NEVER use abrasive cleansers, liquid sprays, or any cleaner that could scratch the surface.
Vents:
- Use a vacuum or duster to remove dust and dirt from the heater and vent areas.
- Clean the exterior of the fireplace with a slightly damp cloth or duster.
Maintenance
Risk of electric shock! DO NOT OPEN! No user-serviceable parts inside!
ALWAYS turn the heater OFF and unplug the power cord from the outlet before cleaning, performing maintenance, or moving this fireplace. Failure to do so could result in electric shock, fire, or personal injury.
Electrical and Moving Parts:
- The fan motors are lubricated at the factory and will not require lubrication.
- Electrical components are integrated in the fireplace and are not serviceable by the consumer.
Storage:
- Store heater in a clean dry place when not in use.
WARNING! No other servicing should be performed by the consumer. Do not attempt to service the unit yourself.
Troubleshooting
WARNING
DISCONNECTED THE APPLIANCE COMPLETELY AND LET COOL PRIOR TO ANY SERVICE.
ONLY A QUALIFIED SEVICE PERSON SHOULD SERVICE AND PEPAIR THIS ELECTRIC APPLAINCE.
| Problem | Possible Cause | Solution |
| 1. Fireplace turns off and will not turn on. | 1. Fireplace has overheated and safety devise has caused thermal switch to disconnect or home circuit breaker has opened. | 1. Reset switch by turning main power off and waiting turning it back on or breaker circuit breaker. |
| 2. Flame is not moving. | 1. Loose wiring. 2. Flame motor defective. 3. Flame rod out of place | 1. Inspect wiring for loose connections. 2. Call a qualified service technician to replace flame motor. |
| 3. “Flame Rod” out of place due to rough transit/handing of the product. This issue can be corrected as simple as removing the glass, flipping the fireplace upside and down, removing a set of screws that are holding the bottom frame plate and placing the flame rod back into place. | ||
| 3 Flame is not visible. | 1. Wiring is loose | 1. Disconnect from power source and inspect wiring for loose connections and repair or replace if necessary. 2. Push the flame button to high |
| 4 Log set and /or is not glowing. | 1. Wiring is loose 2. Ember is off mode | 1. Disconnect from power source and inspect wiring for loose connections and repair or replace if necessary. |
| 5 Remote control does not work. | 1. Low batteries. 2. Not aiming control correctly.
3. Defective remote control and /or sensor | 1. Replace batteries in remote control. 2. Aim control at sensor located directly behind glass screen in center of unit just above logs. 3. Replace remote control and/or sensor. |



FLAME
TIMER


















