IMPORTANT INFORMATION
WARNING: TO REDUCE THE RISK OF FIRE OR ELECTRIC SHOCK, DO NOT EXPOSE THIS PRODUCT TO RAIN OR MOISTURE.
WARNING:
FCC Regulations state that any unauthorized changes or modifications to this equipment not expressly approved by the manufacturer could void the user’s authority to operate this equipment.
NOTE:
This equipment has been tested and found to comply with the limits for a Class A digital device, pursuant to Part 15 of the FCC Rules. These limits are designed to provide reasonable protection against harmful interference when the equipment is operated in a commercial environment. This equipment generates, uses, and can radiate radio frequency energy and, if not installed and used in accordance with the instruction manual, may cause harmful interference to radio communications. Operation of this equipment in a residential area is likely to cause harmful interference in which case the user will be required to correct the interference at his own expense.
This product utilizes a CR coin Lithium battery which contains a Perchlorate material. Special handling for this material may apply, California residents, See www.dtsc.ca.gov/hazardouswaste/perchlorate/ Others, consult local environmental officers.
“BATTERY DISPOSAL”
PLEASE CONTACT YOUR LOCAL AUTHORITY FOR THE CORRECT METHOD OF DISPOSAL OF THE USED BATTERY.
DEAR SHARP CUSTOMER
Thank you for your purchase of a SHARP product. To ensure safety and many years of trouble-free operation of your product, please read the Safety Precautions carefully before using this product.
Specifications
| Model | PN-ZCMS1 | |
| Audio input/output terminal | x 1 | |
| USB port | USB2.0 Type-C x 1 | |
| Supported operating system | Wiondows 8.1 / Windows 10 / Windows 11 mac OS v10.15 / v11 / v12 | |
| Applicable models (APPLICATION mode)* | LCD MONITOR PN-L652B / PN-L752B / PN-L862B | |
|
Camera | Number of pixels | 12,000,000 pixels |
| Format | H.264 / MJPG / YUY2 | |
|
Resolution | H.264 / MJPG: 3840×2160 / 2560×1440 / 1920×1080 / 1280×720 / 1024×576 / 960×540 / 800×600 / 640×480 / 640×360 / 480×270 / 352×288 / 320×240 / 320×180 / 176×144 / 160×120 / 160×90
YUY2: 640×480 / 640×360 / 480×270 / 352×288 / 320×240 / 320×180 / 176×144 / 160×120 / 160×90 | |
| Viewing angle | 120° | |
| Angle of movement | 15° up/down | |
| Focal length | 6.6 feet (2m) | |
| Zoom | Max. 5 times | |
| Mic | Number of internal mics | 6 |
| Effective range | 26. 2feet (8m) | |
| Speaker | x 1 | |
| Power requirement | AC 100 V – 240 V, 50/60 Hz (When using the supplied power cord (AC adapter)), DC 12 V | |
| Operating temperature | 32°F to 104°F (0°C to 40°C) | |
| Operating humidity | 10% to 90% (no condensation) | |
| Power consumption | 36 W | |
| Dimensions inch (mm) (excluding protrusions) | Approx. 18-3/16 (W) x 3-11/16 (D) x 3 (H) (462 x 93 x 76) | |
| Weight lbs. (kg) | Approx. 2.1 (0.95) | |
As of June 2022 (Available models differ according to region.)
As a part of our policy of continuous improvement, SHARP reserves the right to make design and specification changes for product improvement without prior notice. The performance specification figures indicated are nominal values of production units. There may be some deviations from these values in individual units.
Mounting Precautions (For SHARP dealers and service engineers)
When used by mounting on the wall
- Install on a vertical wall having enough strength that is free from vibrations.
- Do not apply any other load on the wall mount bracket.
- Do not use other than this product.
- Fix the A wall mount bracket (supplied) on the wall with wall mount bracket screws (supplied) (x3).
- If necessary, use the wall mount bracket anchors (supplied).

- If necessary, use the wall mount bracket anchors (supplied).
- Fix this product and the B wall mount bracket (supplied) with the camera screw (supplied).

- Suspend the B wall mount bracket (supplied) to the A wall mount bracket (supplied).

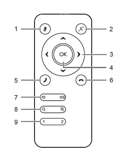
Remote Control Unit
Operate the remote control unit while facing the front of this product.
- Mic button
- Used to switch the mic to ON/OFF.
- Auto framing button
- Used to switch the auto framing function to ON/OFF.
: ON
: OFF
When ON, framing is performed automatically in accordance with the speaker.
- Used to switch the auto framing function to ON/OFF.
- Cursor button
- Used to move the display range of the camera after zooming the camera.
- OK button
- Used to return the zoomed or moved state of the camera to the initial state.
- Call button
- Answer the communication.*
- End Call button
- Hang up communication.*
- Volume button
- Used to adjust the speaker volume.
- Zoom button
- Used to zoom-in or zoom-out the camera display.
- Preset (1/2) button
- Used to change the display to the preset magnification rate or display position during camera display. This button cannot be used if the auto framing function is ON.
- To register the preset, adjust the camera display to the state that you want to register, and then press and hold preset “1” or “2” for 2 seconds or longer. Depending on the application used, the button may not function.

Preparing the remote control unit
- Pull the cover off.

- Put in the lithium battery (CR2032) with their plus (+) and minus (-) sides oriented correctly.

- Close the cover.
TIPS
- When the battery becomes exhausted, replace it with new (commercially available) battery.
- The supplied battery may become exhausted quickly depending on how it is stored.
SAFETY PRECAUTIONS
Electricity is used to perform many useful functions, but it can also cause personal injuries and property damage if improperly handled. This product has been engineered and manufactured with the highest priority on safety. However, improper use can result in electric shock and/or fire. In order to prevent potential danger, please observe the following instructions when installing, operating and cleaning the product. To ensure your safety and prolong the service life of your product, please read the following precautions carefully before using the product.
- Read instructions — All operating instructions must be read and understood before the product is operated.
- Keep this manual in a safe place — These safety and operating instructions must be kept in a safe place for future reference.
- Observe warnings — All warnings on the product and in the instructions must be observed closely.
- Follow instructions — All operating instructions must be followed.
- Cleaning — Unplug the power cord from the power outlet before cleaning the product. Use a dry cloth to clean the product. Do not use liquid cleaners or aerosol cleaners. Do not use dirty cloths. Doing so may damage the product.
- Attachments — Do not use attachments not recommended by the manufacturer. Use of inadequate attachments can result in accidents.
- Water and moisture — Do not use the product near water. Do not install the product in a place where water may splash onto it. Be careful of equipment which drains water such as an air-conditioner.
- Ventilation — The vents and other openings in the cabinet are designed for ventilation. Do not cover or block these vents and openings since insufficient ventilation can cause overheating and/or shorten the life of the product. Do not place the product on a sofa, rug or other similar surface, since they can block ventilation openings. Do not place the product in an enclosed place such as a bookcase or rack, unless proper ventilation is provided or the manufacturer’s instructions are followed.
- Power cord protection — The power cords must be routed properly to prevent people from stepping on them or objects from resting on them.
- Overloading — Do not overload power outlets or extension cords. Overloading can cause fire or electric shock.
- Entering of objects and liquids — Never insert an object into the product through vents or openings. High voltage flows in the product, and inserting an object can cause electric shock and/or short internal parts. For the same reason, do not spill water or liquid on the product.
- Servicing — Do not attempt to service the product yourself. Removing covers can expose you to high voltage and other dangerous conditions. Request a qualified service person to perform servicing.
- Repair — If any of the following conditions occurs, unplug the power cord from the power outlet, and request a qualified service person to perform repairs.
- When the power cord or plug is damaged.
- When a liquid was spilled on the product or when objects have fallen into the product.
- When the product has been exposed to rain or water.
- When the product does not operate properly as described in the operating instructions. Do not touch the controls other than those described in the operating instructions. Improper adjustment of controls not described in the instructions can cause damage, which often requires extensive adjustment work by a qualified technician.
- When the product has been dropped or damaged.
- When the product displays an abnormal condition. Any noticeable abnormality in the product indicates that the product needs servicing.
- Replacement parts — In case the product needs replacement parts, make sure that the service person uses replacement parts specified by the manufacturer, or those with the same characteristics and performance as the original parts. Use of unauthorized parts can result in fire, electric shock and/or other danger.
- Safety checks — Upon completion of service or repair work, request the service technician to perform safety checks to ensure that the product is in proper operating condition.
- Wall mounting — When mounting the product on a wall, be sure to install the product according to the method recommended by the manufacturer.
- Heat sources — Keep the product away from heat sources such as radiators, heaters, stoves and other heat-generating products (including amplifiers).
- Coin batteries — Incorrect use of batteries may cause the batteries to burst or ignite. A leaky battery may corrode the equipment, dirty your hands or spoil your clothing. In order to avoid these problems, make sure to observe the precautions below:
- Use the specified batteries only.
- Install the batteries with due attention to the plus (+) and minus (-) sides of the batteries according to the instructions in the compartment.
- Do not short the terminals.
- Do not throw into water or fire. Do not disassemble.
- Replace an exhausted battery with a new one promptly.
- If you will not use the remote control for a long time, remove the batteries.
- If leaked battery fluid gets on your skin or clothing, rinse immediately and thoroughly. If it gets into your eye, bathe your eye well rather than rubbing and seek medical treatment immediately. Leaked battery fluid that gets into your eye or your clothing may cause a skin irritation or damage your eye.
- Do not swallow battery. Chemical burn hazard.
- If the battery is swallowed, it can cause severe internal burns in just 2 hours and can lead to death.
- If you think batteries might have been swallowed or placed inside any part of the body, seek immediate medical attention.
- Keep the battery away from children.
- If the battery compartment does not close securely, stop using the product and keep it away from children.
- Usage of this product must not be accompanied by fatal risks or dangers that, could lead directly to death, personal injury, severe physical damage or other loss, including nuclear reaction control in nuclear facility, medical life support system, and missile launch control in a weapon system.
- Do not stay in contact with the parts of the product that become hot for long periods of time. Doing so may result in
low-temperature burns. - Do not modify this product.
WARNING:
This is a Class A product. In a domestic environment this product may cause radio interference in which case the user may be required to take adequate measures.
WARNING:
- Keep the battery away from children. Chemical burn hazard.
- If the battery is swallowed, it can cause severe internal burns in just 2 hours and can lead to death.
- If you think batteries might have been swallowed or placed inside any part of the body, seek immediate medical attention.

SAFETY INSTRUCTION
- Do not use this product where there is a lot of dust, where humidity is high, or where this product may come into contact with oil or steam. Do not use in an environment where there are corrosive gases (sulfur dioxide, hydrogen sulfide, nitrogen dioxide, chlorine, ammonia, ozone, etc.). As this could lead to fire.
- Ensure that this product does not come into contact with water or other fluids. Ensure that no objects such as paper clips or pins enter this product as this could lead to fire or electric shock.
- not place this product on top of unstable objects or in unsafe places. Do not allow this product to receive strong shocks or to strongly vibrate. Causing this product to fall or topple over may damage it.
- Do not place this product upside down. Do not place anything on this product. As this could lead to overheating, fire, or malfunction.
- Do not use this product near heating equipment or in places where there is likelihood of high temperature, as this may lead to generation of excessive heat and outbreak of fire.
- Do not use this product in places where it may be exposed to direct sunlight. Risk of cabinet deformation and failure if this product is used in direct sunlight.
- The power outlet shall be installed near the equipment and shall be easily accessible.
- For a complete electrical disconnection, pull out the main plug.
- Provide enough space around this product to prevent heat from accumulating inside.
- Mounting this product on the wall requires special expertise and the work must be performed by an authorized SHARP dealer. You should never attempt to perform any of this work yourself. Our company will bear no responsibility
for accidents or injuries caused by improper mounting or mishandling. - Please understand that SHARP CORPORATION bears no responsibility for errors made during use by the customer or a third party, nor for any other malfunctions or damage to this product arising during use, except where indemnity liability is recognized under law.
- This product and its accessories may be upgraded without advance notice.
The Power Cord
- Use only the power cord supplied with this product.
- Observe the following. Incorrect handling may result in fire,
- Do not drop the power cord or subject it to impact.
- Never disassemble the power cord. It contains high voltage parts that are dangerous to touch.
- The power cord is for indoor use only. Do not use it outside.
- Do not use the supplied power cord with other devices.
- Do not damage the power cord nor place heavy objects on it, stretch it or over bend it. Also, do not add extension cords. Damage to the cord may result in fire or electric shock.
- Do not use the power cord with a power tap. Adding an extension cord may lead to fire as a result of overheating.
- Do not remove or insert the power plug with wet hands. Doing so could result in electric shock.
- Unplug the power cord if it is not used for a long time.
- Do not attempt to repair the power cord if it is broken or malfunctioning. Refer the servicing to the service representative.
Supplied Components
If any component should be missing, please contact your dealer.
- Remote control unit: 1
- Coin lithium battery (for remote control unit, CR2032): 1
- Camera screw*1 : 1
- A/B wall mount bracket: 1 each
- Wall mount bracket anchor: 4
- Power cord (AC adapter): 1
- USB cable: 1
- Lens cap: 1
- Wall mount bracket screw: 4
- Operation Manual (this manual): 1
For environmental protection!
Do not dispose of batteries in household waste. Follow the disposal instructions for your area. 1 The camera screw is for fixing this product and the B wall mount bracket (supplied). Do not use it for other bracket.
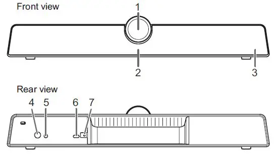
Part Names
- Camera
- The upper and lower angle can be adjusted.
- Camera LED
- White lit: camera on
- Off: camera off
- Power / Mic LED
- White lit: power on, mic on Red lit: power on, mic off Off: power off
- Mic mute button
- The mic switches between ON/OFF each time the button is pressed.
- Audio input/output terminal
- Used to connect to an external audio device.
- USB2.0 port (Type-C shape)
- Use the supplied USB cable to connect to the USB port of the monitor or computer.
- Can be used as an external camera, mic, or speaker of the monitor (APPLICATION mode) or computer.
- For details on the connection destination when a connection is established to the USB port of the monitor, refer to the manual of the monitor.
- AC input terminal
- Connected to a power outlet via the supplied power cord.

- Connected to a power outlet via the supplied power cord.
Caution
Power is supplied at all times as long as the power cord is connected. If this product is not going to be used for a long time, remove the power cord from the power outlet.
Supplier’s Declaration of Conformity SHARP VIDEO-CONFERENCING SOUNDBAR, PN-ZCMS1
This device complies with Part 15 of the FCC Rules. Operation is subject to the following two conditions:
- This device may not cause harmful interference, and
- this device must accept any interference received, including interference that may cause undesired operation.
Responsible Party:
SHARP ELECTRONICS CORPORATION
100 Paragon Drive,
Montvale, NJ 07645
TEL: 1-800-BE-SHARP
www.sharpusa.com





























