SENECA II 72 X 48 Inch Drop In Acrylic Whirlpool
Instruction Manual
Model Number
4272SWA064
Drop-In Combo in White
SENECA II 72 X 48 Inch Drop In Acrylic Whirlpool
SENECA II
72” x 42” Drop-In
Acrylic Combo
Features
- Color-matched jet trim and air controls
- 10 self draining, adjustable hydrotherapy jets
- 28 high output lateral air injectors
- Constructed of high-gloss durable acrylic
- Pre-leveled base for easy installation
- 3-Speed control for the 13.5 Amp pump
- 12.0 Amp variable speed blower
- Inline Heater available
- Mood light & Music system available
- Silent Pump upgrade available
- Made in the USA
*All dimensions are +/- 1/2” and subject to change without notice*
Confirm specifications before installation

Standard (S) Pump Location and Alternate (A-1) Pump locations.
Technical Information
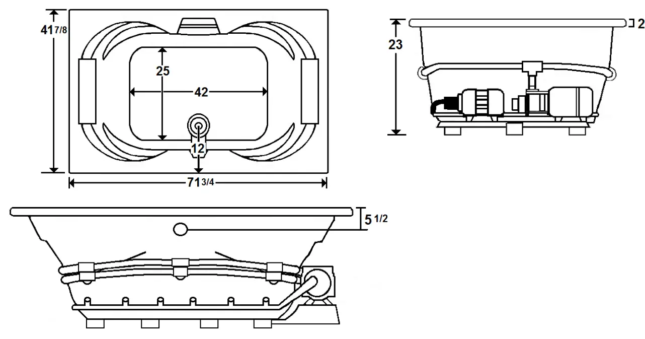
- Cut-Out Dimensions: 69 3/4” x 39 7/8”
- Weight: 220 lbs.
- Water Depth to Overflow: 16”
- Water Operating Level: 56 gal.
- Water Capacity: 101 gal.
- Sump Dimension: 42” x 25”
Electrical Requirements.
- Standard Pump: 13.5 Amps; Silent Pump: 11.5 Amps
- Standard Blower: 12 Amps
- (Optional) LM300 Heater: 12 Amps
- Dedicated GFCI’s required for each option
AVAILABLE OPTIONS & UPGRADES
For current pricing, pictures, and descriptions of the Laurel Mountain options listed below, go to www.lowes.com. Enter the model number of the option into the search bar at the top right of the page next to the magnifying glass. For additional information, visit www.laurelmountainbath.com or call Laurel Mountain customer service at 800-930-0050.
Therapeutic
HEATERS…………………………… (select one)
LM300……………………………. Inline Heater
LM320……………………………… Whisper Flow Silent Pump & Heater
BACK JETS – Two extra back jets on the same backrest LM500
OTHER THERAPIES…………………. (select one)
LM522………………………………………… Chromatherapy Mood Light
LM525 …………………………………………Wāv Music. Vibe. Lights
Accessories
| WHIRLPOOL TRIM KITS LM101 Chrome LM102 Brushed Nickel LM103 Bronze | CABLE OPERATED DRAINS LM200 Chrome LM201 Brushed Nickel LM202 Bronze LM210 White LM211 Biscuit | LM335 Ozonator (Sanitizing System) |
Design / Construction
LM542 …………………………..Plastic Flange
LM548 …………………………Flange (drain side)
LM549…………………….. Flange (non-drain side)
LM545…………………………….. A-1 Pump Location
LM557…………………………….. Skirt (drain side)
LM558……………………………….. Skirt (non-drain side)
INSTALLATION
Install this unit according to the Owner’s Manual. The Owner’s manual can be found at www.laurelmountainbath.com. Select “Resources” at the top of the homepage, then click on “Literature and Manuals”. Scroll down the page to the Owner’s Manual section then click on the “Whirlpool, Air Bath, Combo Bath” document.
Laurel Mountain
Customer Service: 1-800-930-0050



















