MEEC TOOLS 010975 Laser Pen Instruction

SAFETY INSTRUCTIONS
IMPORTANT: Always follow these instructions. Failure to do so can result in dangerous exposure to laser radiation.
SAFETY INSTRUCTIONS FOR BATTERIES
- If a battery is inserted in an electrical product when the power switch is switched on there is a risk of personal injury and/or material damage.
- Incorrect use of the product can result in battery leakage. Avoid contact with battery fluid.
- On contact with battery fluid, rinse immediately with plenty of fresh water. If you get battery fluid in your
- eyes, rinse your eyes with clean water for at least 10 minutes and then seek medical attention immediately.
- Battery fluid can cause skin irritation and/ or burns.
- Do not expose batteries to heat, direct sunlight, naked flames, etc.
- Never attempt to charge batteries that are not rechargeable – risk of explosion.
- Store batteries out of the reach of children and pets. Never short-circuit batteries, or attempt to open or dismantle batteries.
- Seek medical attention immediately if anyone has swallowed a battery.
- If necessary, clean the battery terminals and product terminals before inserting new batteries.
- Insert the batteries with the correct polarity.
- Remove discharged batteries from the product at once, otherwise there is a risk of battery leakage.
- Replace all the batteries at the same time.
- Only use batteries of the recommended type – do not mix different types of batteries, or new and old batteries.
- Check that the product is switched off before putting it away after use.
- Remove the batteries if the product is not going to be used for some time.
SYMBOLS

TECHNICAL DATA
- Power supply 2x 1.5 V AAA (LR03)
- Precision ± 0.5 mm/m
- Range, line laser Sm
- Range, point laser 20 m
- The wavelength, laser 635- 650 nm
DESCRIPTION
Compact laser pen that generates a laser point (20 m range) and laser line (5 m range). With horizontal and vertical spirit bubbles and magnets. Wall bracket included. Runs on two AAA batteries (sold separately).

- Laser beam outlet, line
- Horizontal spirit level
- Power switch
- Vertical spirit level
- Laser beam outlet, point
- Wall bracket ve Angle adjuster knob (wall bracket)
- Battery cover
UNPACKING AND INSPECTION
Carefully unpack the product and check that all the parts are included. Do not attempt to assemble or use the product if any parts are missing or damaged. Contact the retailer.
- Open the package and carefully unpack the product.
- Remove all packaging materials and any transport protection.
- Check that all the parts are included.
- Inspect the product and accessories for damage.
- Save the packaging materials for future use.
WARNING Do not allow children to play with the packaging material or the product. Do not allow children to play with plastic bags, foil or small parts. Risk of suffocation!
PREPARATIONS
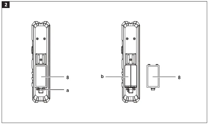
Inserting/replacing batteries

- Switch off the product with the power switch (3).
- Open the battery cover (8) by pressing the lock tab (a) to the magnet.
- Insert the batteries (b) with the correct polarity.
- Close the battery cover (8) and check that the lock tab snaps in place.
Wall bracket
The supplied wall bracket (6) can be mounted on a wall with a screw or nail, or mounted on a stand with 1/4 inch thread underneath. Follow the instructions below to fasten the laser unit on the wall bracket.
- Fasten the laser unit to the metal plate (5) on the wall bracket with the magnets underneath or on the back.
- Set the required projection height with the angle adjuster knob (7). Remove in the reverse order.
HOWTOUSE
Starting and switching off Push the power switch (3) to the laser outlet to be used (1 or 5). With the laser unit arranged as in diagram 1 the power switch should be pushed to the left to use the line laser, and to the right to use the point laser. Push the power switch back to the middle to switch off.
Spirit level
Set the laser unit in the horizontal and vertical plane with the spirit levels (2 and 4).
Line laser

Use the wall bracket to fasten the laser unit to a wall, with the back turned to the wall, and switch on the line laser (1) to project a line along the wall.
Point laser

Target points at a constant level can projected on the wall with the point laser (5).


















