Item/Model Number: E23513
Nodes 32″ LED Pendant CCT Select

Lamplog I Ampoule: LED Integrated 40W
Please consult a qualified electrician prior to install Made in China
LED LOW – VOLTAGE INSTRUCTIONS
Before Getting Started
Read the instructions carefully prior to assembling the product. When you open the package with a sharp tool like a box knife, be careful not to damage the components inside. Carefully remove all packaging materials and retain for future use.
Keep all hardware parts and packaging out of reach or small children.
Choose a clean, level, spacious assembly area. Avoid hard surfaces that may damage the product.
Ensure that you have all required contents for complete assembly.
Take care when lifting. Assemble the product in close proximity to where you intend to install it.
Do not over tighten the screws and bolts as this may damage the threads.
Do not let children play with this product.
Risk of suffocation!
Keep packaging materials away from children.
PARTS
Before getting,started,ensure the package contains the following components:





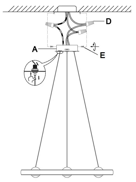
WIRING DIAGRAM
DIMMER COMPATIBILITY
ITEM/MODEL: E23513
MUST be installed by an experienced professional CRITICAL KNOWLEDGE of electronic lighting systems required
IMPROPER WIRING and/or INCORRECT DIMMER use can cause CATASTROPHIC DAMAGE!
THIS FIXTURE MUST BE INSTALLED with a COMPATIBLE DIMMER SWITCH
DO NOT CUT FACTORY-MADE CONNECTIONS.

SCHEMATIC
FOR GENERAL
REFERENCE ONLY
FOR OPTIMAL USE, VERIFIED DIMMERS INCLUDE
Lutron Diva DVCL-153P
Lutron Diva DVELV-300P
DEAKO-Smart Dimmer
DEAKO-Single Dimmer
Lutron Caseta PD-6WCL
Leviton 6672-L
Eaton DALO6P
NOTE:
Triac & ELV dimming is ONLY compatible at 120V
IMPORTANT!
If the control is not paired properly to LED fixtures, irreparable damage may occur.
If the dimmer you are using is not listed here, consult a lighting professional or view our Dimming Compatibility Chart online: www.et2online.com
© 2023 ET2 CONTEMPORARY LIGHTING


















