DAP BP-10 Beltpack Transmitter PSS-110


BP-10 Beltpack for PSS-110
Preface
Thank you for purchasing this DAP product.
The purpose of this user manual is to provide instructions for the correct and safe use of this product.
Keep the user manual for future reference as it is an integral part of the product. The user manual shall be stored at an easily accessible location.
This user manual contains information concerning:
- Safety instructions
- Installation and operation of the device
- Intended and non-intended use of the device
- Maintenance procedures
- Troubleshooting
- Transport, storage and disposal of the device
Non-observance of the instructions in this user manual may result in serious injuries and damage of property.
©2021 DAP. All rights reserved.
No part of this document may be copied, published or otherwise reproduced without the prior written consent of Highlite International.
Design and product specifications are subject to change without prior notice.
For the latest version of this document or other language versions, please visit our website
www.highlite.com or contact us at [email protected].
Highlite International and its authorized service providers are not liable for any injury, damage, direct or indirect loss, consequential or economic loss or any other loss arising from the use of, or inability to use or reliance on the information contained in this document.
Introduction
Before Using the Product
Important
Read and follow the instructions in this user manual before installing, operating or servicing this product.
The manufacturer will not accept liability for any resulting damages caused by the non-observance of this manual.
After unpacking, check the contents of the box. If any parts are missing or damaged, contact your Highlite International dealer.
Your shipment includes:
- DAP BP-10 Beltpack for PSS-110
- Headset + microphone (cable length: 1,3 m)
- User manual

Intended Use
This device is intended for use as a bodypack wireless transmitter. It is suitable for indoor and outdoor use (only if the ambient conditions do not exceed the conditions described in 2.1. Warnings and Safety Instructions on page 5).
Any other use, not mentioned under intended use, is regarded as non-intended and incorrect use.
Product Lifespan
This device is not designed for permanent operation. Turn the device off when the device is not in operation. This will reduce the wear and will improve the device’s lifespan.
Text Conventions
Throughout the user manual the following text conventions are used:
- References: References to chapters and parts of the device are in bold lettering, for example: “Refer to 2. Safety”, “press the power switch (03)”
- 0–255: Defines a range of values
- Notes: (in bold lettering) is followed by useful information or tips
Symbols and Signal Words
Safety notes and warnings are indicated throughout the user manual by safety signs.
Always follow the instructions provided in this user manual.
- DANGER
Indicates an imminently hazardous situation which, if not avoided, will result in death or serious injury. - WARNING
Indicates an imminently hazardous situation which, if not avoided, could result in death or serious injury. - CAUTION
Indicates a potentially hazardous situation, which, if not avoided, may result in minor or moderate injury. - Attention
Indicates important information for the correct operation and use of the product. - Important
Read and observe the instructions in this document.
Provides important information about the disposal of this product.
Symbols on the Information Label
This product is provided with an information label. The information label is located on the bottom plate of the device.
The information label contains the following symbols:
This device shall not be treated as household waste.
Safety
Important
Read and follow the instructions in this user manual before installing, operating or servicing this product.
The manufacturer will not accept liability for any resulting damages caused by the non-observance of this manual.
Warnings and Safety Instructions
DANGER
Danger for children
For adult use only. The device must be installed beyond the reach of children.
- Do not leave various parts of the packaging (plastic bags, polystyrene foam, nails, etc.) within children’s reach. Packaging material is a potential source of danger for children.
Attention General safety
- Do not shake the device. Avoid brute force when installing or operating the device.
- If the device is exposed to extreme temperature variations (e.g. after transportation), do not switch it on immediately. Let the device reach room temperature before switching it on, otherwise it may be damaged by the formed condensation.
Attention
This device shall be used only for the purposes it is designed for.
This device is intended for use as a bodypack wireless transmitter. It is suitable for indoor and outdoor use. Any incorrect use may lead to hazardous situations and result in injuries and material damage.
This device does not contain user-serviceable parts. Unauthorized modifications to the device will render the warranty void. Such modifications may result in injuries and material damage.
Attention
Do not expose the device to conditions that exceed the rated IP class conditions.
This device is IP20 rated. IP (Ingress Protection) 20 class provides protection against solid objects greater than 12 mm, such as fingers, and no protection against harmful ingress of water.
Requirements for the User
This product may be used by ordinary persons. Maintenance and installation may be carried by ordinary persons. Service shall be carried out only by instructed or skilled persons. Contact your Highlite International dealer for more information.
Instructed persons have been instructed and trained by a skilled person, or are supervised by a skilled person, for specific tasks and work activities associated with the service of this product, so that they can identify risks and take precautions to avoid them.
Skilled persons have training or experience, which enables them to recognize risks and to avoid hazards associated with the service of this product.
Ordinary persons are all persons other than instructed persons and skilled persons. Ordinary persons include not only users of the product but also any other persons that may have access to the device or who may be in the vicinity of the device.
Description of the Device
The DAP BP-10 is a bodypack wireless transmitter that can be used with the PSS-110 speaker (D2611), condenser microphones or musical instruments. The set consists of a beltpack and a headset with a microphone.
Beltpack

- Antenna
- Battery compartment cover
- Belt clip
- Mini screwdriver
- Battery housing (2 x AA)
- Gain control
- Infra-red (IR) sensor
- 4-pin connector IN
- ON/OFF/Mute button
- Power/mute LED indicator (green/red)
Headset

- Microphone
- 4-pin connector OUT
Product Specifications
| Model: | DAP BP-10 Beltpack for PSS-110 |
| Features: | |
| Frequency response: | 615–638 MHz |
| Beltpack: | |
| Connections: | 4-pin headset connector IN |
| Carrier frequency band: | UHF |
| Oscillation mode: | FM(F3E) |
| Frequency stability: | ±0,005 % |
| RF radiation: | 10 mW |
| Spurious emission: | 45 dBm |
| THD: | <150 mA |
| Frequency response: | 50 Hz – 15 kHz (±3 dB) |
| Current drain: | <150 mA |
| Tone frequency: | 32768 kHz |
| Dynamic: | >100 dB |
| Microphone/instrument input: | 10 dBu |
| Power supply: | 2 x AA LR6 batteries (not supplied) |
| Dimensions: | 61 x 24 x 175 mm (L x W x H) |
| Weight: | 0,13 kg |
| Headset: | |
| Microphone: | Condenser |
| Construction: | |
| Housing: | Plastic |
| Color: | Black |
| IP rating: | IP20 |
| Thermal: | |
| Max. ambient temperature ta: | 40 °C |
Optional Accessories
You can additionally purchase the following accessories:
Product code: D1428 (Aerobic Arm bag)
Product code: D1429 (Aerobic Belt bag)
Product code: 98040 (Duracell industrial AA battery) Product code: D2611 (PSS-110 MKIII)
Dimensions

Installation
Ambient Conditions
- The device can be used indoors and outdoors (only if the ambient conditions do not exceed the conditions described in 2.1. Warnings and Safety Instructions on page 5).
- The maximum ambient temperature ta = 40 °C must never be exceeded.
- The relative humidity must not exceed 50 % with an ambient temperature of 40 °C.
Usage
Use the belt clip (03) on the device to fasten it to your clothes.
Alternatively, wear the device around your waist or arm. To do so, you need to purchase the DAP Aerobic Belt Bag (D1429) or the DAP Aerobic Arm Bag (D1428).
Installation of the Batteries
The device is delivered without batteries. It accepts 2 x AA LR6 (alkaline) batteries. Rechargeable Ni-Cad batteries can be used but they do not supply adequate current for more than 4 hours.
To install the batteries:
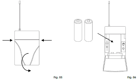
- Press on the sides of the device to open the battery compartment cover (02) (Fig. 05).
- Insert 2 x AA LR6 batteries into the battery housing (05) (Fig. 06).
- Close the battery compartment cover (02).

Note:
Make sure that you install the batteries with correct polarity orientation.
Setup and Operation
Safety Instructions for Operation
Attention
This device must be used only for the purposes it is designed for.
This device is intended for use as a bodypack wireless transmitter. It is suitable for indoor and outdoor use (only if the ambient conditions do not exceed the conditions described in 2.1. Warnings and Safety Instructions on page 5). It is not suitable for households.
Any other use, not mentioned under intended use, is regarded as non-intended and incorrect use.
Switching On/Off/Mute
The device has a Power ON/OFF/Mute button.
To switch on the device, press and hold down the ON/OFF/Mute button (09) for 3 seconds.
The power/mute LED indicator (10) lights green.
To mute the device, when the device is on, press the ON/OFF/Mute button (09) once. The power/mute LED indicator (10) lights red.
To switch off the device, press and hold down the ON/OFF/Mute button (09) for 6 seconds.
The power/mute LED indicator (10) turns off.
Connecting Headset/Microphone/Instrument
The device has a 4-pin input connector, to connect a headset, microphone or an instrument to the transmitter.
Plug the device of your choice into the 4-pin connector IN (08).
Connecting to the Receiver
Before use, pair the device and the PSS-110. You need to do this for the system to work properly. To pair the device with the PSS-110:
- Switch the PSS-110 on.
- On the PSS-110, choose the desired channel/frequency.
- Refer to the user manual of the PSS-110 for more information.
- Press on the sides of the device to open the battery compartment cover (02) (Fig. 07).

- On the PSS-110, press and hold down the UP button for 3 seconds. The channel’s number will start blinking on the PSS-110’s display.
- Put the device’s infra-red (IR) sensor (07) close to the PSS-110’s display to pair both devices. When the devices are paired, the PSS-110’s display will show the RF range.
- Close the battery compartment cover (02).
Adjusting the Input Gain
To adjust the input gain:
- Press on the sides of the device to open the battery compartment cover (02) (Fig. 09).
- Use the supplied mini screwdriver (04) to adjust the input gain (Fig. 10).
- Close the battery compartment cover (02).
Setup Example


Start-up
To operate the device:
- Connect the headset, microphone or an instrument to the 4-pin connector IN (08).
- Switch the PSS-110 on. Refer to the user manual of the PSS-110 for more information.
- Switch the device on. See 5.1. Switching On/Off/Mute on page 11 for more information. Pair the devices. See 5.4. Connecting to the Receiver on page 12 for more information.
- Adjust squelch and volume on the PSS-110. Refer to the user manual of the PSS-110 for more information.
Adjust gain volume. See 5.5. Adjusting the Input Gain on page 13 for more information. - Speak into the headset, microphone or play the instrument.
Troubleshooting
This troubleshooting guide contains solutions to problems which can be carried out by an ordinary person. The device does not contain user-serviceable parts.
Unauthorized modifications to the device will render the warranty void. Such modifications may result in injuries and material damage.
Refer servicing to instructed or skilled persons. Contact your Highlite International dealer in case the solution is not described in the table.
| Problem | Probable cause(s) | Solution |
| The device does not function at all | No power to the device | ● Check if the device is switched on ● Make sure the batteries are inserted properly ● Replace the batteries with new ones |
| No sound | Devices are not paired | ● Check if the device and the PSS-110 are paired |
| Bad connections | ● Check if the output connections between the PSS-110 and external equipment are correct ● Headset/microphone/instrument is not connected to the device | |
| Bursts of noise or other audible signals present | Squelch on the PSS-110 is not adjusted | ● Adjust the squelch. Identify potential sources of interference (other RF- sources) and turn them off |
| Momentary loss of sound as the device is moved around performing area | Dead spots are present | ● Reposition the PSS-110 and perform a walk-through test again. If audible drop-outs persist, mark the dead spots and avoid them during performance |
Maintenance
Preventive Maintenance
Attention
Before use, examine the device visually for any defects.
Basic Cleaning Instructions
To clean the device, follow the steps below:
- Switch the device off.
- Clean the device with a soft, lint-free cloth.
Attention
- Do not immerse the device in liquid.
- Do not use alcohol or solvents.
Corrective Maintenance
The device does not contain user-serviceable parts. Do not open the device and do not modify the device.
Refer repairs and servicing to instructed or skilled persons. Contact your Highlite International dealer for more information.
Deinstallation, Transportation and Storage
- Use the original packaging to transport the device, if possible.
- Clean the device before storing. Follow the cleaning instructions in chapter 7.1.1. Basic Cleaning Instructions on page 16.
- Store the device in the original packaging, if possible.
Disposal
Correct disposal of this product
Waste Electrical and Electronic Equipment
This symbol on the product, its packaging or documents indicates that the product shall not be treated as household waste. Dispose of this product by handing it to the respective collection point for recycling of electrical and electronic equipment. This is to avoid environmental damage or personal injury due to uncontrolled waste disposal. For more detailed information about recycling of this product contact the local authorities or the authorized dealer.
Approval
Hereby, Highlite International declares that the device, is in compliance with Directive 2014/53/EU (RED – Radio Equipment Directive).
The full text of the EU declaration of conformity is available at the respective product page on the website of Highlite International (www.highlite.com).
The DAP BP-10 Beltpack for PSS-110 is a Class 2 wireless audio device (Commission Decision 2000/299/EC).
Frequency: 615–638 MHz
![]() | BE | IE | HR | CY |
| LV | AT | PL | RO | |
| UK | NO |
Exclusion of liability
The frequency ranges available for radio transmitters differ per country and region. Consult the respective national and/or regional authority as licensing or specific restrictions may apply for the use of the device. We do not take any responsibility in case the device cannot operate or cannot be used in your country/region or if it requires additional licensing. Before using the device, check the allowed frequencies in your country or region.





















