FUFU GAGA LJY-KF200067-02 3-Drawer Dresser White 3-Drawer Accent Chest

IMPORTANT INFORMATION!
please read the entire manual before starting to assemble and/or using this product.follow the manual thoroughly and keep it for further reference.

ANTI-TOPPLE WARNING
Overturned furniture can cause serious or fatal crush injuries. To prevent tipping over, be sure to use the wall attachment, if not included with this product. Please purchase the wall attachment that fit your wall. If unsure, seek professional advice. Please read and follow each step of the instructions carefully.
IMPORTANT
It is important that any product which is assembled using any kind of screw is re-tightened 2 weeks after assembly,and once every 3 months – in order to assure stability through-out the lifespan of the product. For regular maintenance and cleaning of the product, for the frame, please use a rag dipped in neutral detergent to fully wipe it, and then dry it with a clean rag.For glass materials, wipe with a rag dampened with water glass cleaner, and then dry with a dry rag. Do not use an electric screwdriver, and do not use too much force when installing, because the board is easy to break.
Please prepare the following tools

OVERVIEW

INSTALLATION
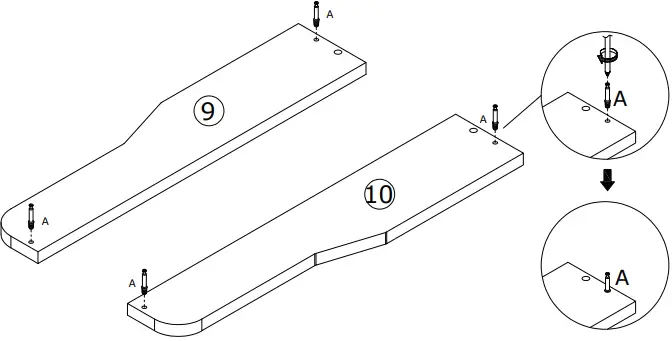
- Insert quickfit screw(A) into corresponding holes in No.9 and No.10 plate with a screwdriver as shown.

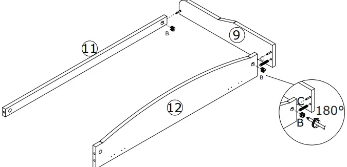
- Attach No.9 to No.11 and No.12 plate with wooden dowel(C), turn cam lock(B) clockwise to tighten as shown.

- Attach No.10 to No.11 and No.12 plate with wooden dowel(C), turn cam lock(B) clockwise to tighten as shown.

- Please pay attention to the holes where the accessories are inserted.
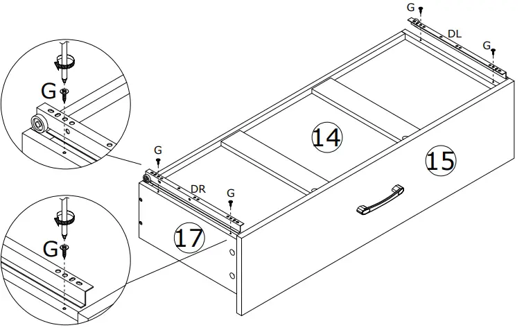
Fix slide rail(CL) and (CR) to No.1 and No.2 plate respectively with screw(G) as shown. G
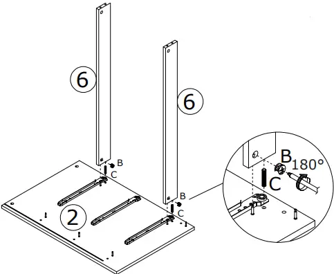
- Insert quickfit screw(A) into corresponding holes in No.1 and No.2 plate with a screwdriver as shown.

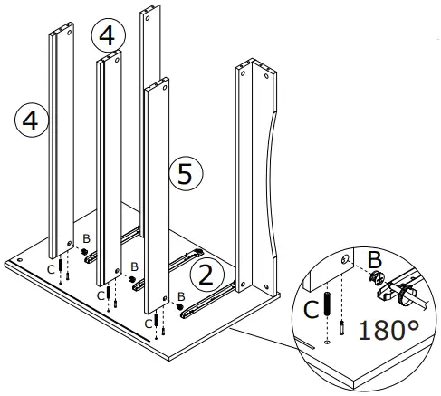
- Attach No.6(x2) plates to No.2 with wooden dowel(C) and turn cam lock(B) clockwise to tighten as shown.

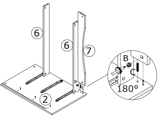
- Attach No.7 plate to No.2 with wooden dowel(C) and turn cam lock(B) clockwise to tighten as shown.

- Attach No.4(x2) and No.5 plates to No.2 with wooden dowel(C) and turn cam lock(B) clockwise to tighten as shown.

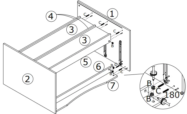
- Slide No.3(x2) plate into available slots as shown.

- Attach No.1 to No.4(x2), No.5, No.6 and No.7 plates with wooden dowel(C) and turn cam lock(B) clockwise to tighten as shown.

- Slide No.3 plate into available slots as shown.

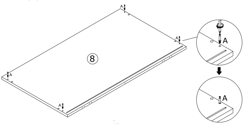
- Insert quickfit screw(A) into corresponding holes in No.8 plate with a screwdriver as shown.

- Cover No.8 plate to the top of the unit with wooden dowel(C) and turn cam lock(B) clockwise to tighten as shown.

- Connect No.16 and No.17 with No.13 plate using screw(M) as shown.

- Slide No.14 plate into available slots as shown.

- Connect No.18(x2) with No.13 plate using screw(M) as shown.

- Insert quickfit screw(A) into No.15 plate with a screwdriver as shown.

- Attach No.15 to No.16,18,17 plates with wooden dowel(C), turn cam lock(B) clockwise to tighten as shown.

- Fix handle(H) to No.15 plate with screw(J) as shown.

- Fix runner(DL) and (DR) to No.16 and No.17 plate respectively with screw(G) as shown.

- Align rails, slide all drawers.

- Fix No.8 and No.12 plate together using iron sheet(E) and screw(D) as shown.

- Reinforce the back plates with part(K) and screw(L) as shown. Install anti-tipping device(N) as shown.

WARRANTY
WARRANTY CLAIMS
- There is a 30-day warranty for broken furniture or any other problems that do not work properly. The warranty will start from the date of purchase which must be verified by proof of purchase.
- Before making a claim, we may be able to answer your query, simply call us. Please leave your purchase order number, along with some details of the problem, if you want a replacement part. We will arrange within 48 hours. If there is out of stock, we will reply with a shipping date.
- The product must be used in accordance with the instructions provided. For health reasons.
- For other reasons, if the furniture needs to be returned, it must be cleaned and dried and operated within 30 days of receipt.
Type of Warranty Claim
- Failure to follow the furniture instructions will invalidate the warranty. Attention please.
- Does not include damage during installation, but includes damage during transportation.
Scope of responsibility
- Shall not bear any responsibility for misuse or user damage and/ or loss of parts during the installation of furniture.
- After using, the damage and scratches of the furniture are not covered by the warranty.
The Warranty Relates to All Bought in The Us and Covers The Following Areas
- Sheet parts: 1 month from the date of purchase.
- Electrical parts: 1 month from the date of purchase.
RETURNS
CHANGED YOUR MIND AND NEED TO RETURN YOU ITEM?
PLEASE FOLLOW THE BELOW INSTRUCTIONS:
If you have purchased and have simply changed your mind, follow the retailer’s instructions for returns.
DEFECTIVE ITEMS
If your item is defective in any way, i.e. it doesn’t work but you can’t identify why, in the first instance, please call us.
DAMAGED ITEMS
If you receive an order with obvious shipping damage from the retailer, then we suggest the delivery is refused. If the delivery has been accepted and then shipping damage is found, please follow the specific instructions advised by the retailer.
In all circumstances please save all packaging material and paperwork for the order. Please be aware that if you dispose of packaging material or attempt to return the merchandise without contacting the fulfiller, you jeopardise your chances of making a claim, and you may not receive a credit for the return.











































