FUFU GAGA LJY-KF200203-01 6 Drawer Sideboard

IMPORTANT INFORMATION!
please read the entire manual before starting to assemble and/or using this product. follow the manual thoroughly and keep it for further reference.

AVOID SCRATCHES!
In order to avoid scratching this furniture should be assembled on a soft layer-could be a rug.

IMPROVE EFFICIENCY !
Try to find a partner to install with you, which can speed up the installation efficiency and shorten the time.


ANTI-TOPPLE WARNING !
Overturned furniture can cause serious or fatal crush injuries. To prevent tipping over, be sure to use the wall attachment, if not included with this product. Please purchase the wall attachment that fit your wall. If unsure, seek professional advice. Please read and follow each step of the instructions carefully.
IMPORTANT !
It is important that any product which is assembled using any kind of screw is re-tightened
2 weeks after assembly, and once every 3 months – in order to assure stability through-out the lifespan of the product.
For regular maintenance and cleaning of the product, for the frame, please use a rag dipped in neutral detergent to fully wipe it, and then dry it with a clean rag.For glass materials, wipe with a rag dampened with water glass cleaner, and then dry with a dry rag.
Do not use an electric screwdriver, and do not use too much force when installing, because the board is easy to break.

When installing, please carefully confirm whether each screw corresponds to the manual, accessories with similar shapes can be distinguished by size




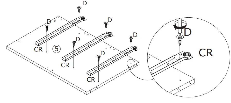
Fix silde rail(CR) to board 5 with screw(D) as shown.
Please don’t use an electric screwdriver or use force to rotate, may cause crack.

Insert quickfit screw(A) into CR corresponding holes in board 5 as shown.



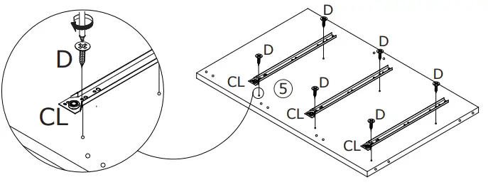
Fix silde rail(CL) to another side of board 5 with screw(D) as shown.
Please don’t use an electric screwdriver or use force to rotate, may cause crack.

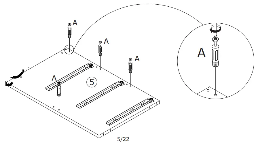
Insert quickfit screw(A) into corresponding holes in another side of board 5 as shown.


Insert quickfit screw(A) into board 2 and 3 as shown.
Please pay attention to the holes where the accessories are inserted.


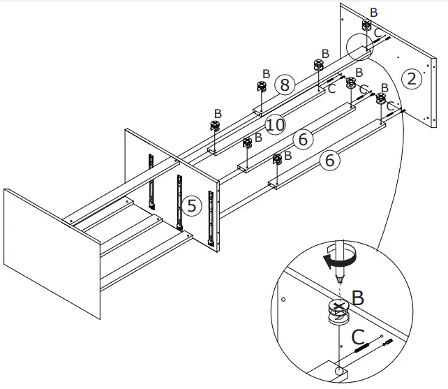
Attach board 3 to plank 6,8,10 with short wooden dowel(C) and turn cam locks(B) clockwise to tighten as shown.
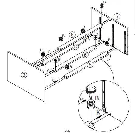
Attach board 5 to plank 6,8,10 with long wooden dowel(K) and turn cam locks(B) clockwise to tighten as shown.
Please note long wooden dowel(K) needs to pass through board 5.


Connect plank 6,8,10 with another side of board 5 and turn cam locks(B) clockwise to tighten as shown.
Attach board 2 to plank 6,8,10 with short wooden dowel(C) and turn cam locks(B) clockwise to tighten as shown.


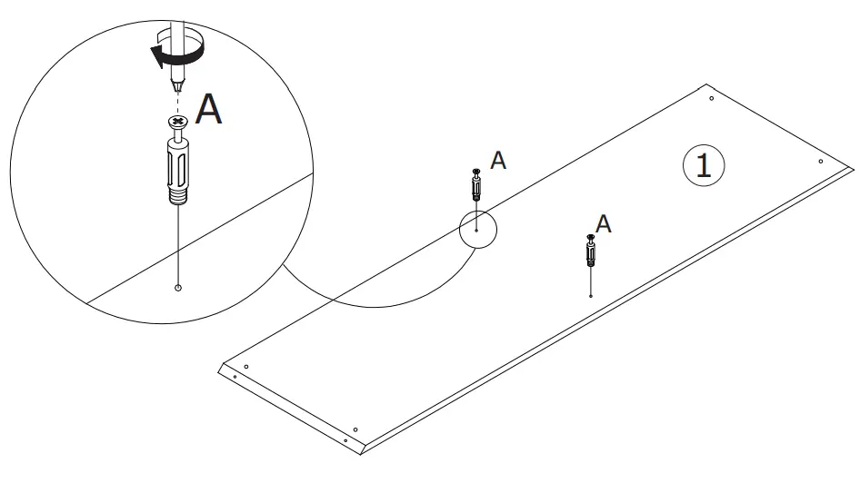
Insert quickfit screw(A) into board 1 with screwdriver as shown.


Insert screw(F) into board 2 and 3 at first, then turn 90°.
Cover board 1 to the component with screw(F), and turn cam locks(B) clockwise to tighten as shown.


Insert screw(F) into board 2 and 3 at first, then turn 90°.
Attach board 4 to the component with screw(F) and wooden dowel(C), turn cam locks(B) clockwise to tighten as shown.


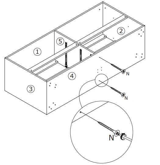
Fix board 4 to board 5 with screw(N) as shown.


Fix back board 9 to board 1,2,3,4,5 with screw(G) as shown.


Fix leg 7 to bottom of board 4 with screw(H). Fix leg support 11 to board 4 with screw(J) as shown.


Fix slide rail(CL) and (CR) to board 2 and 3 respectively with screw(D) as shown.


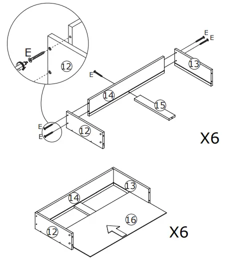
Attach board 12 ,13,15 to board 14 with screw(E).
Slide board 16 into available slots as shown.


Insert quickfit screw(A) into board 17 with screwdriver as shown.

Attach board 17 to the component and turn cam locks(B) clockwise to tighten as shown.


Insert quickfit screw(A) into board 18 with screwdriver as shown.

Attach board 18 to the component and turn cam locks(B) clockwise to tighten as shown.


Fix runner(DR) and (DL) to board 13 and 12 respectively with screw(D) as shown.

Align rails, put all drawers.


Install anti-dumping device as shown.

WARRANTY
WARRANTY CLAIMS
- There is a 30-day warranty for broken furniture or any other problems that do not work properly. The warranty will start from the date of purchase which must be verified by proof of purchase.
- Before making a claim, we may be able to answer your query, simply call us. Please leave your purchase order number, along with some details of the problem, if you want a replacement part. We will arrange within 48 hours. If there is out of stock, we will reply with a shipping date.
- The product must be used in accordance with the instructions provided. For health reasons.
- For other reasons, if the furniture needs to be returned, it must be cleaned and dried and operated within 30 days of receipt.
Type of Warranty Claim
- Failure to follow the furniture instructions will invalidate the warranty. Attention please.
- Does not include damage during installation, but includes damage during transportation.
Scope of responsibility
- Shall not bear any responsibility for misuse or user damage and / or loss of parts during the installation of furniture.
- After using, the damage and scratches of the furniture are not covered by the warranty.
The Warranty Relates to All Bought in The Us and Covers The Following Areas
- Sheet parts: 1 month from the date of purchase.
- Electrical parts: 1 month from the date of purchase.
RETURNS
CHANGED YOUR MIND AND NEED TO RETURN YOU ITEM?
PLEASE FOLLOW THE BELOW INSTRUCTIONS:
- If you have purchased and have simply changed your mind, follow the retailer’s instructions for returns.
DEFECTIVE ITEMS
- If your item is defective in any way, i.e. it doesn’t work but you can’t identify why, in the first instance, please call us.
DAMAGED ITEMS
- If you receive an order with obvious shipping damage from the retailer, then we suggest the delivery is refused. If the delivery has been accepted and then shipping damage is found, please follow the specific instructions advised by the retailer.
In all circumstances please save all packaging material and paperwork for the order. Please be aware that if you dispose of packaging material or attempt to return the merchandise without contacting the fulfiller, you jeopardies your chances of making a claim, and you may not receive a credit for the return.




















