MAD CATZ PILOT 5 RGB Gaming Headset

Product Overview

- Mad-Pro protein leather with memory foam ear cushions
- Detachable microphone

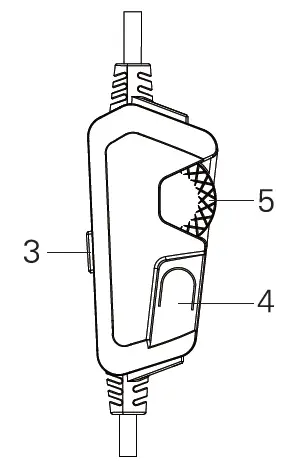
- The microphone is on/off
- Lighting on/off
- Volume Control Wheel
Headset Setup
- Connect the USB-A audio cable to the available USB-A port to the PC or a gaming laptop, the message: “Hardware Found” should appear.
Gaming Desktop PC/Gaming Laptop
- Download the PILOT 5 RGB Gaming Headset software from www.madcatz.com. Run the installation program and follow the instructions.
System Requirements
- PC with an available USB-A port
- OS: Windows 8.1 or newer
- Internet connection
- Minimum of 300 MB of available space
FCC STATEMENTS
NOTE:
This equipment has been tested and found to comply with the limits for a Class B digital device, pursuant to part 15 of the FCC Rules. These limits are designed to provide reasonable protection against harmful interference in a residential installation. This equipment generates uses and can radiate radio frequency energy and, if not installed and used in accordance with the instructions, may cause harmful interference to radio communications. However, there is no guarantee that interference will not occur in a particular installation. If this equipment does cause harmful interference to radio or television reception, which can be determined by turning the equipment off and on, the user is encouraged to try to correct the interference by one or more of the following measures:
- Reorient or relocate the receiving antenna.
- Increase the separation between the equipment and the receiver.
- Connect the equipment to an outlet on a circuit different from that to which the receiver is connected.
- Consult the dealer or an experienced radio/TV technician for help
Changes or modifications not expressly approved by the party responsible for compliance could void the user’s authority to operate the equipment.
This device complies with Part 15 of the FCC Rules. Operation is subject to the following two conditions:
- This device may not cause harmful interference, and
- This device must accept any interference received, including interference that may cause undesired operation.
CANADA (IC) STATEMENTS
This device contains license-exempt transmitter(s)/receiver(s) that comply with Innovation, Science, and Economic Development Canada’s license-exempt RSS(s). Operation is subject to the following two conditions:
- This device may not cause interference.
- This device must accept any interference, including interference that may cause undesired operation of the device.
WARNING
This product can expose you to the chemical Lead which is known to the state of California to cause cancer. For more information, go to www.P65Warnings.ca.gov.




















