FEIT Electric LAN13/2WY/BLK 13 Inch LED Outdoor Lantern

Safety Information
For your safety, always remember to:
WARNING: RISK OF SHOCK. House electric current can cause painful shock or serious injury unless handled properly. |
CAUTION: Turn off the main power at the circuit breaker before installing the fixture, in order to prevent possible shock |
| NOTICE: All electrical connections must be in accordance with local and national standards, National Electric Code (N.E.C.) in the US and Canadian Electrical Code (C.E.C.) in Canada. If you are unfamiliar with proper electrical wiring connections obtain the services of a qualified electrician. Remove the fixture and the mounting package from the box and make sure that no parts are missing by referencing the illustrations on the installation instructions. |
- Turn off the power supply at the fuse or circuit breaker box before you install the fixture.
- Ground the fixture to avoid potential electric shock and to ensure reliable starting.
- Double-check all connections to be sure they are tight and correct.
- Wear rubber soled shoes and work on a sturdy wooden ladder.
- Account for small parts and destroy packing material, as these may be hazardous to children.
This fixture is designed for use in a circuit protected by a fuse or circuit breaker. It is also designed to be installed in accordance with local electrical codes. If you are unsure about your wiring, check your local electrical code or consult a qualified electrician.
FCC STATEMENT
This device complies with part 15 of the FCC Rules. Operation is subject to the following two conditions: (1) This device may not cause harmful interference, and (2) this device must accept any interference received, including interference that may cause undesired operation. Note: This equipment has been tested and found to comply with the limits for a Class B digital device, pursuant to Part 15 of the FCC Rules. These limits are designed to provide reasonable protection against harmful interference in a residential installation. This equipment generates, uses and can radiate radio frequency energy and, if not installed and used in accordance with the instructions, may cause harmful interference to radio communications. However, there is no guarantee that interference will not occur in a particular installation. If this equipment does cause harmful interference to radio or television reception, which can be determined by turning the equipment off and on, the user is encouraged to try to correct the interference by one or more of the following measures: Reorient or relocate the receiving antenna. Increase the separation between the equipment and receiver. Connect the equipment into an outlet on a circuit different from that to which the receiver is connected. Consult the dealer or an experienced radio/TV technician for help. Changes or modifications to this unit not expressly approved by the part responsible for compliance could void the user’s authority to operate the equipment.
Supplier’s Declaration of Conformity:
47 CFR § 2.1077 Compliance Information
Responsible Party:
Feit Electric Company 4901 Gregg Road, Pico Rivera, CA 90660, USA 562-463-2852
Unique Identifier:
LAN13/2WY/BLK
Limited Warranty
This product is warrantied to be free from defects in workmanship and materials for up to 5 years from date of purchase. If the product fails within the warranty period, please contact Feit Electric at [email protected], visit feit.com/contact-us or call 1-866-326-BULB (2852) for instructions on replacement or refund. REPLACEMENT OR REFUND IS YOUR SOLE REMEDY. EXCEPT TO THE EXTENT PROHIBITED BY APPLICABLE LAW, ANY IMPLIED WARRANTIES ARE LIMITED IN DURATION TO THE DURATION OF THIS WARRANTY. LIABILITY FOR INCIDENTAL OR CONSEQUENTIAL DAMAGES IS HEREBY EXPRESSLY EXCLUDED. Some states and provinces do not allow the exclusion of incidental or consequential damages, so the above limitation or exclusion may not apply to you. This warranty gives you specific legal rights, and you may also have other rights which vary from state to state or province to province.
Pre-Installation
TOOLS REQUIRED
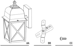
HARDWARE INCLUDED
| NOTE: Hardware not shown to actual size. |
![]() | ![]() |
Part | Description | Quantity |
AA | Fixture | 1 |
BB | Cross Bar | 1 |
CC | Junction Box Screws | 2 |
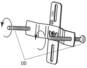
DD | Fixture Mounting Screws | 2 |
EE | Rubber Washers | 2 |
FF | Decorative Nuts | 2 |
GG | Wire Connectors | 3 |
Installation
- Turning off the power
Turn the power OFF at the switch and fuse-box or the circuit breaker. - Removing the Pre-Installed Crossbar
Unscrew the decorative nuts (FF), remove the washers (EE) and keep them for step 9. Remove the cross bar (BB)
- Identifying the wires
Identify the wires at the junction box. (Black-line voltage, White-neutral, Green-ground). Make them accessible for easy connection.
- Screw Fixture Mounting Screws into the Cross Bar
Be sure the Fixture Mounting Screws (DD) are facing outward (away from Junction Box).
- Attach Cross Bar to the Junction Box
Attach the Cross Bar (BB) to the Junction Box using the provided Junction Box Screws (CC).
- Check the Mounting Screw Length
Lift the fixture and slide over the Fixture mounting screws (DD). The screws should protrude about 1/4 inch from the fixture canopy. Adjust the screw length on the crossbar as necessary.
- Connecting the wires
• Connect the house wires to the wires in the back of the Fixture using the Wire Connectors (GG):
• Connect the white fixture wire to your neutral supply wire and connect the black fixture wire to your live wire.
• Connect the green wire or bare copper ground (house) wire to the ground screw on the crossbar (BB). connect the fixture ground wire directly to the same ground screw on the cross bar (BB).
- Installing the fixture
Gently align Fixture (AA) by aligning the Fixture Mounting Screws (DD) thru the 2 holes in the back plate.
- Securing the fixture
Install the Rubber Washers (EE) and secure the AA Fixture (AA) to the Cross Bar Screws (DD) by tightening Decorative Nuts
NOTE: Use caulking/silicone sealant (not included) around the mounting plate and the wall surface to seal this will prevent water penetration. - Turning the power on
Turn the power on at the circuit breaker or replace fuse.
Mode Changing Instructions

Choose from Amber Flame (1800k) or Solid White (2700k) using the switch located on the bottom of the fixture backplate.
• When the slide switch is set to FL (Flame), the color temperature fixes at 1800K.
• When the slide switch is set to SW (Solid Soft White), the color temperature fixes at 2700K.
Contact Feit Electric at [email protected] or call 1-800-543-3348
7 a.m. – 5 p.m., PCT, Monday – Friday for instructions on replacement.
Do not return the product to the store.
WWW.FEITELECTRIC.COM
WARNING: RISK OF SHOCK. House electric current can cause painful shock or serious injury unless handled properly.
CAUTION: Turn off the main power at the circuit breaker before installing the fixture, in order to prevent possible shock


























