Levenhuk DTX RC Remote Controlled
Microscopes

User Manual


- LCD screen
- Objective
- Brightness adjustment knob (except RC4)
- Coarse focusing knob
- Optical zoom ring
- Pole
- Spotlights
- LCD screen locking screw (not shown)
- Power connector (not shown)
- Stage
- Specimen holders (RC2, RC4 only)

- Power on/off
- Menu
- Up
- Down
- OK
- Capture
- Infrared sensor
- Brightness adjustment wheel (except RC4)
- AV out (RС3 only)
- SD slot
- MicroUSB: output to PC
- HDMI out (RC3, RC4 only)
- Reset (not shown)

- Capture
- Menu
- Frozen
- Mode
- Zoom up
- Brightness down
- Brightness up
- OK
- Zoom down
- 50/60Hz
- Cross line
- Sharpness down
- Contrast down
- Inverse
- Sharpness up
- Contrast up
- Black&white
- Lock/unlock file
- NTL/PAL
- Default set
- Image rotate


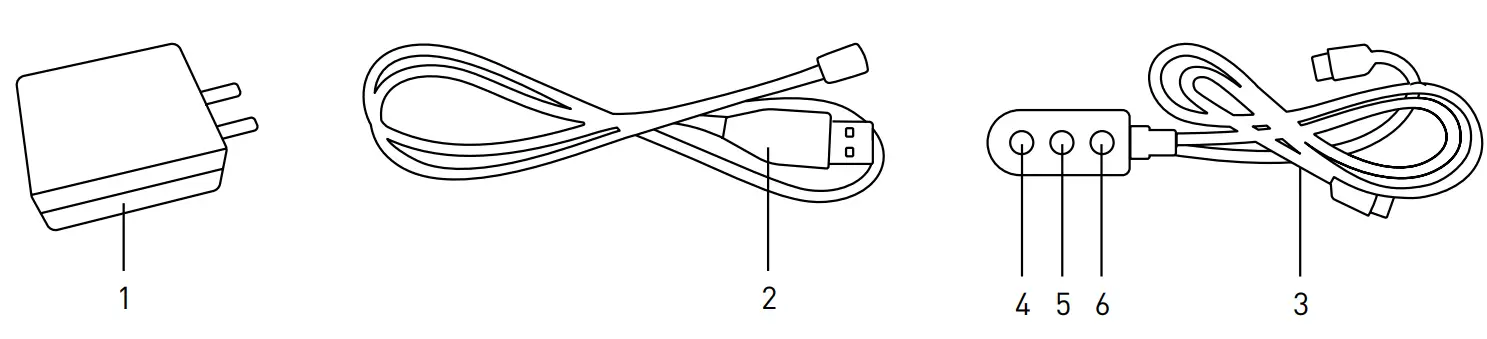
- DC adapter
- USB cable (RC1, RC3 only)
- Switch cable
- Brightness down
- Brightness up
- On/Off
- 3M sticker (RC1 only)
- UV filter
- Lens covers (RC1 only)
Levenhuk DTX RC Remote Controlled Microscopes
Please refer to fig. 1 (device), 2 (LCD screen), 3 (control panel), and 4 (accessories). Find your microscope model and view all of the details of the device.
Getting started
- Unpack the microscope carefully and place it on a flat surface.
- Use the supplied hardware to secure the pole and specimen holders to the base using the supplied hardware.
- Install the LCD screen on the pole and tighten the locking screw.
- Plug the power cable into the corresponding connectors on the base and on the LCD screen, and then the backlight and screen will turn on automatically.
- Press and hold the “Power on/off” button for 2 seconds on the screen to turn the screen on and off.
A microSD card (purchased separately) is required to save captured images and recorded videos. Turn the microscope off and insert the microSD card into the corresponding slot on the microscope body until it locks in place with a click. Do not apply excessive force when inserting the microSD card. Try rotating the card, if it does not lock in place with ease.
If the LCD screen freezes, look for the “Reset” button on the back of the LCD screen. Use a narrow object, such as a straightened paperclip, to press the button. This will reset all of the settings to the factory defaults and restart the LCD screen. Saved photos or videos will not be deleted.
UV filter
Use a 3M sticker to stick the UV filter and lens cover together. The threaded side of the filter must be glued to the lens cover.
Caution: Please refer to the specifications table for the correct mains voltage and never attempt to plug a 110V device into 220V outlet and vice versa without using a converter. Remember that mains voltage in the U.S. and Canada is 110V and 220–240V in most European countries.
| Video mode | |
| Video recording | |
| Photo mode | |
| Capture an image | |
| MicroSD status icon | |
| Still image mode | |
| Review mode |
Digital magnification
During observations, press the “Up” button to enlarge the image and the “Down” button to reduce the image.
Capturing an image
- Turn the microscope on and place a specimen on the stage.
- Set the objective to the desired height using the coarse focusing knob.
- Adjust the illumination brightness, so that the specimen is evenly lit.
- Adjust the magnification and sharpness of the image by rotating the coarse focus knob and optical zoom ring.
- To take a photo, press the “Capture” button.
- In “Freeze” mode, briefly press the “OK” button to take a picture (except RC1).
Recording a video
- Press the “Video” button to switch to video mode. The icon in the upper left corner of the screen will change in confirmation.
- Press the “OK” button to start recording. Note: do not hold down the “OK” button; instead, briefly press and release it.
- Press the “OK” button again to stop recording.
- Press the “Capture” button to take a picture while the microscope is recording a video. If you take a photo this way, the image resolution may not be as high as the video resolution – the image quality will be lower.
View photos and videos
- Insert the microSD card into the SD slot.
- Press the “Video” button twice to turn on the viewing mode.
- Press the “Right” and “Left” buttons to view the pictures and videos. Press the “Capture” button to start playing the video.
Use with a computer and TV
View on a computer (RC1, RC3 only)
AMCAP, ViewPlayCap, WebCam Monitor, and Microscope Measure programs can be downloaded from the official Levenhuk website.
Levenhuk DTX RC1
Windows 7/8/10, Mac OS:
- Install the AMCAP (Windows 7/8), ViewPlayCap (Windows 10), and WebCam Monitor (Mac OS) software on the computer. The PC camera icon will appear on your desktop after the installation of the software is complete.
- Use the “Power on/Off” button to turn off the LCD screen.
- Use the USB cable for connecting the LCD screen to the computer.
- Click the PC camera icon on your computer’s desktop to start viewing.
Levenhuk DTX RC3 Windows XP SP3/7/8/10:
- Install the Microscope Measure software on the computer. The Microscope Measure icon will appear on your desktop after the installation of the software is complete.
- Use the “Power on/Off” button to turn off the LCD screen.
- Use the USB cable for connecting the LCD screen to the computer.
- Click the Microscope Measure icon on your computer’s desktop to start viewing.
Connecting to a TV/monitor with an AV connector (RC3 only)
- Connect the microscope to the mains.
- Use an AV cable (not included) for connecting the LCD screen to the TV/monitor. The image on the LCD screen turns off and the display on the connected screen starts.
- Now, you can start viewing on the screen. If a microSD card is inserted into the microscope, you can take and save photos. The Video recording function is not available in this display mode.
Connecting to a TV/monitor with an HDMI connector (RC3, RC4 only)
- Connect the microscope to the mains.
- Use an HDMI cable (included) for connecting the LCD screen to the TV/monitor. The image on the LCD screen turns off and the display on the connected screen starts.
- Now, you can start viewing on the screen. If a microSD card is inserted into the microscope, you can take and save photos. The Video recording function is not available in this display mode.
Setup
Press the “Menu” button to go to the settings menu of the LCD screen Use the control buttons to select the required parameters. Press the “Menu” button again to save the
selected parameters. Do not turn off the power of the microscope while saving the settings.
Specifications
| Product ID | 76821 | 76822 | 76823 | 76824 |
| Model | Levenhuk DTX RC I | Levenhuk DTX RC2 | Levenhuk DTX RC3 | Levenhuk DTX RC4 |
| Digital magnification | 3-220x | 3-2C3x | 5-260x | 5-270x |
| Optical magnification | 3-55x | 3-50x | 5-I5x | 5-40x |
| Optics material | erotica glass | |||
| Body | plastic | |||
| Stage | 100x160mm | 120x200mm. with specimen holders | 120x170mm | 120x200mm. with specimen holders |
| Focus | coarse. 23mrn | coarse. 150mm | coarse. 100mm | coarse. 77mm |
| Illumination | upper LED (2 illuminators on flexible arms and illumination inside the objective) | upper LED (2 illuminators on flexible arms) | ||
| IN filter | a | |||
| Rotatable color LW screen | 4.3′ | 7° | 5* | r |
| Megapixels (sensor/image) | 1/12 | 2/12 | 3/12 | 4/24 |
| Max. resolution (image vise | 4032x3024prJ1920x1080px | 4032x3024px/1920x1080px | 5600x4200px/1920x1080px | |
| Image/video format | •.’ | .-Inr-rnov | …839r.rnP4 | |
| Sensor | 1/4 | 13. | 1/3 | |
| Pixel size | 3.0pm | 2.8pm | 2.2pm | 2.0pm |
| Sensitivity | highly sensitive sensor | 3800mV/Lux•s | 2000mV/Lux•s | 1900mV/Lux4 |
| Spectral range | 410-1100nm | |||
| Manual settings | white balance. exposure control | |||
| Output (connectors) | microSD, microUS8 | microS13, microUS8 | microSD. Microtel HDMI. AV | microSD. micro USB. HDMI |
| Operating system | Windows 7/8/10, Mac OS | – | Windows /P SP3/7/8/I 0 | – |
| Power supply (microscope) | 110-220V; 5V, 2A via US8 cable | |||
| Power supply (IR remote) | 1 pc CR2025 batteries | 2pcs AAA batteries | ||
| Operating temperature range | -20… .70T (-4….158 ‘F) | |||
Care and maintenance
Never, under any circumstances, look directly at the Sun, another bright source of light or at a laser through this device, as this may cause PERMANENT RETINAL DAMAGE and may lead to BLINDNESS.
Take necessary precautions when using the device with children or others who have not read or who do not fully understand these instructions. After unpacking your microscope and before using it for the first time check for the integrity and durability of every component and connection. Do not try to disassemble the device on your own for any reason. For repairs and cleaning of any kind, please contact your local specialized service center. Protect the device from sudden impact and excessive mechanical force. Do not apply excessive pressure when adjusting focus. Do not overtighten the locking screws. Do not touch the optical surfaces with your fingers. To clean the device exterior, use only special cleaning wipes and special optics cleaning tools from Levenhuk. Do not use any corrosive or acetone-based fluids to clean the optics. Abrasive particles, such as sand, should not be wiped off lenses, but instead blown off or brushed away with a soft brush. Do not use the device for lengthy periods of time, or leave it unattended in direct sunlight. Keep the device away from water and high humidity. Be careful during your observations, always replace the dust cover after you are finished with observations to protect the device from dust and stains. If you are not using your microscope for extended periods of time, store the objective lenses and eyepieces separately from the microscope. Store the device in a dry, cool place away from hazardous acids and other chemicals, away from heaters, open fire, and other sources of high temperatures. When using the microscope, try not to use it near flammable materials or substances (benzene, paper, cardboard, plastic, etc.), as the base may heat up during use, and might become a fire hazard. Always unplug the microscope from a power source before opening the base or changing the illumination lamp. Regardless of the lamp type (halogen or incandescent), give it some time to cool down before trying to change it, and always change it to a lamp of the same type. Always use the power supply with the proper voltage, i.e. indicated in the specifications of your new microscope. Plugging the instrument into a different power outlet may damage the electric circuitry of the microscope, burn out the lamp, or even cause a short circuit. Children should use the device under adult supervision only. Seek medical advice immediately if a small part or a battery is swallowed.
Battery safety instructions
Always purchase the correct size and grade of battery most suitable for the intended use. Always replace the whole set of batteries at one time; take care not to mix old and new ones or batteries of different types. Clean the battery contacts and also those of the device prior to battery installation. Make sure the batteries are installed correctly with regard to polarity (+ and –). Remove batteries from equipment that is not to be used for an extended period of time. Remove used batteries promptly. Never short-circuit batteries as this may lead to high temperatures, leakage, or explosion. Never heat batteries in order to revive them. Do not disassemble batteries. Remember to switch off devices after use. Keep batteries out of the reach of children, to avoid the risk of ingestion, suffocation, or poisoning. Utilize used batteries as prescribed by your country’s laws.
Levenhuk International Lifetime Warranty
All Levenhuk telescopes, microscopes, binoculars, and other optical products, except for their accessories, carry a lifetime warranty against defects in materials and workmanship. A lifetime warranty is a guarantee of the lifetime of the product on the market. All Levenhuk accessories are warranted to be free of defects in materials and workmanship for six months from the purchase date. The warranty entitles you to the free repair or replacement of the Levenhuk product in any country where a Levenhuk office is located if all the warranty conditions are met. For further details, please visit: www.levenhuk.com/warranty
If warranty problems arise, or if you need assistance in using your product, contact the local Levenhuk branch.
The original Levenhuk cleaning accessories
Levenhuk Cleaning Pen LP10
Removes dust with a brush
The soft tip is treated with a special cleaning fluid that removes greasy stains
Does not damage the optical coatings of the lenses
Leaves no smudges or stains
levenhuk.com
Levenhuk Inc. (USA): 928 E 124th Ave. Ste D, Tampa, FL 33612, USA, +1 813 468-3001, [email protected]
Levenhuk Optics s.r.o. (Europe): V Chotejně 700/7, 102 00 Prague 102, Czech Republic, +420 737-004-919, [email protected]
Levenhuk® is a registered trademark of Levenhuk, Inc.
© 2006—2022 Levenhuk, Inc. All rights reserved.
20220608
References
Levenhuk optical instruments store | Levenhuk - best optical equipment
Доживотна гаранция на Levenhuk – Официален уебсайт на Levenhuk в България
Levenhuk lifetime warranty details | Levenhuk - best optical equipment
Doživotní záruka společnosti Levenhuk – Oficiální webové stránky Levenhuk pro Českou republiku
Levenhuk Lebenslange Garantie – Die offizielle Website von Levenhuk in Deutschland
| Levenhuk, los mejores equipos ópticos
Levenhuk Lifetime Warranty – Levenhuk’s official website in Europe
A Levenhuk élettartamra szóló szavatossága – A Levenhuk hivatalos magyarországi weboldala
Gwarancja bezterminowa Levenhuk – Oficjalna witryna internetowa Levenhuk w Polsce
Поддержка - Гарантийное обслуживание Левенгук - Levenhuk Russia



















