Levenhuk DTX 500 Mobi Digital Microscope

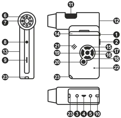
Microscope parts

- Shutter button
- Zoom adjustment wheel
- RCA socket
- USB socket
- Power cable socket
- LEDs
- Objective lens
- Tripod threaded hole
- MicroSD card slot
- Wrist strap clip
- Focus wheel
- Brightness adjustment wheel
- Battery compartment
- LCD display
- ▲ (color mode switch and scrolling)
- Menu
- OK
- ▼ (DOWN)
- ◄ (LEFT/ BACK)
- Power button
- Speaker
- Microphone
- Battery status indicator
The kit includes: microscope, tripod, rechargeable battery, power cable, USB cable, RCA cable, installation CD, pouch, wrist strap, cleaning cloth, user guide.
Microscope assembly
- Open the battery compartment and insert the battery into the battery compartment matching the indicated polarity. The battery has to be fully charged before turning the microscope on for the first time. Plug the power cable into the power cable socket on the microscope body (5) and connect it to a power source. The battery status indicator (23) will turn red. Once the battery is fully charged, the indicator will go out. You can now disconnect the microscope from the power source and turn it on. The fully-charged battery allows you to use the microscope for two hours. The illumination will grow dim and the image quality will decrease to inform you that the battery is low. Charge the battery, as described above.
- A microSD card (purchased separately) is required to save captured images and recorded videos. Turn the microscope off and insert the microSD card into the corresponding slot on the microscope body until it locks in place with a click. Do not apply excessive force when inserting the microSD card. Try rotating the card, if it does not lock in place with ease. Format the card before using it.
- To turn the microscope on, open the LCD display or press the power button (20). To turn the microscope off, fold the LCD display or press the power button (20) again (refer to Power saving section for more information).
SYMBOLS
Image capture mode icon
Sequence capture mode icon
Captured image counter/Total number of images that may be captured (based on the current resolution)
MicroSD status icon
Current image resolution
Battery status indicator
Note: interface icons may be hidden by pressing the zoom adjustment wheel (2).
Using the microscope
- Capturing an image
Turn the microscope on and point it at an object. Make sure the LCD display is fully unfolded. Adjust the illumination brightness, so that the specimen is evenly lit. Change magnification, then focus your view and press the shutter button (1) to capture an image. - Recording a video
Press the ◄ key (19) to switch to video mode. The icon in the upper left corner of the screen will change in confirmation. Press the shutter button (1) to start recording and press it again to stop. - Playing recorded videos
Press the ◄ key (19) to switch to playback mode. The icon in the upper left corner of the screen will change in confirmation. Select the desired video clip with scroll keys and press OK to play it. - Deleting files
When browsing saved files, press the Wrench key (16), select Delete… press OK to confirm selection (you can choose to delete everything or just the selected file from the displayed menu). - Protecting files
When browsing saved files, press the Wrench key (16), select Protect press OK confirm selection (you can choose to protect everything or just the selected file from the displayed menu). - Slideshow
When browsing saved files, press the Wrench key (16), select Slide Show and press OK to confirm selection. - Interface color mode
When browsing saved files, press the ▲ (15) key to switch between existing interface color modes. - Zoom
Scroll the zoom adjustment wheel (2) to zoom your view in or out.
Note: zoom range of Levenhuk DTX 500 Mobi is 1—4х. - Attaching the tripod
Place the tripod on a stable surface. Connect the tripod to the threaded hole (8) on the microscope and rotate the microscope until it locks in place. Do not apply excessive pressure during rotation, as this may damage both the microscope and the tripod. Tripod height may be adjusted, if necessary. - Transferring files to a computer
Connect the microscope to your computer with a USB cable and, when the AutoPlay window appears, choose to use the microscope as an external storage device. - Main menu
Press the Wrench key (16) to open the main menu. From this menu you can set image resolution, adjust image quality and sharpness, as well as set parameters for sequence capture. - Resolution
- Select Resolution the main menu choose the required image resolution.
- Press OK to confirm selection.
Note: model supports the following resolutions: VGA / 1.3M / 3M / 5M / 9M / 12M.
- Sequence capture
Select Timer from the main menu and set the total number of images to be captured in the Frames dialog window. Confirm your selection by pressing OK. A new dialog window will appear where you can set the interval between images using the ▲ and ▼ keys. Press OK to confirm and ◄ to return to capture mode. Press the shutter button to start capturing images. The icon in the upper left corner will change in confirmation. Once the set number of images has been captured, the screen will return to standard capture mode. Press the shutter button at any time to stop sequence capture. - Quality
Select Quality from the main menu and choose one of the existing settings. This will change the compression rate of captured images. - Sharpness
Select Sharpness from the main menu and choose one of the existing settings. - Language
Select Language from the main menu and choose one of the existing settings. Press OK to confirm selection. - Power saving
Select Power Save from the main menu and set the idle time before the microscope automatically shuts down. - Display frequency
Select Frequency from the main menu and choose one of the existing settings. Press OK - Date and time display
- Select Date Stamp from the main menu and choose one of the existing settings.
- You can opt to display the date or both date and time. Press OK to confirm selection.
- TV connection
- Select TV Out from the main menu and choose one of the existing settings.
- Press OK to confirm selection.
- Date and time
Select Date/Time from the main menu and set the current date and time. Press OK to confirm entry. You can also choose one of the following date formats: YY/MM/DD, DD/MM/YY or MM/DD/YY. - Format SD card
Select Format SD from the main menu to format the installed memory card. - Settings reset
Select Sys. Reset from the main menu to revert back to factory settings. - Hardware version
Select Version from the main menu to check the current hardware version. - Connecting the microscope to a TV-set
Plug the RCA cable into the microscope and connect it to your TV-set (refer to the User Guide of your TV-set for additional information). Turn on the TV and select the correct channel from the corresponding menu of the TV-set (refer to the User Guide of your TV-set for additional information).
Portable Capture software
- Insert the installation CD into your CD drive. The Main Menu window will be displayed. Select Portable Capture software to install the Portable Capture application. Keep in mind that a system restart will be required during installation.The installation CD contains
a copy of this User Guide, which you can read by clicking the corresponding entry in the Main Menu. - Connect the microscope to your PC with a USB cable and run the Portable Capture application. A pop-up message will warn you if the microscope is not connected to the PC.
- Image resolution
From the Options menu, select Preview Size to set the required image resolution. - Rotating the image
From the Options menu, select Rotate and choose to rotate created images 90° - Date and time
From the Options menu, select Date/Time to display or hide the date and time of capture during preview. - Language
From the Options menu, select Language to change the language of the user interface. - Full screen mode
There are three ways to enter full screen mode:- Double-click an image in the main window;
- Click the Full screen mode icon on the toolbar;
- From the Options menu, select Full screen mode.
To exit full screen mode, click the corresponding icon on the toolbar.
- Capturing an image
Click the corresponding icon on the toolbar or select Photo from the Capture menu, or press F11 on your keyboard. A thumbnail of the captured image will appear on the right side of the main window. - Recording a video
- Click the corresponding icon on the toolbar or select Video from the Capture menu.
- The camcorder icon on the toolbar will change once you start recording. To stop recording you can either click the corresponding icon on the toolbar again or select Stop capturing from the Capture menu.
Note: recommended video resolution is 640×480.
- Preview
- Left-click the thumbnail of the image you wish to edit and it will open in the main window of the application. The image resolution will be displayed in the bottom left corner of the screen.
- Double-clicking a thumbnail will open the image in a separate window.
- Saving images
To save an image, right-click the thumbnail of the desired image and select Save from the drop-down menu.Images may be saved in .jpeg and .bmp formats. When saving images in .jpeg format, clicking Advanced allows you to view and edit additional options. - Deleting images
To delete an image, right-click the thumbnail of the desired image and select Delete from the drop-down menu.When viewing images in a separate window, you can click the corresponding icon on the toolbar to delete the image. - Copying images
To copy an image, right-click the thumbnail of the desired image and select Copy from the drop-down menu. - Working with video clips
Right-click a video clip thumbnail and choose whether you want to watch, copy or delete the chosen clip from a drop-down menu. - Exiting the application
To exit the application, choose Exit from the File menu.
Calibration and measurements
Place a ruler on the stage, focus your view and a image. Take note of the current magnification by looking at the calibration scale on the microscope body. Double-click the image thumbnail to open it in a separate window. Enter the magnification value into the corresponding field in the upper right corner of the preview window. Upon calibrating the microscope, you will be able to measure various parameters of observed specimens. All the buttons on the toolbar of the preview window are described below.
- Line
Press and hold the left mouse button to start drawing a line. Release the left mouse button to complete the line. - Free-form line
Press and hold the left mouse button and draw a line. Release the left mouse button to complete the segment. You can continue adding more segments to the free-form line. - Radius
Draw a straight line on the image. The application will automatically calculate the radius, as well as circumference and area of the corresponding circle. - Diameter
Draw a straight line on the image. The application will automatically calculate the diameter, as well as circumference and area of the corresponding circle. - Angle
Press and hold the left mouse button to draw a line on the image. Release the left mouse button and draw another line. The application will automatically calculate value of the resulting angle. - Measurement units
From the drop-down menu on the toolbar you can select measurement units for calculations (pixels, inches, kilometers, meters, centimeters, millimeters, microns).
Press this button to create a text box on the image
Press this button to edit font parameters
These buttons allow you to draw something on the image
Press this button to choose the line color
Press this button to choose the line thickness
Press this button to choose the line style
Press this button to undo the last action
Note:- Magnification range of Levenhuk DTX 500 Mobi is 20–500x. Do not use magnification values that exceed this range.
- The application calculates values based on the magnification you have entered. The results may not be precise.
- Measurement functions are only available to MS Windows users.
Working with the application for Mac OS users
- Installing software
Browse to the mac folder on the installation CD and copy PortableCapture file to the desktop. - Operating the microscope
Use a USB cable to connect the microscope to your computer. Run the PortableCapture application by double-clicking its icon. - Observing specimens
A magnified image of the observed specimen may be seen in the main window of the application. - Image resolution
From the Options menu, select Preview Size to set the image resolution. Keep in mind that the preview window cannot be resized (standard resolution is 640×480). The image resolution is shown in the bottom left corner of the preview window. - Date and time
From the Options menu, select Date/Time to display or hide the date and time of capture during preview. - Capturing an image
Click the corresponding icon on the toolbar or select Photo from the Capture menu to capture an image. An image thumbnail will appear on the right side of the main window. - Recording a video
Click the corresponding icon on the toolbar or select Video from the Capture menu to start recording a video.
Note: during recording, the camcorder icon on the toolbar will turn red. Click the icon again to stop recording. - Editing images and videos
Image and video thumbnails are displayed on the right side of the main window of the application. Double-click an image thumbnail to open it in a separate preview window. Editing images with Portable Capture application is similar to working with other applications in Mac OS.
Care and maintenance
Never, under any circumstances, look directly at the Sun, another bright source of light or at a laser through this device, as this may cause PERMANENT RETINAL DAMAGE and may lead to BLINDNESS. Take necessary precautions when using the device with children or others who have not read or who do not fully understand these instructions. After unpacking your microscope and before using it for the first time check for integrity and durability of every component and connection. Do not try to disassemble the device on your own for any reason. For repairs and cleaning of any kind, please contact your local specialized service center. Protect the device from sudden impact and excessive mechanical force. Do not apply excessive pressure when adjusting focus. Do not over tighten the locking screws. Do not touch the optical surfaces with your fingers. To clean the device exterior, use only special cleaning wipes and special optics cleaning tools from Levenhuk. Do not use any corrosive or acetone-based fluids to clean the optics. Abrasive particles, such as sand, should not be wiped off lenses, but instead blown off or brushed away with a soft brush. Do not use the device for lengthy periods of time, or leave it unattended in direct sunlight. Keep the device away from water and high humidity. Be careful during your observations, always replace the dust cover after you are finished with observations to protect the device from dust and stains.
If you are not using your microscope for extended periods of time, store the objective lenses and eyepieces separately from the microscope. Store the device in a dry, cool place away from hazardous acids and other chemicals, away from heaters, open fire and other sources of high temperatures. When using the microscope, try not to use it near flammable materials or substances (benzene, paper, cardboard, plastic, etc.), as the base may heat up during use, and might become a fire hazard. Always unplug the microscope from a power source before opening the base or changing the illumination lamp. Regardless of the lamp type (halogen or incandescent), give it some time to cool down before trying to change it, and always change it to a lamp of the same type. Always use the power supply with the proper voltage, i.e. indicated in the specifications of your new microscope. Plugging the instrument into a different power outlet may damage the electric circuitry of the microscope, burn out the lamp, or even cause a short circuit. Children should use the device under adult supervision only. Seek medical advice immediately if a small part or a battery is swallowed.
Battery safety instructions
Always purchase the correct size and grade of battery most suitable for the intended use. Always replace the whole set of batteries at one time; taking care not to mix old and new ones, or batteries of different types. Clean the battery contacts and also those of the device prior to battery installation. Make sure the batteries are installed correctly with regard to polarity (+ and -). Remove batteries from equipment that is not to be used for an extended period of time. Remove used batteries promptly. Never attempt to recharge primary batteries as this may cause leakage, fire, or explosion. Never short-circuit batteries as this may lead to high temperatures, leakage, or explosion. Never heat batteries in order to revive them. Remember to switch off devices after use. Keep batteries out of the reach of children, to avoid risk of ingestion, suffocation, or poisoning.
SPECIFICATION
- Image sensor: 5Mpx (up to 12Mpx by interpolation)
- Magnification: 20–200–500x
- Available image resolutions: 12Mpx, 9Mpx, 5Mpx, 3Mpx, 1.3Mpx, VGA
- Photo/video format: *.jpeg/*.avi
- Memory card: microSD up to 32Gb (not included)
- Objective lens: high-quality lens
- Display: color display 3″ TFT, 4:3 ratio
- Illumination: 8-LED system with variable brightness
- Power source: Li-ion battery (3.7V/1050mAh)
- Operation time: 4 hours, charging time: 5 hours
- Frame rate: 30fps
- Power cable: 100–240V, 50/60Hz; 5V, 1A output
- OS language: English, German, French, Spanish, Italian, Portuguese, Japanese, Chinese
- Software language: English, German, French, Spanish, Russian, Italian, Portuguese, Polish, Dutch, Japanese, Korean, Chinese
- Dimensions: (HхWхD):330x70x150mm
- Weight: 700g (with the battery)
The manufacturer reserves the right to make changes to the product range and specifications without prior notice.
System requirements
- Operating system: Windows 7/8/10, Mac 10.6~10.15,
- CPU: at least P4 1.8GHz, RAM: 5 12MB, interface: USB 2.0
Levenhuk International Lifetime Warranty
- All Levenhuk telescopes, microscopes, binoculars, and other optical products, except for their accessories, carry a lifetime warranty against defects in materials and workmanship. A lifetime warranty is a guarantee on the lifetime of the product on the market. All Levenhuk accessories are warranted to be free of defects in materials and workmanship for six months from the purchase date. The warranty entitles you to the free repair or replacement of the Levenhuk product in any country where a Levenhuk office is located if all the warranty conditions are met.
- For further details, please visit: www.levenhuk.com/warranty
- If warranty problems arise, or if you need assistance in using your product, contact the local Levenhuk branch.
References
Levenhuk optical instruments store | Levenhuk - best optical equipment
Доживотна гаранция на Levenhuk – Официален уебсайт на Levenhuk в България
Levenhuk lifetime warranty details | Levenhuk - best optical equipment
Doživotní záruka společnosti Levenhuk – Oficiální webové stránky Levenhuk pro Českou republiku
Levenhuk Lebenslange Garantie – Die offizielle Website von Levenhuk in Deutschland
| Levenhuk, los mejores equipos ópticos
Levenhuk Lifetime Warranty – Levenhuk’s official website in Europe
A Levenhuk élettartamra szóló szavatossága – A Levenhuk hivatalos magyarországi weboldala
Gwarancja bezterminowa Levenhuk – Oficjalna witryna internetowa Levenhuk w Polsce
Поддержка - Гарантийное обслуживание Левенгук - Levenhuk Russia

Press this button to create a text box on the image
Press this button to edit font parameters
These buttons allow you to draw something on the image
Press this button to choose the line color
Press this button to choose the line thickness
Press this button to choose the line style
Press this button to undo the last action


















