FANTASY FARM 50 lb Capacity Poultry Feeder Owner’s Manual
Package Contents

Parts List
| A | Feeder Base | 1 |
| B | End Plate 1 | 1 |
| C | End Plate 2 | 1 |
| D | Back Panel | 1 |
| E | Front Panel | 1 |
| F | Top | 1 |
Hardware List
| H1 | 1/4” – 20 X 1/2” Hex Head Bolt* | 16 |
| H2 | 1/4” – 20 X 1/2” Hex Head Nut* | 16 |
| H3 | 1/4” – 20 X 1-1/4” Hex Head Bolt* | 2 |
| H4 | 1/8” Nylon Bushing Black | 2 |
| H5 | 1/4” Hex Head Locking Nut* | 2 |
Safety Information
This manual contains very important information to know and understand. This information is provided for SAFETY, to PREVENT EQUIPMENT PROBLEMS, and to EXTEND PRODUCT LIFE. Improper assembly or alteration can prevent product from functioning properly or may cause injury to persons or poultry. Read and understand all assembly, operation, and safety information in this product manual before first use.
WARNING
- HANDLE WITH CARE when feeder lid is open! Lid closure creates pinch point and may cause serious injury!
- DO NOT slam lid shut!
- DO NOT allow poultry to feed with feeder lid open! Lid can close and cause injury to poultry!
CAUTION
Handle product with care! As with all poultry products, once your feeder is in use, when handling or cleaning your feeder the use of disposable rubber gloves and face mask is recommended to prevent potential exposure to bacteria, viruses, pathogens or other contaminants that may be present on feeder surfaces or that might be airborne
NOTE
Always discard gloves and mask after use. Do not reuse disposable products. Wash hands thoroughly with anti-bacterial soap or cleaner
WARNING – CALIFORNIA PROPOSITION 65
This product DOES NOT contain chemicals currently known to the state of California to cause cancer, birth defects, or other reproductive harm. For more information, visit https://www.p65warnings.ca.gov/
Preparation
Before assembling the feeder, make sure that all of the parts are present. Compare package contents with the parts and hardware list contents on If any part is missing or damaged, do not attempt to assemble the product. Contact customer service for replacement parts at 1-330-454-2699.
Tools Required (Not included):

Assembly Instruction
NOTE All Bolts are inserted from the outside with nuts on the inside of the feeder.
Install the Feeder End Plates (B&C) to inside surface of Feeder Base (A) using 4 Bolts (H1) and 4 Nuts (H2). Tighten to secure. (Figure 1)

Make sure that the vertical double hole pattern in the top corner of the Feeder End Plates are on the same side of the Feeder Base as these holes will be used to secure the hinging top of the feeder.
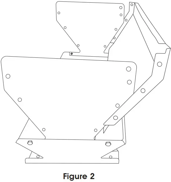
Install Back Panel (D) using 6 Bolts (H1) and 6 Nuts (H2). Tighten to Secure. (Figure 2)

Make sure that the back panel is installed on the side of the base/ end-plate assembly that has the double vertical hole pattern in the top corner of the end plates.
Side flanges of the Back Panel go outside the End Plates.
Install Front Panel (E) onto the Assembly using 6 Bolts (H1) and 6 Nuts (H2). Tighten to secure. (Figure 3)

Side flanges of the Front Panel go outside the End Plates.
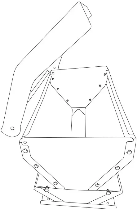
Install Feeder Top (F) onto Assembly using 2 Bolts (H3), 2 Bushings (H4), and 2 Locking Nuts (H5). Tighten to Secure. (Figure 4)

Side flanges of the Feeder Top go outside the base assembly.
Bolts are inserted from the outside with Bushings (H4) installed in between the side flanges of the Feeder Top and the base assembly. Locking Nuts (H5) are secured on the inside of the Feeder Base. (Figure 4.2)

WARNING
Handle with care when feeder lid is open! Lid closure creates pinch points and may cause serious injury!
Product Usage
Once the feeder has been properly assembled, it is ready for use in 3 easy steps. Little to no training of poultry is required.
- Place Feeder in the area where your poultry will feed. Product is designed for indoor & outdoor pens, coops, or containment structures. Products can also be used with free-range poultry.
- Open Feeder top – handle with care to avoid pinch points. Fill feeder base with the dry poultry feed of your choice. Feeder has 50lb feed capacity. Place some feed in both feed troughs. Feeder is designed with a gravity feed system. As poultry eat feed contained in feed troughs, it will be replenished through the gravity feed system.
- Close feeder top and your Fantasy Farm Poultry Feeder is ready for use.
Care and Maintenance
CLEANING
To ensure proper function and extend the life of your Fantasy Farm Feeder recommended cleaning and maintenance should be performed periodically. Proper periodic cleaning of your feeder can not only help ensure proper function and extend the life of your feeder but may also help protect your chickens from unwanted bacteria, viruses, pathogens or other contaminants.
When feeder is empty, clean your feeder in a location away from any feeding area with a lowpressure water hose, nylon cleaning brush, and a mixture of 1 gallon of hot water and 1/2 cup of white vinegar. Scrub all exterior and interior surfaces thoroughly with cleaning solution and rinse several times with a low-pressure water hose. After cleaning and rinsing, feeder should be placed in the sun and be allowed to dry thoroughly prior to loading feed.
NOTE If any surfaces of feeder show signs of mold, mildew, feed spoilage, or chicken feces clean multiple times with a mixture of 1 gallon of hot water and 1/3 – 1/2 cup of bleach, rinse multiple times and allow to dry thoroughly prior to loading feed.
MAINTENANCE
After thoroughly cleaning your feeder, check the tightness of all nut & bolt fasteners. Re-tighten as necessary as some may loosen slightly with normal wear and usage.
SAFETY
Handle product with care! As with all poultry products, once your feeder is in use, when handling or cleaning your feeder the use of disposable rubber gloves and face mask is recommended to prevent potential exposure to bacteria, viruses, pathogens or other contaminants that may be present on feeder surfaces or that might be airborne.
Always discard gloves and mask after use. Do not reuse disposable products. Wash hands thoroughly with anti-bacterial soap or cleane
Built to Last Limited Lifetime Warranty
We thank you for your purchase of Fantasy Farm Products. We are happy to offer a Limited Lifetime Warranty on this product which will be in effect upon the completion of our authorized warranty registration. Per the Limited Lifetime Warranty, if this item fails due to a defect in material or workmanship, we will repair or replace the item free of charge at our discretion.
FOR WARRANTY REGISTRATION, please access our warranty registration website portal at www.fantasyfarmproductsusa.com. Please have the following information ready: Your contact information, product model #, name of retailer purchased from, purchase date, order #, and payment receipt.
Please note, this warranty DOES NOT cover defects resulting from improper assembly, abnormal use, misuse, accident, or alteration. Failure to follow all instructions in the owner’s manual, including proper recommended storage of this product when not in use, will also void this warranty. The manufacturer will not be liable for incidental or consequential damages, or for degradation of this product due to common erosion of outdoor products
To review a warranty claim, obtain warranty service, or to order parts call 1-330 454-2699, Monday – Friday 8:30 am – 4:30 pm EST.
Model Number:…………………………
Retailer:……………………………………
Purchase Date:………………………….
Order Number:………………………..
Attach purchase receipt to this manual for reference in warranty inquiries
Replacement Parts

Parts List
| A | Feeder Base | 1 |
| B | End Plate 1 | 1 |
| C | End Plate 2 | 1 |
| D | Back Panel | 1 |
| E | Front Panel | 1 |
| F | Top | 1 |
Hardware List
| H1 | 1/4” – 20 X 1/2” Hex Head Bolt* | 16 |
| H2 | 1/4” – 20 X 1/2” Hex Head Nut* | 16 |
| H3 | 1/4” – 20 X 1-1/4” Hex Head Bolt* | 2 |
| H4 | 1/8” Nylon Bushing Black | 2 |
| H5 | 1/4” Hex Head Locking Nut* | 2 |

















