hama 00201502 Compact Windshield Universal Smartphone Holder Instruction Manual
Thank you for choosing a Hama product. Take your time and read the following instructions and information completely. Please keep these instructions in a safe place for future reference.
Explanation of warning symbols and notes
Warning
This symbol is used to indicate safety instructions or to draw your attention to specific hazards and risks.
Note
This symbol is used to indicate additional information or important notes.
Package contents
- 1x Universal Smartphone Holder
- these operating instructions
Safety instructions
- Use the product only for the intended purpose.
- Protect the product from dirt, moisture and overheating and use it in dry environments only.
- When using this product, observe the applicable local traffic laws and regulations.
- Do not drop the product and do not expose it to any major shocks.
- Keep the packaging material out of the reach of children due to the risk of suffocation.
- Dispose of packaging material immediately in accordance with the locally applicable regulations.
- Do not modify the product in any way. Doing so voids the warranty.
Installation


Warning
- Take care that components such as airbags, safety areas, controls, instruments, etc. and visibility are not blocked or restricted.
- While driving a car or using sports equipment, do not allow yourself to be distracted by your product and keep an eye on the traffic situation and your surroundings.
Note
Never apply force when using the product or during installation.
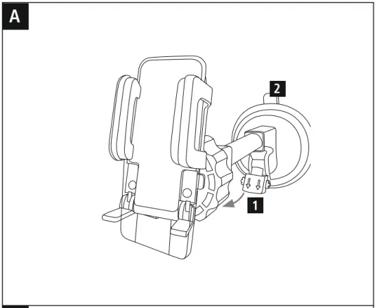
Mounting the holder
- Remove the protection foil from the suction cup and position it on a clean, level surface (e.g. window pane).
- If necessary, attach an adapter plate for suction cup holders on an uneven, rough surface (e.g. dashboard).
- Open the clamping device (A1) in order to position the support arm.
- Close the clamping device (A1) in order to fix this position.
- To remove the suction cup from the surface, open the clamping device and remove the suction cup (A2) completely.
Mounting the bracket
- Place the cutout(s) of the bracket on the holder.
- Push the bracket down until it clicks into place / sits firmly.
Inserting / removing devices
Note
Always remove your device from the bracket before you attach it to or remove it from the holder (suction cup holder).
- Please fold out the feet (B1) before using the device.
- Press the (B2) button to open the holding brackets (B3).
- Insert the device and fix it in place by gently pressing the holding brackets (B3) together.
Warranty disclaimer
Hama GmbH & Co KG assumes no liability and provides no warranty for damage resulting from improper installation/mounting, improper use of the product or from failure to observe the operating instructions and/or safety notes.


All listed brands are trademarks of the corresponding companies.
Errors and omissions excepted, and subject to technical changes.
Our general terms of delivery and payment are applied.
Hama GmbH & Co KG
86652 Monheim/ Germany
Service & Support
www.hama.com
+49 9091 502-0




















