Vibration/Magnet Sensor
Installation & User Manual

Vibration-Magnet Sensor
Please setup and register the Skyhawk Hub BEFORE using this device!
In order to receive alerts from your Sensor, it must be used in conjunction with your Skyhawk Hub (sold separately) and the Skyhawk CE smartphone app.
See the Skyhawk Hub user manual for additional information on connecting your devices.
In order to receive alerts from your Sensor, it must be used in conjunction with your Skyhawk Hub (sold separately) and the Skyhawk CE smartphone app.
See the Skyhawk Hub user manual for additional information on connecting your devices.
Unpacking and Inspection
Before you begin installation, unpack and verify you have all the correct parts.
(1) Skyhawk miniSensor
(2) AAA Alkaline Batteries (pre-installed)
(4) Self-Stick Mounting Magnets
(8) Tacky Paddy
(1) Quackster guide
(1) Warranty card
Optional Item purchased separately:
- Pull Magnet Kit
If you are missing any of these parts STOP, make sure you have your unit’s serial number and request a replacement on sky-hawk.com/warranty.
miniSensor Layout Summary
Front of Unit

LED Indicator – This multicolored LED indicator will indicate when the Sensor is powering on or off, has been triggered or is acknowledging a transmission. More details on the indicator colors can be found on page 17.
Function Button – This multi-use button can be used for various functions. See pages 12 and 13 for more details.
Magnet Alignment Notch – This notch shows the center alignment position of the reed switch magnet.
Mounting Cutout – This cutout can be used to mount unit with a screw or attach to a peg or hook.
Front of Unit (with cover removed)

Mounting Pins – Once the case is opened the circuit board rests on top of four plastic mounting pins.
Accelerometer Sensor – Used to sense sudden movement or vibration of the monitored item.
Battery Access – The board can be removed to access the battery holder on the opposite side of the circuit card.
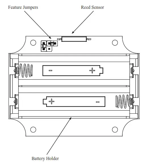
Bottom of Circuit Card (circuit card removed from case)

Reed Sensor – Used to sense the removal of the supplied pull magnet.
Feature Jumpers – These jumpers allow user-configurable features to be turned ON and OFF. The default position of the jumpers is shown in the image.
Battery Holder – The battery holder accommodates 2 x AA batteries. It is required that 1.5 volt alkaline batteries are used for expected life.
Sensor User-Configurable Features:
The Sensor has two feature jumpers:
Jumper #1 – Not Used
Jumper #2 – Used to enable or disable the accelerometer sensor
Step 1: Open case as outlined in the Battery Replacement section of this manual and remove batteries.
Step 2: Remove circuit card from case and locate configuration header as shown below in the dashed circle.

Step 3: Move jumpers to configure settings (if different from the factory default settings).

Step 4: Install batteries and close case as outlined in the Battery Replacement section of this manual.
Sensor Installation
The Sensor can be installed using various methods including, but not limited to, the following two examples using the supplied mounting accessories:
Method 1 : Self-Stick Mounting Magnets
Step 1: In the accessory kit, locate the four self-stick mounting magnets.
Step 2: Clean the four circular recessed areas on the back of the Sensor with 70% isopropyl alcohol for proper bonding of the magnets.
Step 3: Peel off the adhesive backing paper on the magnets and affix them to the circular recessed areas cleaned in Step 2.

Step 4: The Sensor is ready to be mounted. Make sure the area where the Sensor will be attached is ferrous, iron or steel.

Method 2 : Tacky Puddy
Step 1: In the accessory kit, locate the tacky puddy strip.
Step 2: Tacky puddy can be attached to the bottom or sides of the Sensor. It is recommended that the tacky puddy pieces are not attached to the top of the unit since that would limit visibility to the LED indicator and function button.
Step 3: Attach to the object being monitored.
Tacky paddy can damage some surfaces.
Installation – Safety Guidelines
Make sure when placing the Sensor on an object that it is securely attached and cannot fall off and injure someone or fall onto a hard surface and damage the unit.
Make sure that when placing the Sensor that it will not interfere with other equipment.

Sensor Pull-Magnet Installation
The Sensor is supplied with a pull-magnet kit for users who choose to use the reed switch option.
Step 1: Locate the pull-magnet kit and take out the magnet mount while setting the other items off to the side.

Step 2: On the back edge of the cover there will be small notch that shows the reed switch centering location.
Clean this area below the notch with 70% isopropyl alcohol for proper bonding of the mount.

Step 3: Peel the backing off the magnet mount and affix to rear of case as shown. The mount should be centered on the notch and just below the seam of the top and bottom of the case.

Step 4: Locate the magnet and filament line from the kit. Run the line through the magnet and back around and tie a double knot. Note: Tying a knot at the end is not suggested since it could pull though the magnet.

Step 5: Snap the magnet into the holder on the Sensor.

Step 6: Tie the other end of filament line to the object being monitored, such as a door or trap; making sure that when tripped, the line will pull easily from the magnet mount on the Sensor.

Sensor Start-Up Operation
Before moving forward with the unit operation you must download the Skyhawk CE app onto your smart device and sign up for an account.
Step 1: Download and install the Skyhawk CE app from the Apple or Google Play store onto your compatible smart device. Go to sky-hawk.com for more detailed information on which devices are supported.
Step 2: Power ON the Sensor by pressing the function button; release when the GREEN LED starts blinking. The unit will continue to power ON by flashing the GREEN LED.

Step 3: After the unit is powered up, it will automatically send a power ON alert to the Skyhawk HUB that will in turn send an acknowledgement back to the Sensor. The acknowledgment on the Sensor will be indicated by a rapid flashing GREEN LED for 5 seconds. Additionally, the sensor status information is sent to the Skyhawk CE
app via the cellular network. This initial trigger can take a minute or two and will verify connectivity between all the parts in the system. If the acknowledgement is a rapid flashing RED LED for 5 seconds, then the sensor could be out-of-range from the HUB. If out of range power OFF the device then go back to Step 2.

Step 4: The unit now automatically goes into armed mode. Whenever the unit is moved beyond the set sensitivity or the reed switch is activated by a magnet pull from the holder, then it will be triggered. This triggered information is sent to the Skyhawk CE application via the Skyhawk HUB’s cellular connection. When the unit is triggered
it will blink BLUE twice followed by the rapid flashing GREEN/RED for 5 seconds depending on if it was successful.
Step 5: Unit returns to sleep and has a 60 second back-off until the unit can be triggered again.
Sensor Shut-Down Operation
When the Sensor is not going to be used for more than a few weeks it should be powered down to conserve battery life.
Step 1: Power OFF the Sensor by pressing the function button; release when the RED LED starts blinking. The unit will continue to power OFF by flashing the RED LED five times.
Step 2: During the power down process (while the LED is blinking RED) the unit will send an alert to make sure that the registered owner of the device is notified the Skyhawk Sensor is going off-line.

Sensor Reset Operation
The Sensor has the ability to be reset back to default settings.
Step 1: Press and HOLD the button, between 5 – 15 seconds the LED blinks red and green simultaneously.
After 15 seconds of the button been held, the LED keeps blinking RED rapidly and the Step 2 will only take place if the button is released (after the rapid red blinks).
Step 2: The LED will begin to rapidly blink Red/Green/Blue (continuous rapid flash) continuous rapid flash RED, release button.

Sensor Battery Replacement
The Sensor comes with two AA 1.5 volt alkaline batteries already installed. Depending upon use, it may take several years before the batteries need to be replaced. When they are replaced it is suggested to use a high quality name brand AA alkaline battery like an Energizer or uracil. Follow the instructions below to replace these batteries.
Step 1: Remove the cover screws of the Sensor using a Phillips screwdriver. Make sure to turn the screws counterclockwise.

Step 2: Remove the front cover. There will be a gasket holding the unit together so it might take a bit of force to separate the cover from the enclosure.

Sensor Battery Replacement (continued)
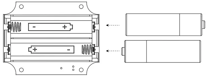
Step 3: Remove the PC card with attached battery holder from the enclosure. This can easily be done by turning the unit over and allowing the battery holder to fall into your hand.

Step 4: Remove and dispose of the old batteries properly.

Sensor Battery Replacement (continued):
Step 5: Insert new batteries taking note of the direction symbols.

Step 6: Replace PC card with attached battery holder by aligning holes to the mounting pins in the enclosure. Replace cover making sure to align LED indicator on the cover to the LED on the PC Card (take note of image below for details). Replace cover screws. Turn screws clockwise so they are just starting to pull the case closed. Final tighten screws to 1.25Nm in order: 1, 4, 3 then 2 (X pattern) until completely seated.

Sensor LED Indicators
The Sensor is equipped with a multi-color LED indicator for feedback status to the user.
Below is a chart of the status indicators:

Power Up w/Acknowledgement (PASS)—> Blinking GREEN LED
Power Up w/Acknowledgement (FAIL)—> Blinking GREEN LED five times followed by rapid flashing GREEN 5s
Power Down ———————————-> Blinking RED LED
Trigger —————————————–> Blinking BLUE LED two times
Reset ——————————————-> Fast Blinking RED LED
While unit is ON and not being triggered a status LED will flash GREEN every 10 seconds.
Sensor Accelerometer Sensitivity Adjustment
When the unit is ON, hold the function button for 3-6 seconds until the blinking RED LED changes to a RED & GREEN alternating pattern. Once in program mode, push the button (press quickly, as many times as necessary).
The GREEN LED will flash for each button click in program mode. Click the button 1-10 times and then let the unit sit for 10 seconds. The GREEN LED will then flash X number of times to indicate how many clicks were processed and set as the new sensitivity setting. The unit then will perform a connection back to the Skyhawk
HUB that will report back the new setting to the Skyhawk CE application.
Accelerometer Sensitivity Note
Sensors are shipped with a default maximum sensitivity of 7, unless otherwise noted. This will help ensure activation in multi-catch deployments or snap trap deployments inside cardboard boxes or rodent stations. High sensitivity can lead to false alerts from external environmental factors such as rain, hail or extraneous vibrations. If false alerts arise, the vibration sensitivity can be reduced using the procedure above. The sensor can also be used in reed switch(magnet pull)mode to detect physical displacement from snap trap closures. Using both sensors can be a useful deployment in live animal trap cage deployments. The cage door closing event can be positively monitored with the reed switch sensor through a magnet pull. Animal captures can be confirmed with a high sensitivity vibration setting to confirm the animal capture. Vibrations alerts that are not preceded by a door closure alert can be disregarded.
IMPORTANT SAFETY INFORMATION
USE RESTRICTIONS AND NOTICES FOR SKYHAWK Sensor SAFETY AND USE RESTRICTIONS DO NOT USE SKYHAWK Sensor :
- IN PLACE OF A LIFE SAFETY DEVICE.
- FOR MEDICAL MONITORING.
- IN A MANNER THAT VIOLATES ANY FEDERAL, STATE, LOCAL, ADMINISTRATIVE OR OTHER LAW, REGULATION, OR ORDINANCE, INCLUDING BUT NOT LIMITED TO GOVERNANCE OF CRIMINAL OR ILLEGAL ACTIVITY, DATA PRIVACY AND SECURITY, HEALTH AND SAFETY, ANIMAL WELFARE AND/OR WILDLIFE TRAPPING.
DO NOT ATTACH SKYHAWK miniSensor DIRECTLY TO A LIFE SAFETY OR MEDICAL MONITORING DEVICE.
DO NOT PLACE OR POSITION SKYHAWK MiniSensor WHERE IT COULD INTERFERE WITH SAFE OPERATION AND FUNCTIONALITY OF LIFE SAFETY, MEDICAL MONITORING OR OTHER EQUIPMENT.
BATTERIES:
The Skyhawk MiniSensor uses hermetically sealed alkaline iron disulfide batteries. Under normal conditions of use, alkaline iron disulfide batteries are non-toxic and are not hazardous waste per the United States Resource Conservation and Recovery Act (RCRA) – 40 CFR Part 261 Subpart C. Dispose of in accordance with all applicable federal, state and local regulations.
WARNING: BATTERIES CAN EXPLODE OR LEAK AND CAUSE BURNS IF INSTALLED BACKWARDS, DISASSEMBLED, CHARGED, OR EXPOSED TO WATER, FIRE OR HIGH TEMPERATURE. EXPOSURE TO THE INGREDIENTS CONTAINED WITHIN OR THEIR COMBUSTION PRODUCTS COULD BE HARMFUL.
IMPORTANT NOTICE:
The Skyhawk MiniSensor uses a 3rd-party Wireless Service which uses radio technologies and is subject to transmission and service area limitations, which may include interruptions and dropped connections caused by atmospheric, topographical or environmental conditions, cell site availability, cellular network equipment or its installation, governmental regulations, system limitations, maintenance or other conditions or activities affecting the operation of the Wireless Service. The Wireless Service and/or features may not be available in all areas. For more information, visit sky-hawk.com.
FCC AND COMPLIANCE
RADIO AND TELEVISION INTERFERENCE: This equipment has been tested and found to comply with the limits, pursuant to Part 15 of the FCC rules. These limits are designed to provide reasonable protection against harmful interference in a residential installation. This equipment generates, uses and can radiate radio frequency energy and, if not installed and used in accordance with the instructions, may cause harmful interference to radio communications. However, there is no guarantee that interference will not occur in a particular installation. If this equipment does cause harmful interference to radio or television reception, which can be determined by turning the equipment off and on, the user is encouraged to try to correct the interference by one or more of the following measures:
- Reorient or relocate the receiving antenna.
- Increase the separation between the equipment and the receiver.
- Connect the equipment into an outlet on a circuit different from that to which the receiver is connected.
- Consult the dealer or an experienced radio/TV technician for help.
Changes and Modifications not expressly approved by the manufacturer or registrant of this equipment can void your authority to operate this equipment under Federal Communications Commissions rules.
IC ES 003 : This Class B digital apparatus complies with Canadian ICES-003
LIMITED WARRANTY ON SKYHAWK miniSensor
THIS LIMITED WARRANTY GIVES YOU SPECIFIC LEGAL RIGHTS AND YOU MAY ALSO HAVE OTHER RIGHTS, WHICH VARY BY STATE, PROVINCE, OR JURISDICTION. THE LIMITED WARRANTY CAN ALSO BE FOUND ONLINE AT SKY-HAWK.COM/WARRANTY AND IN THE DOCUMENTATION WE PROVIDE WITH THE PRODUCT. WE WARRANT THAT DURING THE WARRANTY PERIOD, THE PRODUCT WILL BE FREE FROM DEFECTS IN MATERIALS AND WORKMANSHIP. WE LIMIT THE DURATION AND REMEDIES OF ALL IMPLIED WARRANTIES, INCLUDING WITHOUT LIMITATION THE WARRANTIES OF MERCHANTABILITY AND FITNESS FOR A PARTICULAR PURPOSE TO THE DURATION OF THIS EXPRESS LIMITED WARRANTY. SOME STATES DO NOT ALLOW LIMITATIONS ON HOW LONG AN IMPLIED WARRANTY LASTS, SO THE ABOVE LIMITATION MAY NOT APPLY TO YOU. OUR RESPONSIBILITY FOR DEFECTIVE GOODS IS LIMITED TO REPAIR OR REPLACEMENT AS DESCRIBED BELOW IN THIS WARRANTY STATEMENT.
WHO MAY USE THIS WARRANTY?
Pica Product Development, LLC located at address 4 Ash Street Extension, Derry, NH 03038 (“we”/ “our”) extend this limited warranty only to the consumer who originally purchased the Product (“you”/ “your”). It does not extend to any subsequent owner or other transferee of the Product.
WHAT DOES THIS WARRANTY COVER?
This limited warranty covers defects in materials and workmanship of the SKYHAWK MiniSensor (the “Product”) for the Warranty Period as defined below.
WHAT DOES THIS WARRANTY NOT COVER?
This limited warranty does not cover any damage due to:
(a) transportation;
(b) storage;
(c) improper use;
(d) failure to follow the Product instructions or to perform any preventive maintenance;
(e) modifications;
(f) unauthorized repair;
(g) normal wear and tear; or
(h) external causes such as accidents,
abuse, or other actions or events beyond our reasonable control. IN THE EVENT THAT THE PRODUCT SERIAL NUMBER IS MISSING OR HAS BEEN ALTERED IN ANY WAY, THIS LIMITED WARRANTY IS VOID AND WITHOUT EFFECT AND PICA PRODUCT DEVELOPMENT, LLC SHALL HAVE NO LIABILITY WHATSOEVER FOR DEFECTS OF SUCH PRODUCT.
WHAT IS THE PERIOD OF COVERAGE?
This limited warranty starts on the date of your purchase and lasts for ONE (1) YEAR, or as long as the product is owned by the original purchase, whichever time period first occurs (the “Warranty Period”). The Warranty Period is not extended if we repair or replace the Product. We may change the availability of this limited warranty at our discretion, but any changes will not be retroactive.
WHAT ARE YOUR REMEDIES UNDER THIS WARRANTY?
With respect to any defective Product during the Warranty Period, we will, in our sole discretion repair or replace such Product (or the defective part) free of charge. We will also pay for shipping and handling fees to return the repaired or replacement Product to you.
HOW DO YOU OBTAIN WARRANTY SERVICE?
To obtain warranty service, you must call 1-800-760-3966 or E-mail our Customer Service Department at [email protected] or provide written notice to PICA Product Development, LLC of any defective part or conditions during the Warranty Period to obtain a Return Merchandise Authorization (“RMA”) number. No warranty service will be provided without an RMA number. You may, at our discretion, be required to return the Product or provide other proof of defect. When required to return the Product, you will be provided with shipping instructions and proof of purchase must accompany shipment. You are responsible for all shipping and handling charges in connection with performance of this limited warranty. For additional RMA process details go to sky-hawk.com/warranty.
LIMITATION OF LIABILITY
THE REMEDIES DESCRIBED ABOVE ARE YOUR SOLE AND EXCLUSIVE REMEDIES AND OUR ENTIRE LIABILITY FOR ANY BREACH OF THIS LIMITED WARRANTY. OUR LIABILITY SHALL UNDER NO CIRCUMSTANCES EXCEED THE ACTUAL AMOUNT PAID BY YOU FOR THE DEFECTIVE PRODUCT, NOR SHALL WE UNDER ANY CIRCUMSTANCES BE LIABLE FOR ANY CONSEQUENTIAL, INCIDENTAL, SPECIAL OR PUNITIVE DAMAGES OR LOSSES TO ANY PERSON OR PROPERTY ARISING OUT OF THE USE OR INABILITY TO USE THE PRODUCT INCLUDING, BUT NOT LIMITED TO, PERSONAL INJURY, WRONGFUL DEATH, PROPERTY DAMAGE, LOSS OF DATA, LOSS OF REVENUE OR PROFITS, BUSINESS INJURY, BUSINESS INTERRUPTION OR ANY OTHER DIRECT OR INDIRECT DAMAGES, EVEN IF PICA PRODUCT DEVELOPMENT, LLC HAS BEEN ADVISED OF THE POSSIBILITY OF SUCH DAMAGES.
SOME STATES DO NOT ALLOW THE EXCLUSION OR LIMITATION OF INCIDENTAL OR CONSEQUENTIAL DAMAGES, SO THE ABOVE LIMITATION OR EXCLUSION MAY NOT APPLY TO YOU.
THE TERMS OF THIS LIMITED WARRANTY WILL APPLY TO THE EXTENT PERMITTED BY APPLICABLE LAW. FOR A FULL DESCRIPTION OF YOUR LEGAL RIGHTS YOU SHOULD REFER TO THE LAWS APPLICABLE IN YOUR JURISDICTION.
https://www.skyhawk.ai/knowledge-base/
PICA Product Development, LLC
4 Ash Street Extension – Unit 1
Derry, NH 03038
skyhawk.ai
Rev A10 – 11/22
Copyright © 2020 – 2022 by PICA Product Development, LLC.
All specifications are subject to change without notice.
















