REMINGTON S5860 Botanicals Straightener

Thank you for buying your new Remington® product. Please read these instructions carefully and keep them safe. Remove all packaging before use. WARNING: This appliance is hot. Keep out of reach of children at all times.
IMPORTANT SAFEGUARDS
- This appliance can be used by children aged from 8 years and above and persons with reduced physical, sensory or mental capabilities or lack of experience and knowledge if they have been supervised/instructed and understand the hazards involved. Children shall not play with the appliance. Cleaning and user maintenance shall not be done by children unless they are older than 8 and supervised. Keep the appliance and cable out of reach of children under 8 years.
L Do not use this appliance near bathtubs, showers, basins or other vessels containing water. - When the appliance is used in a bathroom, unplug it after use since the proximity of water presents a hazard even when the appliance is switched off.
- For additional protection, the installation of a residual current device (RCD) having a rated residual operating current not exceeding 30 mA is advisable in the electrical circuit supplying the bathroom*.
* Currently, the fitting in a bathroom of an electrical socket suitable or capable of operating the appliance is not permitted in the UK (see BS7671). - Burn hazard. Keep the appliance out of reach from young children, particularly during use and while cooling down.
- Never leave the appliance unattended when it is connected to the power supply.
- Always place the appliance with its stand, if any, on a heat-resistant, stable flat surface.
- If the supply cord of this unit becomes damaged, discontinue use immediately and return the appliance to your nearest authorized Remington® service dealer for repair or replacement in order to avoid a hazard.
- Do not allow any part of the appliance touch the face, neck or scalp.
- Keep the power plug and cord away from heated surfaces.
- Do not use attachments other than those we supply.
- Do not use the appliance if it is damaged or malfunctions.
- Do not twist or kink the cable, or wrap it round the appliance. Check the cord regularly for any signs of damage.
- CAUTION: Always remove the appliance from the storage pouch/sleeve before heating and allow it to fully cool before placing it back.
- This appliance is not intended for commercial or salon use.
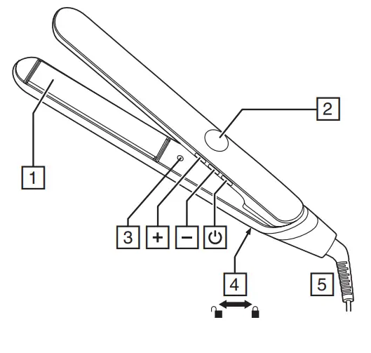
PARTS

- Advanced ceramic-coated plates
- Display
- Ion emitter
- Hinge lock
- Swivel cord
ADDITIONAL FEATURES
- Fast heat up—ready to use in 15 seconds.
- Automatic safety shut off – this unit will switch itself off if no button is pressed or it is left on after 60 minutes.
- Multivoltage: for home or abroad. At 120V times and temperatures may vary
INSTRUCTIONS FOR USE
- Before use, ensure the hair is clean, dry and tangle-free.
- For extra protection use a heat protection spray.
- Hairsprays contain flammable material – do not use while using this product.
- Section the hair prior to styling. Style the lower layers first.
- Plug the product into the mains power supply.
- When your straightener is plugged in but not turned on the lock symbol
will come on to show that it is in standby mode. - Press and hold the on/off button to switch on C.
- Start styling on lower temperatures first. Select the appropriate temperature for your hair type using the controls on the side of the product. ‘+’ increases the temperature ‘-‘ decreases the temperature.
Temperature Hair type 150°C – 170°C Thin / fine, damaged or bleached hair 180°C – 200°C Normal, healthy hair 210°C – 230°C Thick, very curly and difficult to style hair - Caution: the hottest temperatures should only be used by experienced stylers
- The digital display will stop flashing when the product is ready to use.
- Working on one section at a time, run the straightener through the entire length of the hair without stopping.
- After use, press and hold the on/off (C) button for two seconds to turn off then unplug the appliance.
Botanicare Setting
- The BotaniCare setting gently styles the hair at 185ºC.
- To activate press and hold ‘+’ for 2 seconds,
will appear on the display.
Ionic Conditioning
- During styling negative ions are released onto the hair actively reducing static for smooth, sleek results.
- It is normal for the product to create a low buzzing noise while in use as the ions are created.
Temperature Lock Function
- Set the desired temperature using the + and – buttons then lock the settings by pressing the “-” button for 2 seconds. The
symbol will appear on the temperature display. - To unlock the temperature setting, press and hold the “-” button for 2 seconds.
Memory Function
- Each time you use your styler it will automatically set itself to the last setting used.
STORAGE, CLEANING AND MAINTENANCE
Let the appliance cool down before cleaning and storing away
- Wipe all the surfaces with a damp cloth.
- Don’t use harsh or abrasive cleaning agents or solvents.
The plates can be locked together for easy storage: To lock, close the plates and slide the hinge lock to the locked
position. To unlock, slide the hinge lock to the unlocked
Opposition.
NOTE: Do not heat the unit in the locked position.
RECYCLING
To avoid environmental and health problems due to hazardous substances, appliances and rechargeable and non-rechargeable batteries marked with one of these symbols must not be disposed of with unsorted municipal waste. Always dispose of electrical and electronic products and, where applicable, rechargeable and non-rechargeable batteries, at an appropriate official recycling/collection point.
22/INT/ S5860 T22-7002517 Version 04 /22
Remington® is a Registered Trade Mark of Spectrum Brands,Inc.,
or one of its subsidiaries
Russell Hobbs Deutschland GmbH, Am Unisyspark 1, 65843 Sulzbach, Germany
Remington-europe.com
© 2022 Spectrum Brands, Inc.



















