REMINGTON Mineral Glow Straightener

Thank you for purchasing your Remington® Mineral Glow Straightener.
The advanced ceramic coating is infused with 4 naturally sourced minerals, for 3x smoother glide*.
IMPORTANT SAFEGUARDS
Warning: When the appliance is used in a bathroom, unplug it after use since the proximity of water presents a hazard even when the appliance is switched off.
When using electrical appliances, especially when children are present, basic safety precautions should always be followed, including the following:
READ ALL INSTRUCTIONS BEFORE USING
KEEP AWAY FROM WATER
DANGER – As with most electrical appliances, electrical parts are electrically live even when the switch is off.
To reduce the risk of death by electric shock:
- Always unplug it immediately after using.
- Do not place or store an appliance where it can fall or be pulled into a bath or sink.
WARNING: Do not use this appliance near bathtubs, showers, basins or other vessels containing water. - Do not place or drop into water or other liquid.
- If an appliance falls into water, “unplug it” immediately. Do not reach into the water.
For additional protection, the installation of a residual current device (RCD) with a rated residual operating current not exceeding 30mA is advisable in the electrical circuit supplying the bathroom. Ask your electrical contractor for advice.
WARNING – TO REDUCE THE RISK OF BURNS, ELECTROCUTION, AND FIRE, OR INJURY TO PERSONS.
- Your appliance must never be left unattended when plugged in to a power outlet.
- Burn Hazard. Keep the appliance out of reach of young children, particularly during use and cool down.
- This appliance is not intended for use by persons (including children) with reduced physical, sensory or mental capabilities, or lack of experience and knowledge, unless they have been given supervision or instruction concerning use of the appliance by a person responsible for their safety.
- Keep the appliance and the power cord away from the edge of table or countertops and out of reach of children and persons with reduced physical, sensory or mental capabilities.
- This appliance is not a toy. Children shall be supervised to ensure they do not play with the appliance.
- Use this appliance only for its intended use as described in this manual. Do not use attachments not recommended by Remington.
- If the supply cord is damaged, it must be replaced by the manufacturer, its service agents or similarly qualified persons in order to avoid a hazard.
- Do not use on people who are asleep.
- Never drop or insert any object into any opening of this appliance.
- Do not use outdoors or where aerosol (spray) products are being used or where oxygen is being administered.
- Do not let bare skin touch heated surfaces.
- Never place the appliance on any soft surface such as a bed, carpet or a towel. Place only on a hard, flat, heat resistant surface.
- Do not use on wet hair
- This appliance is not recommended for use on heavily treated/bleached hair, synthetic wigs or hair extensions.
SAVE THESE INSTRUCTIONS
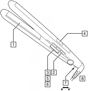
KEY PARTS
- Advanced ceramic coated plates
- On/off button ‘
’ - Temperature controls ‘+/-’
- Digital temperature display
- Temperature boost function ‘+’
- Temperature lock function ‘-’
- Hinge lock
- Swivel cord

BASIC HAIR CARE INSTRUCTIONS
The Mineral Glow Straightener is designed with advanced ceramic coated plates, infused with 4 naturally sourced minerals, for beautiful, smooth results.
- For optimal results, shampoo and condition your hair prior to styling, then dry your hair thoroughly and make sure that it is tangle free.
- For extra protection use a heat protection spray.
- Hairsprays contain flammable material – do not use while using this product.
Note: The Mineral Glow Straightener is not recommended for use on synthetic wigs or hair extensions.
CERAMIC COATED FLOATING PLATES, INFUSED WITH 4 NATURAL MINERALS
The ceramic coating is infused with opal, moonstone, tourmaline & quartz, for a smooth glide.
HIGH HEAT PERFORMANCE UP TO 230°C
Ready to use in 15 seconds with the fast heat up system.
HOW TO USE YOUR MINERAL GLOW STRAIGHTENER
- Plug the product into the mains power supply. When the styler is plugged in but not turned on, ‘—‘ will show in the digital temperature display indicating the styler is in standby mode.
- Press and hold the power on/off button to switch on.
The digital temperature display will show a flashing blue illumination and flashing bars, indicating the straightener is heating up to the default temperature.
Note: Temperature setting will default to 190ºC.
- Once the default/selected temperature has been reached, the blue illumination and bars in the digital display will become solid.
- To select a higher/lower temperature, press the ‘+’ or ‘-’ temperature increase/decrease button.
CAUTION: Take extra care when using the straightener, as it can get very hot. It is important to establish the correct temperature for your hair type prior to use, to prevent over drying or damage to your hair. If in any doubt, start with the low temperature setting first, and increase the temperature gradually by pressing the “+” temperature increase button.
- Working on one section at a time, run the straightener through the entire length of the hair without stopping.
- To switch your straightener off, press and hold the power on/off button for 2 seconds.
RECOMMENDED TEMPERATURES
| Temperature | Hair type |
| 150°C – 170°C | Thin/fine, damaged or bleached hair |
| 170°C – 190°C | Normal, healthy hair |
| 210°C – 230°C | Thick, very curly and difficult to style hair |
TEMPERATURE BOOST FUNCTION
- This straightener features a turbo boost function which will automatically boosts to the highest temperature of 230ºC. This function is designed for quick touch ups of stubborn, hard to style sections.
- Press and hold the ‘+’ temperature increase button for 2 seconds to operate.
CAUTION: The highest temperature is not suitable for every hair type. If you plan to use the boost function of 230°C, test on a small section of hair first.
TEMPERATURE CONTROL LOCK FUNCTION
This straightener has a temperature lock to prevent the selected temperature from being accidentally altered during use.
- When the selected temperature has been reached, simply press and hold the ‘–’ temperature decrease button for 2 seconds. This will lock the current heat setting and a padlock icon (
) will appear on the digital display. - To unlock the temperature lock, simply press and hold the ‘–’ temperature button for 2 seconds.
AUTOMATIC SAFETY SHUT OFF
If the straightener is not used for a period of 60 minutes (temperature is constant) it will automatically shut off.
TO STRAIGHTEN YOUR HAIR
To make styling easier, part the hair either in the middle or to the side and use clips to section your hair, top, sides and back. You may need to comb through your hair before straightening to ensure that it is tangle free.
- Start at the nape of the neck and straighten the underneath sections of hair first. Then, move to the next layers, finishing with the hair around the part line.
- Taking about 5cm section of hair at a time, firmly holding the plates together, run the straightener down through the entire length of the section of hair from roots to ends, in one smooth stroke.
- Repeat until the desired amount of straightening has been achieved.
TO CURL YOUR HAIR
- Section your hair as above.
- Take about a 5cm section of hair and firmly grip it between the plates, close to the roots.
Note: The smaller the section the tighter the curl. - Keeping tension firm, gently rotate the straightener 180° whilst pulling through the length of the hair section.
- Make sure to keep rotating the straightener all the way down to the ends.
- Removing the straightener and holding the hair length, allow the curl to spring into shape.
AUTOMATIC WORLDWIDE VOLTAGE
This product is ‘multi-voltage’, for use at home and abroad, and is designed to operate on voltages from 120V~ to 240V~. At 120V~, the times and temperatures stated in this booklet may vary.
Note: Some countries will require the use of a plug adaptor (not included)
STORAGE, CLEANING AND MAINTENANCE
Let the straightener cool down before cleaning and storing away.
- Safely store the straightener with the plates locked together.
- To lock, slide the hinge lock towards the straightener.
- To unlock, slide the hinge lock towards the cord.
Note: Do not heat the straightener in the locked position
DISPOSAL/RECYCLING
Legislation in some localities mandates that e-waste (anything with a plug, battery or cord) is disposed of through controlled recycling facilities and must not be disposed of in general household waste. For more information about recycling of electrical and battery operated appliances, please contact your local council or your local household waste disposal service.

WARNING: Do not use this appliance near bathtubs, showers, basins or other vessels containing water.
As with all electrical appliances, the power cord must be regularly checked for wear and tear. Immediately cease using this product if the power cord shows any signs of damage.
This product conforms to radio frequency interference requirements.
Any product purchased and used commercially carries a limited 90 Day Warranty.
We suggest you use local waste management centers to recycle this product at end of life.
Spectrum Brands Australia Pty Ltd and Spectrum Brands New Zealand Limited
WARRANTY AGAINST DEFECTS
In this warranty:
Australian Consumer Law means the Australian consumer law set out in Schedule 2 to the Competition and Consumer Act 2010;
CGA means the New Zealand Consumer Guarantees Act 1993; Goods means the product or equipment which was accompanied by this warranty and purchased in Australia or New Zealand, as the case may be; Manufacturer, We or us means:
- for Goods purchased in Australia, Spectrum Brands Australia Pty Ltd ACN, 007 070 573; or
- for Goods purchased in New Zealand, Spectrum Brands New Zealand Limited, as the case may be, contact details as set out at the end of this warranty; Supplier means the authorised distributor or retailer of the Goods that sold you the Goods in Australia or in New Zealand; and
You means you, the original end-user purchaser of the Goods.
- Our goods come with guarantees that cannot be excluded under the Australian Consumer Law, or the CGA. You are entitled to a replacement or refund for a major failure and compensation for any other reasonably foreseeable loss or damage.
You are also entitled to have the goods repaired or replaced if the goods fail to be of acceptable quality and the failure does not amount to a major failure. - The benefits provided by this Warranty are in addition to all other rights and remedies in respect of the Goods which the consumer has under either the Australian Consumer Law or the CGA. The original purchaser of the Goods is provided with the following Warranty subject to the Warranty Conditions:
- We warrant the Goods for all parts defective in workmanship or materials for the period of two (2) years from the date of purchase (Warranty Period). If the Goods prove defective within the Warranty Period by reason of improper workmanship or material, we may, at our own discretion, repair or replace the Goods without charge.
Warranty Conditions - The Goods must be used in accordance with the manufacturer’s instructions. This Warranty does not apply should the defect in or failure of the Goods be attributable to misuse, abuse, accident or non-observance of manufacturer’s instructions on the part of the user. As far as the law permits, the manufacturer does not accept liability for any direct or consequential loss, damage or other expense caused by or arising out of any failure to use the Goods in accordance with the manufacturer’s instructions.
- Consumable parts (such as shaver heads, cutters and foils) of the Goods are included under this Warranty only where there is a defect in workmanship or materials used.
- The warranty granted under clause 3 is limited to repair or replacement only.
- Any parts of the Goods replaced during repairs or any product replaced remain the property of the manufacturer. In the event of the Goods being replaced during the Warranty Period, the warranty on the replacement Goods will expire on the same date as for the Warranty Period on the original Goods which are replaced.
- In order to claim under the warranty granted under clause 3 you must:
(a) Retain this warranty with your receipt/proof of purchase; and
(b) Return the Goods to us at the relevant address below or to the Supplier by prepaid freight within the Warranty Period accompanied with (i) the legible and unmodified original proof of purchase, which clearly indicates the name and address of the Supplier, the date and place of purchase, the product name or other product serial number and (ii) this warranty. - This warranty is immediately void if:
(a) Any serial number or appliance plate is removed or defaced;
(b) The Goods have been serviced or otherwise repaired by a person not authorised to do so by us or where non approved replaced parts are used. - The Goods are designed for domestic use only. A limited 90-day Warranty applies to any industrial or commercial use of the Goods. The Goods must be connected to the electrical voltage requirements as specified in the ratings label located on the Goods.
- This warranty does not cover the cost of claiming under the warranty or transport of the Goods to and from the Supplier or us.
- This warranty is only valid and enforceable in Australia against Spectrum Brands Australia Pty Ltd and in New Zealand against Spectrum Brands New Zealand Limited.
Spectrum Brands Australia Pty Ltd
Locked Bag 3004
Braeside, VIC 3195
AUSTRALIA
Customer service in Australia: 1800 623 118
E-mail: [email protected]
Website: www.remington-products.com.au
Spectrum Brands New Zealand Limited
PO Box 9817
Newmarket, Auckland 1149
NEW ZEALAND
Customer service in New Zealand: 0800 736 776
E-mail: [email protected]
Website: www.remington.co.nz


















