REMINGTON CI1A119 Hair Straightener User Manual
Thank you for buying your new Remington® product. Please read these instructions carefully and keep them safe. Remove all packaging before use.
WARNING: This appliance is hot. Keep out of reach of children at all times.
IMPORTANT SAFEGUARDS
- This appliance can be used by children aged from 8 years and above and persons with reduced physical, sensory or mental capabilities or lack of experience and knowledge if they have been supervised/instructed and understand the hazards involved. Children shall not play with the appliance. Cleaning and user maintenance shall not be done by children unless they are older than 8 and supervised. Keep the appliance and cable out of reach of children under 8 years.
Do not use this appliance near bathtubs, showers, basins or other vessels containing water. - When the appliance is used in a bathroom, unplug it after use since the proximity of water presents a hazard even when the applaince is switched off.
- For additional protection, the installation of a residual current device (RCD) having a rated residual operating current not exceeding 30 mA is advisable in the electrical circuit supplying the bathroom*.
* Currently, the fitting in a bathroom of an electrical socket suitable or capable of operating the appliance is not permitted in the UK (see BS7671). - Burn hazard. Keep the appliance out of reach from young children, particularly during use and while cooling down.
- Never leave the appliance unattended when it is connected to the power supply.
- Always place the appliance with its stand, if any, on a heat-resistant, stable flat surface.
- If the supply cord of this unit becomes damaged, discontinue use immediately and return the appliance to your nearest authorised Remington® service dealer for repair or replacement in order to avoid a hazard.
- Do not allow any part of the appliance touch the face, neck or scalp.
- Keep the power plug and cord away from heated surfaces.
- Do not use attachments other than those we supply.
- Do not use the appliance if it is damaged or malfunctions.
- Do not twist or kink the cable, or wrap it round the appliance. Check the cord regularly for any sign damage.
- This appliance is not intended for commercial or salon use.
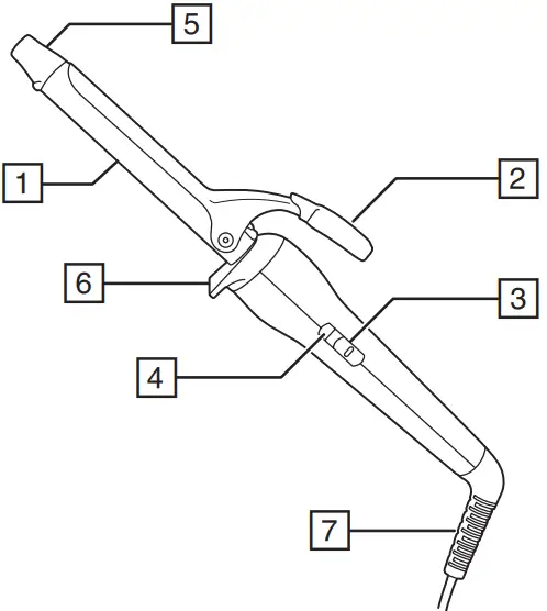
PARTS

- 19mm ceramic coated barrel
- Tong clip
- On/Off switch
- Indicator light
- Cool tip
- Stand
- Swivel cord
INSTRUCTIONS FOR USE
- Before use, ensure the hair is clean, dry and tangle-free.
- For extra protection use a heat protection spray.
- Hairsprays contain ammable material – do not use while using thi product.
- Section the hair prior to styling. Style the lower layers first.
- Plug in the styler and switch it on.
- The indicator light will stop ashing when the appliance is ready to use.
- Place a section of hair under the tong clip.
- Turn the styler to roll the hair round the barrel.
- Wait about 10 seconds for the curl to form.
- Unwind the tong and release the curl.
- Let the hair cool before styling.
- Repeat this around the head to create as many curls as desired.
- When finished, slide the switch down to turn off and unplug the appliance
CLEANING AND MAINTENANCE
- Unplug the appliance and allow to cool.
- Wipe all the surfaces with a damp cloth.
- Don’t use harsh or abrasive cleaning agents or solvents
RECYCLING

To avoid environmental and health problems due to hazardous substances, appliances and rechargeable and non-rechargeable batteries marked with one of these symbols must not be disposed of with unsorted municipal waste. Always dispose of electrical and electronic products and, where applicable, rechargeable and non-rechargeable batteries, at an appropriate official recycling/ collection point.



















