
Quick Start Guide
EC4-1200
Wi-Fi Extender

Tech Support
E-mail: [email protected]
Tel : +1 (833) 923-2468 (toll free)
Service Time: EST : 09:00-17:00/PDT: 06:00-14:00
Website: www.juplink.com
To customize your wireless network connection and other
advanced repeater settings, please go to www.Juplink.com/Support/ to download EC4-1200 firmware updates and User Guide for more information.
Operating Conditions
Working Temperature: 0~45°C / 32~113°F
Working Humidity: 10%~90% RH, non-condensing
Storage Temperature: -40~85°C / -40~185°F
Storage Humidity: 5%~95% RH, non-condensing
| Button/Interface | Description |
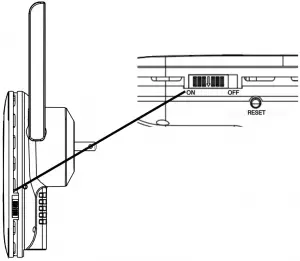
| (1) ON/OFF switch | It is a slide switch on the right side panel. Ensure the switch is turned ON before using the extender. |
| (2) RESET | Press to reset to factory default settings. |
| (3) WPS | Press to enable WPS function. For details, go to “Step 2: Configure“. |
| (4) (5) LAN 1/LAN 2 | Either can serve as a LAN or WAN port, and can be connected to your computer or another terminal device using a RJ45 cable when necessary. |
LED Status Indicators
LED | Status | Description |
(6) POWER | Off | Powered off |
| On | Powered on | |
(7) WPS | Off | WPS disabled or powered off |
On | WPS enabled and connected | |
| Flashing | WPS enabled and connection being established | |
(8) (9) 2.4G/5G Signal | Off | No Wi-Fi signal or powered off |
On | Connected but no transmissing data | |
| Flashing | Transmissing data | |
(10) Wi-Fi Signal Strength | One LED on | Weak receiving, strength below 25% |
Two LEDs on | Good receiving, strength of 50~75% | |
| Three LEDs on | Excellent receiving, strength above 75% |
What’s in the Box: EC4-1200 Wi-Fi Extender*1; Quick Start Guide*1; Troubleshooting *1
Note:
When the Extender is working in repeater mode, it does not boost your network speed, but supports wider wireless coverage, that is, you can enjoy Wi-Fi connection where your router signal may not reach directly.
Step 1: Power on


- Plug the extender into a power outlet near the router within 5 feet
- Wait for about 30sec until the 2.4G or 5G Signal LED turns solid green.
Note:
* Before using, ensure the right side switch is turned ON.
Step 2: Configure
Method 1: Using A Web Browser (recommended)
1. Connect your computer or mobile phone to the extender’s Wi-Fi network, Juplink-EC4-1200_5G or Juplink-EC4-1200.

It is recommended to disable Mobile Data on your mobile phone.
2. Run a web browser on the computer or phone connected to the extender, and enter router.juplink.com or 192.168.0.2
or ![]()
3. Username: admin / Password: admin

4. Modify SSID and password (optional).

Note:
Default SSID and password are automatically copied from those of the router for both 2.4GHz and 5GHz networks.
If you wish to modify these settings, de-select Auto. Copy From Router and then enter the new SSID and password for the extended Wi-Fi network(s).
5. Select a Wi-Fi network (SSID) you want to extend. (Note: It may takes a few seconds to scan the network.)

6. Scroll to the lower part of the page, and enter the password of the Wi-Fi network you want to extend.

7. Scroll to the bottom of the page and Click “Save&Apply”.
![]()
Wait until the Change setting successfully! page appears.
OR
Method 2: Using WPS
- Press the WPS button on your router, and then press the WPS button on the extender within 2 minutes.
- Wait for about 20sec until the 2.4G/5G Signal LED turns solid green.

Note: Some ISP gateways disable the WPS function by default. If the WPS method fails, please use Method 1.
Step 3: Relocate

- For better performance, plug the extender into an outlet about halfway between the router and the Wi-Fi dead zone.
The location you choose must be within the range of your existing Wi-Fi network. - Wait until the 2.4G/5G Signal LED turns solid green. or the Wi-Fi Signal Strength Indicator shows at least Two LEDs on.
FCC Statement
This equipment has been tested and found to comply with the limits for a Class B digital device, pursuant to part 15 of the FCC Rules. These limits are designed to provide reasonable protection against harmful interference in a residential installation. This equipment generates, uses and can radiate radio frequency energy and, if not installed and used in accordance with the instructions, may cause harmful interference to radio communications. However, there is no guarantee that interference will not occur in a particular installation. If this equipment does cause harmful interference to radio or television reception, which can be determined by turning the equipment off and on, the user is encouraged to try to correct the interference by one or more of the following measures:
-Reorient or relocate the receiving antenna.
-Increase the separation between the equipment and receiver.
-Connect the equipment into an outlet on a circuit different from that to which the receiver is connected.
-Consult the dealer or an experienced radio/TV technician for help.
Operation is subject to the following two conditions:
(1)This device may not cause harmful interference.
(2)This device must accept any interference received, including interference that may cause undesired operation.
Radiation Exposure Statement
(1)This device complies with FCC radiation exposure limits set forth for an uncontrolled environment and it also complies with Part 15 of the FCC RF Rules.
(2)This equipment should be installed and operated with minimum distance 20 cm between the radiator and your body.
Caution
Any changes or modifications not expressly approved by party responsible for compliance could void the user’s authority to operate this equipment. This transmitter must not be co-located or operating in conjunction with any other antenna or transmitter.
Trouble Shooting
EC4-1200 Wi-Fi Extender
Juplink by VANIN
Q1: Why is my Power light off and the extender not working?
A1: Please ensure the right side switch is ON
Q2: How to reset the repeater?
A2: When the POWER LED of the repeater is solid on, press the RESET button on the repeater and hold for 8 seconds and then release. After the POWER LED turns solid on, the repeater is restored to the factory settings.
Note: Please ensure pressing the RESET button for 8 seconds after the device is powered on.
Q3: Why does the repeater fail to find the Wi-Fi network of my router/modem?
A3: The router may be encrypted with WEP or WPA/WPA (Enterprise). Change the encryption type of the router to WPA-PSK, and try scanning again.
Q4: Why does it fail to log in to Web page of the repeater?
A4: Please check if the situation is before or after network extension.
a. Before extension
• Please confirm you are connected to the correct SSID (wireless network) of the repeater
(see the name of its wireless network on the product label).
• Check if the IP address that entered in the address bar is correct (192.168.0.2).
• If you are unable to log in, please close the browser (not just return) and open a new page to try again.
If it still failed, please clear all the browser cache or reboot your mobile device.
• If none of the above solutions work, it is recommended to restore factory settings or recharging the plug in the socket, then try connecting and logging in again.
b. After extension
Method 1:
• Make sure that you are connected to the correct SSID (wireless network) of the repeater. If the SSID of the repeater is the same as the uplink wireless network (SSID of the router), please check if you are connected to the wireless network of the repeater.
• Then log in to this IP address: 192.168.0.2
• If it failed, please cut off the power supply and re-connect the power supply. Then try logging in to the above IP address after the repeater extends automatically.
• If it still does not work, please replace with another laptop or mobile phone to log in.
Method 2:
• Make sure you are connected wirelessly (either to the router or to the repeater), and then log in to the Web page of the router;
• Open the Client List to view connected devices. After finding the MAC address (see product label) of the repeater, you can get the IP address of repeater assigned by the router.
• Open a browser, enter the IP address in the address bar, and then you can access the Web page of the repeater.
Method 3: (recommended)
• Download device firmware file v1.0.2 from juplink.com and conduct firmware upgrade.
• After reset, try logging in to domain name: router.juplink.com
Q5: Why can l find someone else’s Wi-Fi network, but not mine?
A5: • Please check if your mobile device can be connected wirelessly to the repeater in the same place, as the signal in this place may be poor.
• Check if the encryption mode of the uplink router is WEP. Only no encryption, WPA, WPA2 and mixed mode are supported by this repeater.
• Check on your mobile device to see if the uplink wireless network is hidden.
Q6: Why does it always prompt for failure during extension?
A6: • Check if the wireless signal indicator is green or off. Off indicates extension failure.
• If you can’t find the uplink wireless network during extension, please try the following:
(1) Set the SSID of the router and that of the repeater to combinations of numerals and letters.
(2) Move the repeater closer to the router ( within 1ft is recommended );
(3) Ensure that the encryption mode of the uplink wireless network is not WEP. Only no encryption, WPA-PSK, WPA2-PSK or mixed mode of the above is supported by the repeater.
(4) Ensure that the uplink wireless network is not turned off or hidden.
(5) Log in to the Web page of the router to check if any restriction is made, such as MAC filter, blacklist, etc.
(6) Ensure that the correct password of the uplink router is entered during extension.
(7) Modify the wireless network name and password of the uplink router, and reset the repeater.
Q7: How do I know if the extension is successful?
A7: (1) Check if there is the default SSID. If yes, the extension fails.
(2) Check the status of the wireless signal indicator. On or flashing indicates successful extension, while off indicates extension failure.
(3) Log in to the Web page of the repeater to see if it is in the extended state.
• If you are sure that the extension is successful, keep the antennas upwards and in parallel with the antennas of the router. If not, please adjust their angle.
• Try putting the repeater and router closer, and check if the indicator becomes solid green.
Q8: Why is there no Internet access after extension?
A8: • Check if the extension is successful (by observing the indicator and Web page).
• Disconnect the device that is without Internet access, and connect again to see if it becomes available.
• Log in to the Web page of the repeater and check if the network signal of the uplink router is too weak.
It is recommended to put the repeater in a place where the signal strength is at least between 40%-50%.
• When you are connected to the wireless network of the repeater, check if its SSID is assigned by the router.
• Reset the repeater and try connecting another wireless network.
Q9: Why is the extended signal poor?
A9: After extension, do not put the repeater too close to the router.
Put the repeater in the middle of the router and the farthest place where you want to be connected.
If you want to extend the wireless network horizontally, ensure that the repeater antennas are positioned upwards, and in parallel to those of the router.
If it is for duplex house, both the antennas of the repeater and router should be tilted and remain in parallel.
The best performance distance is 5 ~ 30 ft.
Q10: Why is the wireless connection to the repeater network interrupted some time after the extension is successful?
A10: • Check the Web page for any restriction or blacklist setting.
• Clear cache of the extended network and then reconnect.
• Reset the repeater and set up again.
• After the first successful setup, the device restarts to accommodate the channel of the extended network.
Wait for about 1 minute before reconnecting.
Q11: Why does a mobile device lose connection to the repeater after extension?
A11: If the signal indicator becomes off, the repeater is disconnected from the router.
• Please check if any changes have been made on the repeater or the mobile device.
• Access the Web page of the router to view the operation log, and check the status of the uplink router.
• If the router is normal, adjust the location and direction of the repeater.
Q12: Why is the network not available after extension?
A12: (1) Check the location of the repeater. Do not put it at a corner.
(2) If the location is normal, please reset the repeater, and try connecting the repeater to the router again.
(3) Reset the repeater.
Q13: Why does the wireless network show strong signal strength but low speed after extension?.
A13: Check the signal strength indicator on the physical housing of the repeater.
(1) One LED on: weak receiving signal, strength below 25%.
(In this case, it is recommended to put the repeater closer to the router, and keep their antennas in parallel.)
(2) Two LEDs on: Good receiving signal, strength between 50~75%.
(3) Three LEDs on: Excellent receiving signal.
• In general, the repeater works in its best performance when the strength of signal that the repeater receives is between 50% and 75% (when the Web page shows the signal of 3 bars).
• Check the network speed when your mobile device connects to the router directly at that position.
If the wireless network speed of the router is similar to that of the repeater, the connection is normal.
When the wireless network speed of the router is faster than that of the repeater, please check the following:
(1) Check the location of the repeater. Do not put it at a corner.
(2) Check if the antennas of the repeater and router are in parallel. Antennas aligned in parallel ensures better connection.
(3) If it still does not work, reset the repeater, and try connecting the repeater to the router again.
(4) Reset the repeater.
Q14: Why does single frequency extended state after successful extension?
A14: The signal may be hidden. Please check if the encryption mode is WPA, WPA2, or mixed of the above; if the encryption key contains special characters; if the signal channel is changed. Then, try extending the wireless network again.
Q15: Why can’t I extend Comcast, Verizon router signal?
A15: The encryption method used by the Comcast, Verizon router may not be recognized by EC4-1200 Wi-Fi Extender. Try the following solutions to solve the problem:
(1) Log in to Comcast, Verizon router and enter the wireless setting page.
(2) Change the wireless encryption method to WPAWPA2. or WPA-PSKWPA2-PSK.
(3) Confirm the setting and use EC4-1200 Wi-Fi Extender to search the router signal
FCC Statement
This equipment has been tested and found to comply with the limits for a Class B digital device, pursuant to part 15 of the FCC Rules. These limits are designed to provide reasonable protection against harmful interference in a residential installation. This equipment generates, uses and can radiate radio frequency energy and, if not installed and used in accordance with the instructions, may cause harmful interference to radio communications. However, there is no guarantee that interference will not occur in a particular installation. If this equipment does cause harmful interference to radio or television reception, which can be determined by turning the equipment off and on, the user is encouraged to try to correct the interference by one or more of the following measures:
-Reorient or relocate the receiving antenna.
-Increase the separation between the equipment and receiver.
-Connect the equipment into an outlet on a circuit different from that to which the receiver is connected.
-Consult the dealer or an experienced radio/TV technician for help.
Operation is subject to the following two conditions:
(1)This device may not cause harmful interference, and
(2)This device must accept any interference received, including interference that may cause undesired operation.
Radiation Exposure Statement
(1)This device complies with FCC radiation exposure limits set forth for an uncontrolled environment and it also complies with Part 15 of the FCC RF Rules.
(2)This equipment should be installed and operated with minimum distance 20 cm between the radiator & your body.
Caution
Any changes or modifications not expressly approved by party responsible for compliance could void the user’s authority to operate this equipment. This transmitter must not be co-located or operating in conjunction with any other antenna or transmitter.


















