KUUMA 502574 Marine Water Heater

INTRODUCTION
Thank you for selecting a Kuuma Products Marine Water Heater. Your unit was carefully inspected and tested at our factory. We take pride in producing one of the finest Water Heaters for marine use. Please take the time to read this manual carefully; many of its instructions are essential to the safe operation of your unit. Because of the continuing refinement of our product designs, your water heater may possess features not discussed in the manual. We have tried to supply all the information you might need, so please take time to read this manual before using your Water Heater. Unauthorized modification of this product is strongly discouraged and will void the warranty. However, we do encourage you to perform the maintenance outlined in this manual. Proper maintenance is essential to the continuing safety and performance of this product. Please make note of the model and serial number of your Water Heater for future reference.
Model # ____________ Serial # __________________
IMPORTANT SAFEGUARDS
THOROUGHLY READ AND UNDERSTAND ALL INFORMATION PRESENTED IN THIS MANUAL PRIOR TO USING THIS APPLIANCE. Safety precautions are essential when any electrical equipment is involved. These precautions are necessary when using, storing, and servicing. Using this equipment with the respect and caution demanded will reduce the possibilities of personal injury or property damage. This manual contains important information about the installation, operation and maintenance of this product. General safety information is presented in these first few pages and is also located throughout the manual. Particular attention should be paid to information accompanied by the safety alert symbols:
Retain this manual for future reference.
WARNING: Fire Hazard
Do not smoke or have any flame near an open faucet If you have not used this water heater for more than two weeks, hydrogen gas may have been produced within the hot water system. To reduce the risk of injury, open the hot water faucet that is highest in the system (generally the galley faucet) for several minutes before you use any electrical appliance connected to hot water system. If hydrogen is present, you will probably hear sounds like air escaping through the pipe as water begins to flow. Allow the water to flow until the sounds stop.
CAUTION: Product Damage
Small electric currents can move between boat and shore through the safety ground wire in the shore cord, causing galvanic damage to your water heater. To prevent galvanic damage, this product should be used in conjunction with a galvanic isolator. These devices are inexpensive and easily installed. Galvanic corrosion is not covered by warranty.
INSTALLATION Mounting & Plumbing
- Position the water heater on structural floor such that Temperature and Pressure Relief Valve will not discharge on to live electrical components or wiring. Locate at or below engine level. Do not install water heater on an incline or upside down.
- Secure to flooring through the front and rear, or left and right side hold down brackets.
- Using the appropriate 1/2 inch NPT fittings, connect both the Hot Water Out and Cold Water In ports. It is recommended that a suitable plastic fitting be used.
Always use a PTFE based pipe sealant on threads when connecting hot and cold water fittings. - Turn on the water supply. Completely fill the hot water system by opening each of the hot water faucets to allow the trapped air to escape.
- If using engine heat exchanger, connect 5/8 inch diameter SAE 20R3 or equivalent coolant hose to heat exchange tubes at rear or front of water heater. Use a SAE J536 type E hose clamp or equivalent.
- Refill the engine coolant system with the manufacturer’s recommended coolant. For proper operations of both the engine and water heater all air must be bled from the coolant system.
- Check the system for leaks.
CAUTION: Product Damage
Do not use raw water or any chemical that is not PH neutral in the heat exchanger circuit. Damage caused by a chemical or salt reaction is not covered under warranty.

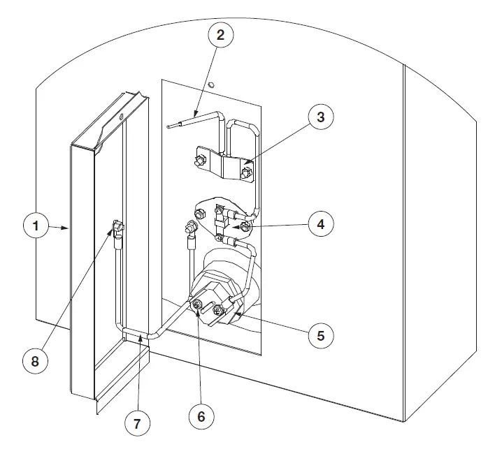
- Cold Water In
- Drain Valve
- Heat Exchanger Inlet/Return
- Heat Exchanger Return/Inlet
- Temperature and Pressure (T&P) Relief Valve
- Hot Water Out

Electrical Connections
CAUTION: Electric Shock Hazard
Connecting the electrical supply must be performed by a qualified electrician.
The electrical supply shall be armored cable or conduit per NEC code ANSI/NFPA 70. Conductors must be copper with a minimum capacity of 15 amps.
For marine installation, use conductors specified by sub chapter S, part 183.425, table 5 of chapter 1 – Coast Guard Department of Transportation Code of Federal Regulations Title 33.
WARNING: Explosion Hazard (marine installation only)
Locate circuit breaker(s) and/or remote switches in an area where ignition protection is not required.
- Remove the Control Access Cover. Wiring diagram is located on the inside of access cover.
- Install an appropriate strain relief in Control Access Cover and press voltage supply wires through the strain relief. The type of strain relief is dependent on the type of cable or conduit used.
- Connect the elecrical supply: 120V and L1&N 220/240V Models: Connect the hot wire to the Line-In Pigtail of the High Temp Limiter. Connect the neutral wire to the unused screw terminal on the Heating Element. See diagram below. L1&L2 220/240V Models: Connect each voltage leg (L1 & L2) to the Line-In Pigtails (2) of the High Temp Limiters. See diagram below.
- Connect the ground wire to the Ground Connection Screw on the inside of the access cover. Do not use a switch in the grounding circuit.
- Verify all connections are tight and that they provide good continuity.
- Reinstall the Control Access Cover and secure the strain relief.

- Control Access Cover
- Line-In Pigtail (Hot)
- High Temp Limiter
- Thermostat
- Heating Element (1500W)
- Neutral Connection Terminal
- Ground Wire
- Ground Connection Screw
USE COPPER CONDUCTORS ONLY

OPERATION
When the water heater is operating on AC power, the water temperature is regulated by a thermostat to 140°F. The thermostat is not adjustable or field serviceable.
In the event of a thermostat or element failure, the water heater is equipped with a high temp limiter that interrupts the circuit if the tank exceeds 194°F.To reset the high temp limiter, allow the water to cool to below 194°F, switch the power supply off (usually at the breaker) for 20 seconds, and switch the power supply back on. This should reset the limiter.
WARNING: High Temperature
When the water heater is operating from the engine heat exchanger, the water temperature in the tank will approach the temperature of the engine coolant. This can be in excess of 170°F.
If desired, an external thermostatic mixing valve can be installed to limit the water temperature at the taps. In addition to the high temp limiter, the water heater is also equipped with a temperature and pressure (T&P) relief valve that complies with ANSI Z21.22, Relief Valves for Hot Water Supply Systems. This valve is designed to open if the water inside of the tank exceeds its rated temperature and/or pressure rating (listed on the ID plate under the handle).
WARNING: Scalding Hazard
Discharging water above 120°F can cause severe burns or death.
WARNING: Explosion Hazard
The T&P valve is not serviceable. Tampering with the valve will void the warranty and could create an explosion hazard. Do not place a valve, plug or reducing coupling in the outlet port of the T&P valve. If you use a discharge line, do not use a reducing coupling or any other restriction that is smaller than the outlet of the relief valve. Restricting the outlet of this valve could result in dangerously high pressure within the hot water system. The discharge line must terminate within 6 inches of the floor or any distance beneath the structural floor.
During normal operation the water within the tank will expand when heated. This expansion results in an increased pressure within the closed hot water system. The T&P valve may occasionally weep to relieve the excess pressure. This is normal and does not represent a faulty valve. The water heater tank is designed with an internal air pocket at the top of the tank to reduce the possibility of dripping. In time, the expanding water will absorb this air and it must be restored. To restore the air pocket, follow these steps:
- Disconnect the power supply to the water heater.
- Let water cool or let faucet run until cool.
- Turn off the main water supply.
- Open the hot water faucet closest to the water heater.
- Pull the discharge handle of the T&P valve and allow water to flow until it stops.
- Allow the T&P valve to close.
- Close the faucet.
- Turn water supply back on.
- Restore the power to the water heater.
- Turn on water heater and test.
- Perform this procedure least once a year or whenever the T&P valve begins to weep. For a permanent solution, we recommend one of the following:
Install a pressure relief valve in cold water inlet line to water heater and attach a drain line from valve to through-hull fitting. Set to relieve at 100-125 PSI. Install a diaphragm-type expansion tank in cold water inlet line. Tank should be sized to allow for expansion of approximately 15 oz of water and pre-charged to a pressure equal to water supply pressure. These devices can be obtained from a plumbing supply center.
MAINTENANCE
Regularly check the system for leaks. At least once a year disconnect the power to the water heater, allow water to cool, and manually operate the T&P valve discharge handle. Verify that the discharge port is clear of obstruction and that it flows freely.
Winterizing & Flushing Instructions
To insure the best performance of your water heater and add to the life of the tank, periodically drain and flush the tank. It is also recommended that a drain-and-flush be performed before long-term storage or freezing weather.
- Disconnect the power supply to the water heater.
- Turn off the main water supply.
- Drain water heater tank by opening the drain valve. If desired, a garden hose can be connected to the drain outlet to run the water outside the boat.
- Open the faucet that is highest in the system to allow air to displace the water. It may also help to open the T&P valve once the system has drained to water heater level.
- Due to the placement of the drain valve, approximately two quarts of water will remain in the tank. Sediment collects in this remaining water. To remove it, flush the tank with either air or water. Whether using air or water pressure, it may be applied through the water inlet or outlet. The pressure will force out the remaining water and sediment.
- Close the drain valve, faucet, and T&P valve. The approximately two quarts of water remaining in the tank after draining will not cause damage to the tank should freezing occur. However, you can add non-toxic, propylene-glycol based anti-freeze that is designed for use in potable water systems. Always follow the manufacturer’s instructions.
LIMITED WARRANTY
Camco Manufacturing warrants this product to be free from defects in material and workmanship under normal use and service conditions for 12 months from the date of first purchase. Camco’s liability is limited solely to the replacement of any defective product returned to us. To the extent allowable by law, Camco makes no other warranty; either expressed or implied, nor assumes any liability for incidental or consequential damages resulting from the use of this product or for breach of warranty of merchantability or fitness for a particular purpose. Submit warranty claims to Camco Manufacturing, 121 Landmark Drive, Greensboro, NC 27409.
Retain this manual for future reference.
Camco Manufacturing, Inc. 121 Landmark Drive, Greensboro, NC 27409
www.camco.net / [email protected]

















