Operating Instructions
3.5kW Portable Air Conditioner
Model: GCPAC350
General Care and Safety Guide
Thank you for choosing this Goldair product. This Goldair appliance has been designed and manufactured to high standards of engineering and with proper use and care, as described in this leaflet, will give you years of useful service. Please read these instructions carefully and keep them for future reference.
- This appliance is not intended for use by persons (including children) with reduced physical, sensory or mental capabilities, or lack of experience and knowledge unless they
have been given supervision or instruction concerning the use of the appliance by a person responsible for their safety. - Children should be supervised to ensure that they do not play with the appliance.
- If the supply cord is damaged, it must be replaced by the manufacturer, its service agent, or similarly qualified persons in order to avoid a hazard.
- Ensure that the fan is switched off from the supply mains before removing the guard.
- Use only the voltage specified on the rating plate of the appliance.
- Keep all objects at least 1 Metre from the front, sides, and rear of the appliance
- This appliance is intended for household use only and not for commercial or industrial use.
- Use this appliance only as described in this manual. Any other use is not recommended by the manufacturer and may cause fire, electric shock, or injury.
- The common cause of overheating is deposits of dust or fluff in the appliance. Ensure these deposits are removed regularly by unplugging the appliance and vacuum cleaning the air vents and grills.
- Always unplug appliances when not in use.
- When the appliance has been unpacked, check it for transport damage and ensure all parts have been delivered. If parts are missing or the appliance has been damaged, contact the Goldair Customer Services Team.
- If your appliance does not work or is not working properly, contact the place of purchase.
Repair work on the appliance by unqualified persons can cause serious risk to the user. - Ensure hands are dry before handling the plug or the main unit.
- Carry out regular checks of the supply cord to ensure no damage is evident.
- Ensure that the cord is fully extended (not coiled) while in use.
- Avoid contact with the moving parts. Keep hands, hair, and clothing, away from the blade of the fan during operation to reduce the risk of injury to a person and/or damage to the unit.
- Switch off and use handles provided when moving.
- It is recommended that this fan is plugged directly into the wall socket.
- A correctly specified, undamaged extension cord may be used with this fan provided it is used in a safe manner.
- Never place an appliance close to a radiant heat source.
- Never operate in areas where petrol, paint, or other flammable liquids are used or stored.
- Never use the appliance to dry clothes.
- Never insert or allow foreign objects to enter any ventilation or exhaust opening, as this may cause an electric shock, fire, or damage to the appliance.
- Never use abrasive cleaning products on this appliance. Clean with a damp cloth (not wet) and rinsed in hot soapy water only. Always remove the plug from the mains supply before cleaning.
- Never connect the appliance to the main supply until completely assembled and adjusted.
- Never remove the plug from the power socket until the appliance has been switched off.
- Never remove the plug from the power socket by pulling cord – always grip plug.
- Never twist the kink or wrap the cord around the appliance, as this may cause the insulation to weaken and split. Always ensure that all cord has been removed from any cord storage area and is unrolled before use.
- Never use this appliance in the immediate surroundings of a bath, a shower, a swimming pool, or other liquids. The appliance must not be immersed in any liquids.
- Due to the risk of injury, never use this appliance for any purpose other than its intended use. This appliance is intended for use in household and similar applications such as staff kitchen areas in shops, offices, and other working environments; farm houses, by clients in hotels, motels, bed and breakfast type environments, and other residential type environments
- Never use this appliance outdoors.
- Never operate the appliance with a damaged cord or plug, after it malfunctions, or if it has been damaged in any manner. Has the appliance been checked and repaired by a qualified electrician if repair is necessary?
- Never place the unit in wardrobes or other enclosed spaces as this may cause fire hazards.
PORTABLE AIR CONDITIONER
MODEL: GCPAC350
SUPPLY:220-240VAC 50Hz
RATED INPUT COOLING:1357W
RATED INPUT HEATING:1020W
COOLING CAPACITY:12000Btu/h (3.53kW)
HEATING CAPACITY:880013tufb (2.58kW)
REFRIGERANT: R290 1 230g
PERMISSIBLE EXCESSIVE OPERATING PRESSURE: Discharge 1.8MPa
MAX ALLOWABLE PRESSURE: Suction 0.6Mpa
AIRFLOW: 3.0MPa
APPROVAL: 400m31h
IPXO QC PASSED: EESS-200287-0
MADE IN CHINA
DO NOT COVER,
The appliance is filled with flammable gas R290.
Before using the appliance, read the manual.
Before installing the appliance, read the installation manual.
For any repairs required, contact the nearest authorized Service Centre and strictly follow the manufacturer’s instructions only.
Caution, risk of fire
WARNING: Appliance shall be installed, operated, and stored in a room with a floor area larger than 11m2.
Do not use any means to accelerate the defrosting process or to clean, other than those recommended by the manufacturer.
The appliance shall be stored in a room without continuously operating ignition sources.
(example: open flames, an operating gas appliance, or an operating electric heater).
Do not pierce or burn.
Be aware that refrigerants do not have any odor.
Components


Installation
NOTE: The air-conditioner should be installed on a flat surface with at least 300mm clearance all around, including from the top of the unit as it is important that the air outlet
is not blocked. The power supply must be nearby.
WARNING: THIS APPLIANCE MUST BE INSTALLED, OPERATED AND STORED IN A ROOM WITH A FLOOR AREA LARGER THAN 11m2
Do not install and use the appliance in the bathroom or other humid environments.
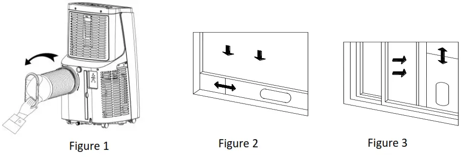
Install the heat pipe assembly (as shown in Figure 1).
Screw the heat pipe assembly (exhaust fitting end) into the exhaust port on the rear panel(counterclockwise). 
Install the window sealing plate assembly
Half-open the window and mount the window sealing plate assembly to the window (as shown in Figure 2 and Figure 3); the assembly can be placed in the horizontal and vertical directions.
Pull various components of the window sealing plate assembly open, adjust their opening distance to bring both ends of the assembly into contact with the window frame, and fix various components of the assembly.
You may require a glazier to cut a hole in your window pane to fit the exhaust hose fixing clip.
Important Notice
The length of the exhaust hose shall be 280~1,500mm, and this length is based on the specifications of the air conditioner. Do not use extension tubes or replace it with other
different hoses, or this may cause a malfunction. Exhaust must be unobstructed; otherwise, it may cause overheating. 
Control Panel and Remote Control
This Portable Air Conditioner is designed to be operated in cooling mode, heating mode or dehumidifying mode. When switching between these functions keep an interval of at least 3 minutes between each ON/OFF.
Allow the refrigerant to settle by leaving the appliance to stand for two hours after transport or after the unit has been on its side.
Ensure the unit is in the OFF setting before connecting it to the main supply.
When the appliance is powered on for the first time, it will beep, and then the unit will be on standby.
Power Button
Press the button to turn the unit ON and OFF.
Mode Button
Press the button to switch between Cooling → Dehumidification → Fan → Heating modes.
Fan Speed Button
In cooling, fan, or heating mode press the button to select between high, medium, or low fan speed operation. In dehumidification mode, the fan will automatically be set to low-speed operation. This cannot be changed.
Temperature Setting
To set the desired temperature, press UP or DOWN button. The range is 16-31 °C.
This function is not available in fan or dehumidification mode.
Simultaneously press both buttons to switch between Celsius (℃) and Fahrenheit (℉).
Timer Setting
The timer can be set to turn the unit ON or OFF from 1-24 hours.
To set the timer to turn the unit OFF, press the TIMER button while the unit is operating and set the desired number of hours before the unit turns off.
To set the timer to turn the unit ON, press the TIMER button while the unit is on standby and set the desired number of hours before the unit turns on.
Sleep Mode
In the Cooling/Heating Mode, Press the UP and Fan buttons together to turn on sleep mode.
The unit will work in Energy-Saving and quiet mode. In the Cooling sleep mode, the temperature will rise 1°C after one hour and rise 1°C after another one hour, and then stay the same. In Heating sleep mode, the temperature will decrease 1°C after one hour and decrease 1°C after another one hour, and then stay the same.
Note: You can not use sleep mode in the Dehumidifying or Fan modes.
Operating your Air Conditioner
REMOTE CONTROL
The remote control has the same functions as the unit control panel.

Power Button
Press the button to turn the unit ON and OFF.
Mode Button
Press the button to switch between Cooling → Dehumidification → Fan → Heating modes.
Fan Speed Button
In cooling, fan, or heating mode press the button to select between high, medium, or low fan speed operation.
In dehumidification mode, the fan will automatically be set to low-speed operation. This cannot be changed.
Temperature Setting
To set the desired temperature, press the UP or DOWN button.
The range is 16-31°C.
This function is not available in fan or dehumidification mode.
Simultaneously press both buttons to switch between Celsius (℃) and Fahrenheit (℉).
Timer Setting
The timer can be set to turn the unit ON or OFF from 1-24 hours.
To set the timer to turn the unit OFF, press the TIMER button while the unit is operating and set the desired number of hours before the unit turns off.
To set the timer to turn the unit ON, press the TIMER button while the unit is on standby and set the desired number of hours before the unit turns on.
Sleep Mode
In the Cooling/Heating Mode, Press the SLEEP button to turn on the sleep mode. The unit will work in energy-saving and quiet mode. In sleep mode, the temperature will rise 1°C after one hour and rise 1°C after another one hour, and then stay the same.
Note: You can not use sleep mode in the Dehumidifying or Fan modes.
Press to switch between Celsius (℃) and Fahrenheit (℉).
Press to activate the swinging louver.
Care and Maintenance
Self Evaporating System
As part of the air conditioning process, water is extracted and builds up on the evaporator surface. The water will drop down from the evaporator to the bottom of the unit. There is a spray motor at the bottom that sprays the water to the surface of the condenser. As the condenser surface temperature is very high, when the water touches the condenser surface, it will evaporate from water to air and be expelled out through the exhaust hose.
Water Full Indicator
If for some reason not all the water evaporates, some may stay in the bottom of the unit. It only holds about 1L and this can be emptied through the drain at the bottom of the unit.
Manual Drainage
The unit will stop once it has filled with water. Turn off the unit and unplug the power plug.
Move the unit carefully, so as not to spill the water in the water pan at the bottom of the body.
Find a place to drain the water or place a bucket below the water outlet on the back of the unit.
Unscrew the drainage cover and unplug the water plug, the water will automatically flow into the water container.
During drainage, the body can be tilted slightly backward.
When the water is discharged, replace the water plug, and retighten the drainage cover.
Allow the unit to sit for at least 5 minutes before turning it back on.
Continuous Drainage
The unit can be operated with permanent drainage but you need to be able to allow the water to drain outside via gravity.
When the appliance is in Dehumidify mode, the continuous drainage hose needs to be inserted into the top drain hole.
Remove the water plug to allow the hose to be inserted.
When the appliance is in Cooling or Heating mode, the continuous drainage hose needs to be inserted into the water tank drain hole at the bottom. Remove the water plug to allow the hose to be inserted.
Do not use this Air Conditioner with a programmer, remote-control system, separate timer, or any other device that switches the Air Conditioner on automatically.
CARE AND CLEANING
Clean the upper filter screen frame
- Clasp the wedging block of the EVA filter screen frame with your hands. Force down from the outside to remove the EVA filter screen frame. Unscrew four screws fixing the EVA filter screen and the rear housing to remove the EVA filter screen (as shown in the below figure)
- Put the EVA filter screen into warm water with neutral detergent (about 40 ℃ / 104 ℉) and dry it in the shade after rinsing clean.
Clean the lower filter screen frame - Hold the handle of the CON filter screen frame, and pull it outward gently to remove it.
- Put the CON filter screen into warm water with neutral detergent (about 40 ℃) and dry it in the shade after rinsing clean.

NEVER USE A UNIT WITHOUT AN AIR FILTER.
The exterior may be cleaned with a soft, dry cloth. If the device is extremely dirty wipe the device with a slightly damp (not wet) cloth. Never spray the device with water.
DO NOT immerse the unit in water and never allow water to enter the motor housing.
DO NOT use harsh chemicals to clean the unit.
Do not attempt to dismantle the Air Conditioner. There are no user-serviceable parts. For service or repair, contact an authorized electrical service technician.
STORAGE
To store the unit, remove the plug from the socket. Remove the rubber plug from the drainage hole at the bottom of the unit, and connect a drain hose to the lower fixing clip. All the water in the water tank will drain out. Allow the Container and the Air Conditioner to dry completely. Clean the air filter. Refit the rubber plug. Store the device in a dust-free location, preferably covered with a sheet of plastic.
Troubleshooting
| Problems | Reasons | Solutions |
| There is no electricity. | Turn it on after connecting it to a socket with electricity. | |
| The water-full indicator will flash. | Discharge the water inside. | |
| The ambient temperature is too low or too high | Recommend to use the machine in at the temperature of 7-35 °C (44-95 °F). | |
| The air conditioner does not work. | In cooling mode, the room temperature is lower than the set temperature; in heating mode, the room temperature is higher than the set temperature. | Change the set temperature. |
| In dehumidification mode, the ambient temperature is low. | The machine is placed in a room with an ambient temperature of greater than 17 °C (62 °F). | |
| The cooling or heating effect is not good | There is direct sunlight. | Pull the Curtain. |
| Doors or windows are open; there are a lot of people; or in cooling mode, there are other sources of heat. | Close doors and windows. | |
| The filter screen is dirty. | Clean or replace the filter screen. | |
| The air inlet or outlet is blocked. | Clear obstructions. | |
| Loud Noise | The air conditioner is not placed on a flat surface. | Put the air conditioner in a flat and hard place (to reduce noise). |
| The compressor does not work. | Frost production starts. | Wait for 3 minutes until the temperature is lowered, and then restart the machine. |
| Overheat protection starts. | ||
| The remote control does not work. | The distance between the machine and the remote control is too far. | Move the remote control closer to the air conditioner, and make |
| The remote control is not aligned with the direction of the remote control receiver. | sure that the remote control. directly faces the direction of the remote control receiver. | |
| Batteries are dead. | Replace batteries. | |
| Displays ‘El’. | The room temperature sensor is abnormal. | Check the room temperature sensor and related circuitry. |
| Displays ‘ET | The pipe temperature sensor is abnormal. | Check the pipe temperature sensor and related circuitry. |
PROOF OF PURCHASE
To receive a warranty retain the receipt as proof of purchase. (Refer to the back of the booklet).
SUPPORT AND TECHNICAL ADVICE
| Goldair – New Zealand Monday – Friday 8 am-5 pm Phone +64 (0)9 917 4000 Phone 0800 232 633 [email protected] | Goldair – Australia Monday – Friday 8 am-5 pm Phone +61 (0)3 9336 4423 Phone 1300 465 324 [email protected] |
Two Year Warranty
Thank you for purchasing this Goldair product. Your product is warranted against faults and manufactured when used in normal domestic use for a period of two years. For non-domestic use, Goldair limits the voluntary warranty to three months.
Goldair undertakes to repair or replace this product at no charge if found to be defective due to a manufacturing fault during the warranty period.
This warranty excludes damage caused by misuse, neglect, shipping accident, incorrect installation, or work carried out by anyone other than a qualified electrical service technician.
PLEASE KEEP YOUR RECEIPT AS THIS WILL HELP VERIFY YOUR WARRANTY.
The benefits to you given by this warranty are in addition to other rights and remedies available to you under a law in relation to the goods or services to which this warranty relates.
In Australia, our goods come with guarantees that cannot be excluded under the Australian Consumer Law. You are entitled to a replacement or refund for a major failure and compensation for any other reasonably foreseeable loss or damage. You are also entitled to have the goods repaired or replaced if the goods fail to be of acceptable quality and the failure does not amount to a major failure.
In New Zealand, this warranty is additional to the conditions and guarantees of the Consumers Guarantee Act (1993).
| Goldair – New Zealand CDB Goldair PO Box 100-707 N.S.M.C Auckland Phone +64 (0)9 917 4000 Phone 0800 232 633 www.goldair.co.nz | Goldair – Australia CDB Goldair Australia Pty PO Box 574 South Morang Victoria, 3752 Phone +61 (0)3 9365 5100 Phone 1300 GOLD AIR (1300 465 324) www.goldair.com.au |
Goldair Two-Year Warranty (IMPORTANT: Please complete and retain this warranty card)
Name………….
Address………..
Place Of Purchase………….
Date of Purchase…………
Name Of Product…………
Attach a copy of the purchase receipt to this warranty card
Due to continual design improvements, the product illustrated in this User Manual may differ slightly from the actual product.

| New Zealand PO Box 100707, North Shore Mail Centre, Auckland, 0745 www.goldair.co.nz | Australia PO Box 574, South Morang, Victoria, 3752 www.goldair.com.au |




















