Galanz GEWWD22S3SV125 Express Wave Microwave

Thank you for purchasing a Galanz product. Please read this manual carefully for correct usage and safety, and keep for future reference. For service, support and warranty information, call 1-800-562-0738.
IMPORTANT SAFETY INSTRUCTIONS
PRECAUTIONS TO AVOID POSSIBLE EXPOSURE TO EXCESSIVE MICROWAVE ENERGY
- Do not attempt to operate this oven with the door open since open-door operation can result in harmful exposure to microwave technology. It is important not to tamper with the safety interlocks.
- Do not place any object between the oven front face and the door or allow soil or cleaner residue to accumulate on sealing surfaces.
- Do not operate the oven if it is damaged. It is very important that the oven door closes properly and that there is no damage to the
- a) Door (including any dents),
- b) Hinges and latches (broken or loosened),
- c) Door seals and sealing surfaces.
The oven should not be adjusted or repaired by anyone except qualified service personnel.
CALIFORNIA PROPOSITION 65 WARNING
WARNING Cancer and Reproductive Harm-WWW.P65Warnings.ca.gov.
GENERAL WARNING
To reduce the risk of burns, electric shock, fire, injury to persons or exposure to excessive microwave technology:
- Read all instructions before using the appliance.
- Read and follow the specific “PRECAUTIONS TO AVOID POSSIBLE EXPOSURE TO EXCESSIVE MICROWAVE ENERGY” on page 1.
- This appliance must be grounded. Connect only to properly grounded outlet. See “GROUNDING INSTRUCTIONS ” on page 3. Do not operate the oven when empty.
- Install or locate this appliance only in accordance with the provided installation instructions.
- Some products such as whole eggs and sealed containers -for example, closed glass jars- are able to explode and should not be heated in this oven.
- Use this appliance only for its intended use as described in this manual. Do not use corrosive chemicals or vapors in this appliance. This type of oven is specifically designed to heat, cook, or dry food. It is not designed for industrial or laboratory use.
- As with any appliance, close supervision is necessary when used by children.
- To reduce the risk of fire in the oven cavity:
- Do not overcook food. Carefully attend appliance when paper, plastic, or other combustible materials are placed inside the oven to facilitate cooking.
- Remove wire twist-ties from paper or plastic bags before placing bag in oven.
- If materials inside the oven should ignite, keep oven door closed, turn oven off using the circuit breaker panel, and call emergency services.
- Do not use the cavity for storage purposes. Do not leave paper products, cooking utensils or food in the cavity when not in use. Liquids, such as water, coffee, or tea are able to be overheated beyond the boiling point without appearing to be boiling due to surface tension of the liquid. Visible bubbling or boiling when the container is removed from the microwave oven is not always present. This could result in very hot liquids suddenly boiling over when a spoon or other utensil is inserted into the liquid.
- To reduce the risk of injury to person:
- Do not overheat the liquid.
- Stir the liquid both before and halfway through heating it.
- Do not use straight-sided containers with narrow necks.
- After heating, allow the container to stand in the microwave oven for a short time before removing the container.
- Use extreme care when inserting a spoon or other utensil into the container.
- Do not heat oil or fat for deep-frying. It is difficult to control the temperature of oil in microwave oven.
- Do not cover or block any openings on the appliance.
- Do not operate this appliance if it has a damaged cord or a plug, if it is not working properly or if it has been damaged or dropped.
- Do not immerse cord or plug in water. Keep cord away from heated surface. Do not let cord hang over edge of table or counter.
- This appliance should be serviced only by qualified service person-nel, contact nearest authorized service facility for examination, repair, or adjustment.
- When cleaning surfaces of door and oven that comes together on closing the door, use only mild, nonabrasive soaps, or detergents applied with a sponge or soft cloth.
- Oversized food or oversized metal utensils should not be inserted in a microwave/toaster oven as they may create a fire or risk of electric shock.
- Do not store or use this appliance outdoors. Do not use this product near water, for example, near a kitchen sink, in a wet basement, near a swimming pool, or similar locations. Do not clean with metal scouring pads. Pieces can burn off the pad and touch electrical parts involving a risk of electric shock.
- Do not use paper products when appliance is operated in the toaster mode.
- Do not store any materials, other than manufacturer’s recommended accessories, in this oven when not in use. Do not cover turntables, pans or any other part of the oven with metal foil. This will cause overheating of the oven.
- This equipment has been tested and found to comply with Part 18 of the FCC Rules. Operation is subject to the following two conditions: (1) This device may not cause harmful interference, and (2) this device must accept any interference received, including interference that may cause undesired operation.
- CAUTION: Changes or modifications not expressly approved by the party responsible for compliance could void the user’s authority to operate the product.
This equipment generates, uses and can radiate radio frequency energy and, if not installed and used in accor-dance with the instructions, may cause harmful interference to radio communications. However, there is no guarantee that interference will not occur in a particular installation. If this equipment does cause harmful interference to radio or television reception, which can be determined by turning the equipment off and on, the user is encouraged to try to correct the interference by one or more of the following measures:- Reorient or relocate the receiving antenna.
- Increase the separation between the equipment and receiver.
- Connect the equipment into an outlet on a circuit different from that to which the receiver is connected.
- Consult the dealer or an experienced radio/TV technician for help.
GROUNDING INSTRUCTIONS
This appliance must be grounded. In the event of an electrical short circuit, grounding reduces risk of electric shock by providing an escape wire for the electric current. This appliance is equipped with a cord having a grounding wire with a grounding plug. The plug must be plugged into an outlet that is properly installed and grounded.
Consult a qualified electrician or serviceman if the grounding instructions are not completely understood, or if doubt exists as to whether the appliance is properly grounded, and if it is necessary to use an extension cord, use only a 3-wire extension cord that has a 3- blade grounding plug and a 3-slot receptacle that will accept the plug on the appliance. The marked rating of the extension cord shall be equal to or greater than the electrical rating of the appliance.
Electrical Requirements
The electrical requirements are a 120 volt 60 Hz, AC only, 20 amp. It is recommended that a separate circuit serving only the oven be provided. The oven is equipped with a 3-prong grounding plug. It must be plugged into a wall outlet properly installed and ground.
Power Cord
- A short power supply cord is provided to reduce the risks resulting from becoming entangled in or tripping over a longer cord.
- Longer cord sets or extension cords are available and may be used if care is exercised in their use.
- If long cord or extension cord is used:
- a) The marked electrical rating of the cord set or extension cord should be at least as great as the electrical rating of the appliance.
- b) The extension cord must be a grounding-type 3-wire cord, and The longer cord should be arranged so that it will not drape over the countertop or tabletop where it can be pulled on by children or tripped over accidentally.
INSTALLATION GUIDE
- Make sure that all the packing materials are removed from the inside of the door.
- This microwave oven must be placed on a flat, stable surface.
- For correct operation, the oven must have sufficient airflow. Allow minimum 8 inch (20.32cm) of free space necessary above the top surface of the oven and 2 inch (5.08cm) at both sides. Do not cover or block any openings on the appliance. Do not remove feet.
- The appliance shall be only used on a countertop over 3 feet (91.6cm) above the floor.
- Do not place the oven where heat, moisture, or high humidity are generated, or near combustible materials.

- Make sure that the power cord is undamaged and does not run under the oven or over any hot or sharp surface.
- The socket must be readily accessible so the microwave oven can be easily unplugged in an emergency.
COOKING UTENSILS GUIDE
This section lists which utensils can be used in this microwave, which have limited use for short periods, and which should not be used in this microwave.
RECOMMENDED
- Microwave browning dish — Use to brown the exterior of small items such as steaks, chops, or pancakes. Follow the directions provided with your browning dish.
- Microwaveable plastic wrap — Use to retain steam. Leave a small opening for some steam to escape and avoid placing it directly on the food.
- Paper towels and napkins — Use for short-term heating and covering; these absorb excess moisture and prevent spattering. Do not use recycled paper towels, which may contain metal and could ignite.
- Glass and glass-ceramic bowls and dishes — Use for heating or cooking.
- Paper plates and cups — Use for short-term heating at low temperatures. Do not use recycled paper, which contain metal and could ignite.
- Wax paper — Use as a cover to prevent spattering.
- Thermometers — Use only those labeled “Microwave Safe” and follow all directions. Check the food in several places. Conventional thermometers may be used on microwave food once the food has been removed from the oven.
LIMITED USE
- Aluminum foil — Use narrow strips of foil to prevent overcooking of exposed areas. Using too much foil can damage your oven, so be careful. You should keep distance of 1 inch (2.54cm) between aluminum foil and cavity.
- Ceramic, porcelain, and stoneware — Use these if they are labeled “Microwave Safe”. If they are not labeled, test them to make sure they can be used safely.
- Plastic — Use only if labeled “Microwave Safe”. Other plastics can melt.
NOT RECOMMENDED
- Glass jars and bottles — Regular glass is too thin to be used in a microwave. It can shatter and cause damage and injury.
- Paper bags — These are a fire hazard, except for popcorn bags due on food.
- Styrofoam plates and cups — These can melt and leave an unhealthy residue on food.
- Plastic storage and food containers — Containers such as margarine tubs can melt in the microwave.
- Metal utensils — These can damage your oven. Remove all metal before cooking.
Note: Should you wish to check if a dish is safe for microwaving, place the empty dish in the oven and microwave at high power level for 30 seconds. A dish which becomes very hot should not be used.
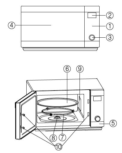
PRODUCT DIAGRAM

- Control Panel
- Display Screen
- Menu / Time / Portion / Level Selector Knob
- Oven Window
- Push Button
- Glass Turntable
- Roller Ring
- Shaft
- Wave Guide (Please do not remove the mica plate covering the wave guide)
- Door Safety Lock System
CONTROL PANEL

- SENSOR COOK
Use to set the automatic sensor cook programs. - SENSOR REHEAT
Use to set the automatic sensor reheat programs. - TIME / WEIGHT DEFORST
Press once to set defrost program based on time.
Press twice to set defrost program based on weight. - POPCORN
Use to set popcorn program. - BEVERAGE
Used to make hot drinks. - POTATO
Used to make potatoes. - FROZEN VEGETABLE
Used to heat up frozen vegetables. - DINNER PLATE
Used to heat up a dinner plate. - SOUP
Used to make soup. - CLOCK /TIMER
Press and hold to set the clock time (See Page 9). Press to set the timer function. - MICRO
Use to microwave food with selected power level. - LOCK/MUTE (ON/OFF/HOLD 3 SEC)
Press once to set sound on/off.
Press and hold to set child lock. - +30 SEC
Press to add time during the cooking program. - STOP / CANCEL / ENERGY SAVING
Press once to pause current cooking program or press twice to cancel the program. Press and hold to set energy saving mode. - Menu / Time / Weight / Level Selector Knob
Turn to select cooking menus, time, food weight, portion or power level.
FIRST TIME USE
If you are using your ExpressWave microwave oven for the first time, please be sure to:
- Clean the glass turntable with hot water, a small amount of dishwashing liquid and a nonabrasive cleaning pad.
- Do not immerse the body of the unit in water.
- When you plug in the unit, the display will show “12:00”.
- While you are in the process of any setting, the oven will return to standby mode after 30 seconds without any operation.
- During cooking, if press STOP/CANCEL once or open the door, the program will be paused. Press the dial to resume cooking, but if you press STOP/CANCEL twice, the program will be canceled.
- When the cooking completes, the screen will display “End” with sound every two minutes until you press STOP/CANCEL or open the door.
Product Specifications
| Power Supply | 120V/60Hz |
| Power Consumption (Microwave) | 1500W |
| Rated Microwave Power Output | 1250W |
| Operating Frequency | 2450MHz |
| Outside Dimensions (W x H x D) | 24 3/4 x 14 3/10 x 19 15/16 inch |
| Oven Capacity | 2.2 Cu.Ft. |
| Net Weight | Approx. 31.6 lbs |
OPERATION INSTRUCTIONS
Setting the Clock
You can set the clock in 12-hour or 24-hour by pressing CLOCK/TIMER in standby mode.
Example: How to set a 12-hour clock at 11:58.

NOTE: While in the process of setting the clock, you can cancel the settings by pressing the STOP/CANCEL.
The CLOCK cannot be set while the TIMER is running.
Timer
You can use the timer feature to count down a specific amount of time whether it’s for cooking or for anything else.
Example: How to set the timer for 3 minutes and 50 seconds.
NOTE: Timer countdown can be seen for 5 seconds by touching CLOCK/TIMER, if press STOP/CANCEL during these 5 seconds, the timer will be canceled.
Quick Start Microwave
This feature allows you to start the oven quickly at maximum microwave power. The longest cooking time is 95 minutes.
Example: How to quick start microwave for 3 minutes and 30 seconds.
Microwave Cooking
This feature allows you to choose the power level and cooking time of microwave function. The longest cooking time is 95 minutes.
Example: Cook at 30% power level for 3 minutes and 50 seconds. 

Power Level Chart:
| Power Level | Display |
| 100% | P100 |
| 90% | P-90 |
| 80% | P-80 |
| 70% | P-70 |
| 60% | P-60 |
| Power Level | Display |
| 50% | P-50 |
| 40% | P-40 |
| 30% | P-30 |
| 20% | P-20 |
| 10% | P-10 |
NOTE: If you want to set 100% power level, you can turn the dial to enter cooking time directly and then press the dial to start.
Weight Defrost
The defrosting time and power level are automatically set once the food category and the weight are selected.
Example: How to defrost 8oz seafood.

Weight Defrost Food Chart:
| Code | Food | Maximum Weight |
| dEF1 | Meat | 96oz |
| dEF2 | Poultry | 96oz |
| dEF3 | Seafood | 32oz |
NOTE: During the defrosting program, the system will pause and alert the user to turn the food over when 1/2 of the defrosting time remains. After turning food over, close the door and press the dial to resume the defrosting.
Weight must be in pounds and ounces. If label gives weight in pounds only, change the fraction of a pound to ounces using the following chart.
Converting fractions of a pound to ounces:
Time Defrost
The defrosting power is adjusted automatically once the cooking time is programmed.
Example: How to defrost food for 3 minutes and 50 seconds. 

NOTE: During the defrosting program, the system will pause and alert the user to turn the food over when 1/3 of the defrosting time remains. After turning food over, close the door and press the dial to resume the defrosting.
Sensor Cook
For sensor cook function, you can select the type of food you want to cook from the programs listed on the cooking label located on the interior panel of the appliance..
Auto Program: How to Cook 8oz fresh vegetable with sensor. 

Sensor Cook Food Chart (Auto Program):
| Code | Food | Weight Range |
| SC-1 | Oatmeal | 5-16oz |
| SC-2 | Fresh Vegetable | 7-21oz |
| SC-3 | Fish | 7-21oz |
| SC-4 | Ground Meat | 5-24oz |
NOTE:
- After cooking for a period of time, the system will detect whether there is error, if there is error, for example, the sensor short circuit or open circuit, the system will stop automatically with the display showing “Er60”, beeps sound until press STOP/CANCEL pad.
- If there is no error, the system will judge corresponding cooking time based on the steam generated by the food, after cooking for a period of time, the countdown will display on the screen.
- During sensor cooking program, if press STOP/CANCEL pad once or open the door, the system will turn back to standby mode.
- If during the longest sensor time the oven cannot judge the cooking time according the steam produced by food in the cavity, the cooking will auto-end.
Sensor Reheat
For sensor reheat function, you can select the type of food you want to cook from the programs listed on the cooking label located on the interior panel of the appliance.
Auto Program: How to Reheat frozen pizza with sensor.
Sensor Reheat Food Chart (Auto Program):
| Code | Food | Weight Range |
| SH-1 | Chili | 5-24oz |
| SH-2 | Frozen Entrée | 7-24oz |
| SH-3 | Frozen Pizza | 5-16oz |
| SH-4 | Mac and Cheese | 5-24oz |
| SH-5 | Mashed Potatoes | 5-24oz |
| SH-6 | Pasta | 5-24oz |
| SH-7 | Rice | 5-28oz |
NOTE:
- After cooking for a period of time, the system will detect whether there is error, if there is error, for example, the sensor short circuit or open circuit, the system will stop automatically with the display showing “Er60”, beeps sound until press STOP/CANCEL pad.
- If there is no error, the system will judge corresponding cooking time based on the steam generated by the food, after cooking for a period of time, the countdown will display on the screen.
- During sensor cooking program, if press STOP/CANCEL pad once or open the door, the system will turn back to standby mode.
- If during the longest sensor time the oven cannot judge the cooking time according the steam produced by food in the cavity, the cooking will auto-end.
Popcorn
Example: How to cook popcorn for 1 minutes and 50 seconds. 
NOTE:
- The default time is 1 minutes and 30 seconds. For default time, you can skip step 2, directly press the dial to start if you prefer.
- The maximum cooking time is 5 minutes.
Beverage
Example: How to heat up a cup of 10 oz beverage.
Weight and Time Chart:
| Display | Weight | Time |
| 8 | 8 oz | 1:10 |
| 10 | 10 oz | 1:30 |
| 12 | 12 oz | 1:50 |
| 14 | 14 oz | 2:10 |
Potato
Example: How to cook a potato of 20 oz.
Weight and Time Chart:
| Display | Weight | Time |
| 8 | 8 oz | 3:30 |
| 12 | 12 oz | 5:00 |
| 16 | 16 oz | 6:30 |
| Display | Weight | Time |
| 20 | 20 oz | 8:30 |
| 24 | 24 oz | 11:00 |
| 28 | 28 oz | 13:30 |
Frozen Vegetable
Example: How to cook 16 oz frozen vegetable.
Weight and Time Chart:
| Display | Weight | Time |
| 8 | 8 oz | 4:20 |
| 12 | 12 oz | 5:20 |
| 16 | 16 oz | 6:20 |
| Display | Weight | Time |
| 20 | 20 oz | 7:20 |
| 24 | 24 oz | 8:20 |
Dinner Plate
Example: How to cook a dinner plate 20 oz.
Weight and Time Chart:
| Display | Weight | Time |
| 8 | 8 oz | 1:20 |
| 12 | 12 oz | 2:20 |
| 16 | 16 oz | 3:20 |
| Display | Weight | Time |
| 20 | 20 oz | 4:20 |
| 24 | 24 oz | 5:20 |
| 28 | 28 oz | 6:20 |
Soup
Example: How to cook 16 oz of soup.
Weight and Time Chart:
| Display | Weight | Time |
| 4 | 4 oz | 1:00 |
| 8 | 8 oz | 1:30 |
| 12 | 12 oz | 2:00 |
| 16 | 16 oz | 2:30 |
| Display | Weight | Time |
| 20 | 20 oz | 3:00 |
| 24 | 24 oz | 3:30 |
| 28 | 28 oz | 4:00 |
+30 Sec Function
In standby mode, you can press +30 SEC pad to start the microwave oven immediately. During cooking, you can add cooking time by touching +30 SEC pad repeatedly. The longest cooking time is 95 minutes.
Example: During microwave cooking, add the cooking time by 2 minutes by utilizing the +30 SEC button.
NOTE:
- Below programs cannot use +30 SEC during cooking.
- SENSOR COOK
- SENSOR REHEAT
- POPCORN
- BEVERAGE
- POTATO
- FROZEN VEGETABLE
- DINNER PLATE
- SOUP
- TIME / WEIGHT DEFROST
Child Lock
The child proof lock prevents unsupervised operation by children.
Example1: How to set/cancel the Child Lock.
Sound ON/OFF Function
The Sound ON/OFF function can be used to mute the microwave. In standby mode (except on child lock setting), press the ON/OFF/HOLD 3 SEC. and the screen will display ‘OFF’ for 3 seconds after which the microwave will be muted. This includes the end of cooking alert and all pad noises. To turn sound back on, press the ON/OFF/HOLD 3 SEC.. You will hear a beep when this is complete.
Example: How to set Sound ON/OFF.
NOTE: For default mode, the buzzer sounds is open.
Energy Saving Mode
In standby mode, press and hold on STOP/CANCEL/ENERGY SAVING pad to enter the ECO mode. Screen will stop showing a display. Above operation is the only way to start the ECO mode. The Energy Saving mode can work under child lock function too.
Example: How to set Energy Saving mode.
TROUBLESHOOTING
| Error Code | Failure | Action |
| Er30 | Inverter Malfunction | Try opening and closing the door and then repeat the operation. If the error reoccurs, contact the call center 1-800-562-0738 – service is required. |
| Er60 | Humidity Sensor Malfunction | Try to repeat sensor cook operation. If the error reoccurs, allow the oven to cool with the door open to help steam to dry and then try again after 30 miutes. If the error still occurs, contact the call center 1-800-562-0738 – service is required. |
| Er61 |
CLEANING AND CARE
- Turn off the oven and unplug the power cord from the wall when cleaning.

- Keep the inside of the oven clean. When food splatters or spilled liquids adhere to oven walls, wipe with a damp cloth. Mild detergents may be used if the oven gets very dirty. Avoid using spray or other harsh cleaners. They may stain, streak or dull the door surface.

- The outside of the oven should be cleaned with a damp cloth. To prevent damage to the operating parts inside the oven, water should not be allowed to seep into the ventilation openings.
- Wipe the door and window on both sides, the door seals and adjacent parts frequently with a damp cloth to remove any spills or spatters. Do not use abrasive cleaner.
- Do not allow the control panel to become wet. Clean with a soft, damp cloth. When cleaning the control panel, leave oven door open to prevent oven from accidentally turning on.

- If steam accumulates inside or around the outside of the oven door, wipe with a soft cloth. This may occur when the microwave oven is operated under high humidity condition. And it is normal.
- It is occasionally necessary to remove the glass turntable, baking and roasting pan, air fry kit for cleaning. Wash them in warm sudsy water.

- The oven should be cleaned regularly and any food deposits should be removed. Failure to maintain the oven in a clean condition could lead to deterioration of surface that could adversely affect the life of the unit and could possibly result in a hazardous situation.
- Please do not dispose of this appliance into the domestic rubbish bin; it should be disposed to the particular disposal center provided by the municipalities.
PRODUCT WARRANTY
This warranty applies to products sold by Galanz Americas in the U.S. This warranty is in lieu of any other warranty and expressly applies to the individual product only.
Galanz product is warrantied for one year following purchase for defects in material and workmanship. Please save your receipt as proof of purchase is required to make a warranty claim. During this period, we will provide the replacement cost of this product, a replacement or the equivalent, or repair per our discretion. The warranty can not be transferred through resale, including the resale through a 3rd party unauthorized retailer and is only bestowed up on the original consumer purchaser upon purchase from an authorized retailer.
- This warranty does not cover and excludes damage or defects caused by:
- Consumer misuse
- Abuse
- Neglect including the failure to clean and/or provide adequate r egular maintenance as outlined in the user manual
- Commercial use
- Subjecting the product to any voltage outside the specified range
- Loss of parts
- The affixing of any attachments not provided with the product
- Accident
- Use in a manner not intended and outlined in the user manual.
- Any subsequent damages caused by the above listed exclusions will not be covered and any claims determined to meet the above exclusions will be denied. All liability is limited to the purchase price and does not include any:
- Retail offered extended warranties
- Tax
- Other charges(including postage to send required materials)
- Incidental and/or consequential damages associated with the product in question.
Every implied warranty, including any statutory warranty of merchantability or fitness for a particular purpose is disclaimed except to the extent prohibited by law, in which case such warranty is limited to the duration of this written warranty. This warranty gives you specific legal rights. You may have other legal rights that vary depending on where you live. Some states do not allow limitations on implied warranties or special, incidental, or consequential damaged, so the above limitations may not apply to you. If you have a claim under this warranty, please call our Customer Service number: 1-800-562-0738. For faster service, please have the model number, serial number, and receipt ready for the operator to assist you.
WARRANTY REGISTRATION
Please mail this warranty card to the address below within 30 days of purchase. Or you can register your product online by going to www.galanz.com\us. Galanz Americas, 55 Challenger Road, Suite 503, Ridgefield Park, NJ 07660. PLEASE PRINT CLEARLY.

























