rev.09.04.L

squares
INSTRUCTIONS GUIDE
FOR INDOOR USE
attention
Read and follow all safety instructions and keep this manual for later reference.
Safety instructions
- Read and follow all instructions that are on the product or provided with the product.
- Save these instructions.
- Unplug the product when leaving the house.
- This is an electric product — not a toy! To avoid the risk of fire, burns, personal injury, and electric shock it should not be played with or placed where small children can reach it.
- The product is intended for indoor use only, do not use in outdoor areas.
- Avoid the use of the product in wet or damp environments.
- Do not use this product for other than its intended use.
- Do not cover the product with cloth, paper, or any material not part of the product when in use.
- Do not limit the flow of air around the product to avoid heat accumulation.
- Avoid the use in very hot environments (close to radiators, ovens, …)
- Do not close doors or windows on the product or extension cords as this may damage the wire insulation.
- Do not connect with 3rd party connections, devices not approved by Twinkly
- Do not use it in countries other than that in which the product was designed for.
- Do not use it in places where there is a risk of electric shock.
- The product is not designed for use in emergency exits or emergency lights.
- Do not connect the product to the power supply while it is in the packing.
- Where breakage or damage occurs the device must not be used/energised but disposed of safely.
- The lamps are not replaceable.
- WARNING – RISK OF ELECTRIC SHOCK IF LAMPS ARE BROKEN OR MISSING. DO NOT USE.
Use and care instructions
- Each master panel can only connect up to 15 panels
- This device supports the USB PD (Power Delivery) protocol. It allows using power adapters from other vendors to power the device. For any configuration that connects more than one light panel (e.g. 1master panel with 1 extension panel), a USB-C power delivery capable power adapter providing at least 20V and 3A (60W) is required. We recommend purchasing our power adapter if needed.
- Before using or reusing, inspect the product carefully.
- When storing the product, carefully remove the product from wherever it is placed, to avoid any undue strain or stress on the product conductors, connections, and wires.
- When not in use, store neatly in a cool, dry location protected from sunlight.
- Do not open the device, not to lose the warranty.
- Do not modify the device, not to invalidate the certification.
- Do not place metallic/conductive objects near the exposed contacts of the product
- Do not allow children to use the product with no supervision
- Do not clean the device when it is connected to power.
- Do not use cleaning agents, only a soft dry cloth
- Use only the original connectors to link the panels together
- Do not bend the panels with the connector still attached.
- Hanging carefully when putting panels on the wall.
- Do not attach the panels to the floor so as not to risk stumbling.
- Avoid exposing the product to water.
- Do not place it in the water.
- For all configurations other than the single master starter kit, we recommend using Twinkly power supply.
Interference
This device is designed to provide reasonable protection against harmful interference in a residential installation. This equipment generates, uses and can radiate radio frequency energy and, if not installed and used in accordance with the instructions, may cause harmful interference to radio communications. However, there is no guarantee that interference will not occur in a particular installation. If this equipment does cause harmful interference to radio or television reception, which can be determined by turning the equipment off and on, the user is encouraged to try to correct the interference by one or more of the following measures:
- Reorient or relocate the receiving antenna.
- Increase the separation between the equipment and receiver.
- Connect the equipment into an outlet on a circuit different from that to which the receiver is connected.
- Consult the dealer or an experienced radio/television technician for help
WARNING!
Do not connect the light panel to the power supply while it is in the packaging. THE LAMPS ARE NOT REPLACEABLE. Do not connect this to devices from other manufacturers. Keep out of reach of young children.
The crossed-out wheeled bin symbol indicates that the item should be disposed of separately from household waste. The item should be handed in for recycling in accordance with local environmental regulations for waste disposal.
The manufacturer, Ledworks Srl, declares that this device complies with the (LVD) 2014/35/EU, (RED) 2014/53/EU, (EMC) 2014/30/EU, (RoHS) 2011/65/EU, (REACH) 1907/2006 directives. The full text of the EU declaration of conformity is available at the following Internet address: www.twinkly.com/certifications
System Requirement
The minimum system requirement for mobile phones are iOS 12 and Android 6 Check the app store for the latest update to ensure the best performance. To control this HomeKit-enabled accessory, the latest version of iOS or iPadOS is recommended.
Technical Specifications
IP protection: IP20
Operating RF for Wi-Fi / Bluetooth
Frequency 2402/2480 Mhz
Max output Power <100mW
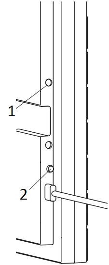
physical setup
1
2

- Plug the power supply into the power socket, the Square master panel will light up. Then follow the instruction on the app.
- Use the drawing guidelines provided to mark the positions of the mounting holes on the surface, then hang the panel on the wall.
extension
1

2
3

- Unplug the power cable from the master panel, and start connecting the connection cable between each panel to achieve the desired layout. (Each master panel can only connect up to 15 panels)
- Connect the clamp between each panel to make it secure and join each panel properly.
- Carefully hang your design on the wall, then power on.
controller
- CONTINUOUS GREEN: Direct Wi-Fi mode, connected
- FLASHING GREEN: Direct Wi-Fi mode, no device connected
- LED OFF: Home Wi-Fi network mode, connected
- FLASHING BLUE: Home Wi-Fi network mode, connection in progress
- FLASHING RED: Home Wi-Fi network mode, unable to connect
- LIGHT BLUE: SETUP MODE (Bluetooth ON)
- YELLOW: Firmware Update in progress
- FLASHING BLUE / RED: Connectivity error
- FLASHING WHITE: Reset procedure in progress

- LED INDICATOR
- BUTTON
app download




Go to App Store/Google Play Store (or scan QR code). Download and install the Twinkly app
Note: All app illustrations in this document are a mere representation of the functionality and might vary from the actual app visuals.
setup twinkly


- Launch Twinkly app.
- Sign up/log in to your account (necessary for using smart home features).
- Follow the setup process on the app.
connection modes

Twinkly uses Bluetooth for the setup process only. Wi-Fi connection is required for operation. You can use:
A. Home Wi-Fi network connection (recommended):
Connect with your home/office WiFi from the list of available networks.
B. Direct Wi-Fi connection:
Select “Twinkly_xxxxxx” WiFi from the list of available networks. Password: Twinkly2019
(NOTE: the internet on your phone will not be available in this case)
A. HOME WI-FI NETWORK CONNECTION

B. DIRECT Wi-Fi CONNECTION
troubleshooting
– Check that the power adapter is plugged in and that the controller is correctly connected to the device
– Check that the LED status indicator on the controller is lit
– Briefly press the button on the controller
– If this doesn’t work, unplug the power adapter, wait 30 seconds and plug in again
– Unplug the power adapter, wait 30 seconds, plug it in again and repeat Configuration procedure
– If this does not work, try to Reset (see Reset procedure below)
– If this won’t work, see online reference manual help.twinkly.com
– Briefly press the button on the controller
– If this does not work, unplug the power adapter, wait 30 seconds and plug it in again
– Within the Twinkly application, open “Devices” and check that the Twinkly device is selected
– If this does not work, stop the Twinkly application and launch it again
– If this does not work, try to Reset (see Reset procedure below)
– If this does not work, delete the Twinkly application from your smartphone, then download the latest version from AppStore or Google Play Store
If you have any problems, please write to [email protected]
reset twinkly
1 2


3
- Unplug Twinkly from the power socket. Press and hold the controller button.
- While holding the button, plug in Twinkly.
- Keep holding the button until all LEDs turn red (or amber for Gold Edition), then release the button.
online manual
Browse, play and edit effects.
Create new effects.
Group multiple devices together.
Synchronize with music.
Download new effects.
Control with Smart Home Assistant.
For all these features and more, see help.twinkly.com
RGB
| TWQ064STW-01-BUSB | TWQ064STW-07-BEU | TWQ064STW-07-BUK | TWQ064STW-07-BUS | TWQ064STW-07-BAU |
| TWQ064STW-03-BAD | TWQ064STW-04-BEU | TWQ064STW-04-BUK | TWQ064STW-04-BUS | TWQ064STW-04-BAU |

Your Apple HomeKit QRcode
LEDWORKS S.R.L.
Via Tortona, 37 – 20144
Milano – Italy
MORE INFO


















