Paul Neuhaus 835956 Smart Home Light 
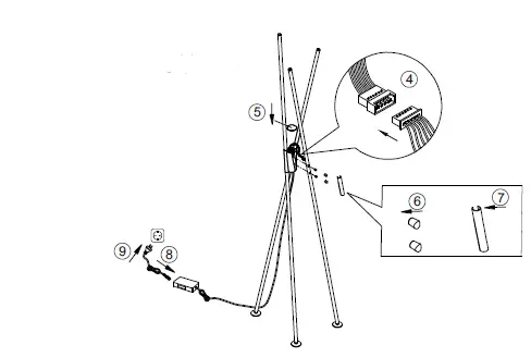
Montage / fitting
as floor lamp
electrical connection
230 voltage/50 Hz connection
teach remote control
See Q-remote control manual
- Q-receiver
- Switch on the lamp
- Teach Q-remote contro
- Read instruction manual
Reset
Reset the lamp, factory new






















