2153-77 Westboro Boulevard Drum Pendant
Installation Guide
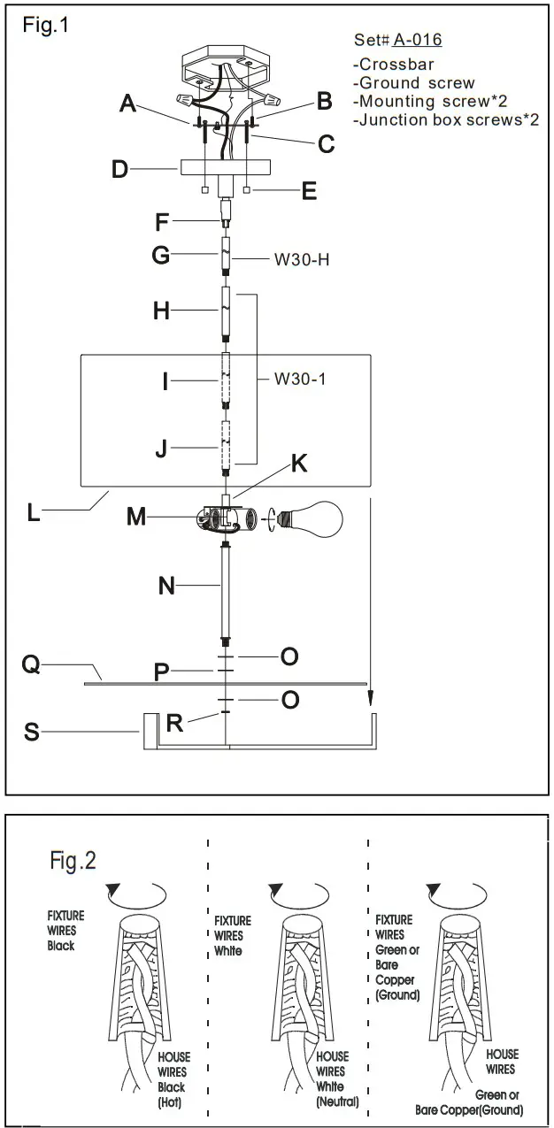
INSTALLATION INSTRUCTION FOR 2153-77/724
WARNING! SHUT POWER OFF AT FUSE OR CIRCUIT BREAKER .
READ AND SAVE THESE INSTRUCTIONS
PREPATION
- Shut off the power at the fuse box or circuit breaker box. If necessary, remove the old fixture and all mounting hardware from junction box.
- Carefully unpack your new fixture and lay out all the parts on a clear area. Take care not to lose any parts necessary for installation.
ASSEMBLING THE FIXTURE(Fig.1) - Thread all thread (0.3’’L) of stem (N) into the coupling (M).
- Slide washer (O), plastic washer (P), glass (Q) and washer (O) over all thread of stem (N). Secure with ut (R).
- Thread metal frame (S) onto all thread of stem (N) until secure.
- Place shade (L) into metal frame (S).
- Determine the desired hanging height and thread rods (G, H, I, J) to top of coupling (K). Pass wires carefully through each rod as you assembled. Please remove all thread if installing with one 6” rod.
- Attached last rod to canopy swivel (F). Pass wires carefully through canopy (D) and swivel (F).
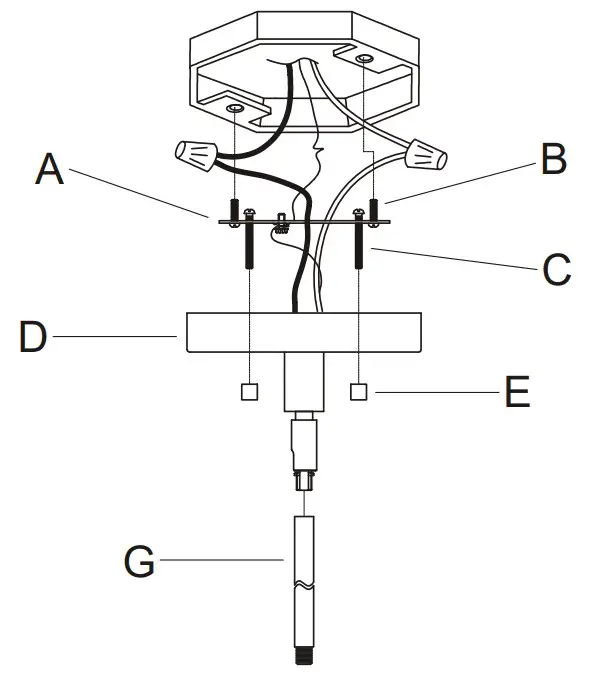
MOUNTING THE FIXTURE (Fig.1) - Thread two mounting screws (C) (Size: #8-32*1.4″L) into crossbar (A) spaced same distance apart as holes in canopy (D). Length of mounting screws (B) into crossbar (A) may be adjusted if necessary.
Attach crossbar (A) to junction box (Not included) using junction box screws (B) (Size: #8-32*0.6”). The side of crossbar (A) marked “GND” must face out.
CONNECTING THE WIRES (Fig.2) - Connect the electrical wires as shown in figure 2, making sure that all wire connectors are secured. If your junction box has a ground wire (green or bare copper), connect the ground wires to it. Otherwise, connect the ground wire directly to the crossbar (A)
and secure using the green screw provided. - Tuck wire connectors neatly into the junction box.
COMPLETING THE INSTALLATION (Fig. 1) - Slide canopy (D) over mounting screws (C) and secure with cap nuts (E).
- Install (3) three medium base bulbs up to 100 watts each or CFL or LED equivalent (not included) in accordance with the fixture specification. (DO NOT
EXCEED THE SPECIFIED WATTAGE!) (NE PAS DEPASSER LA PUISSANCE NOMINALE MAXIMALE!)

Your installation is now complete. Return power to the junction box and test the fixture.
a. Hardware Bag:
A. Crossbar *1
B. Junction Box Screws *2
C. Mounting Screws *2
D. Canopy *1
E. Cap Nuts *2
b. Hardware Bag:
H, I, J. Rod 12’’ *3
G Rod 6” *1
![]()


















