OPTONICA 7451 Solar Wall Light with PIR Sensor

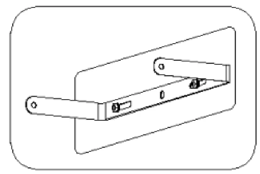
Product Structure
Precautions for use of PIR sensor:
- The best working environment for PIR sensor is 25℃, with the best sensitivity and distance. When the temperature difference is very small between the human body and the environment, the sensitivity of PIR sensor will drop, the induction distance becomes short, which is a normal condition.
- PIR sensor detects human temperature, not speed and movement
Product Working Mode
Touch the switch to select working mode and switch in cycles. After selecting the mode, there is no need to switch again. There are three kind of working modes: Induction & Slight mode, Induction & full OFF mode, Automatic mode.
- Press the button to enter the Induction & Slight mode: People come and lamp enter to high brightness, people walk away for 20 seconds and lamp enter to slight brightness(3% of high brightness).
- Press the button again to enter Induction&full OFF mode: People come and lamp enter to high brightness, people walk away for 20 seconds and lamp will be full off.
- Press again to enter the Automatic Mode: Automatic ON and discharge when gets dark, Automatic OFF and charging when daybreak. Lighting time is 14hours after full charge.
- Press again to enter the OFF Mode: the Solar Multi-function Wall Light enters the off state.
Product Instructions
- This product is solar photovoltaic lighting, environmental protection, low voltage safety.
- Widely used in courtyard, lawn, garden and other places.
- Before use, please place the lamp directly under the sun to charge for at least 6 hours.
- Automatic charging during the day, automatic start and automatic light at night.
- Easy to install, no wiring, do not need to connect electricity and complex installation process.
- When installing, please install the lamp in a place with strong and sufficient sunlight and pay attention to the installation angle to ensure that the photovoltaic panel has enough sunshine to charge the battery.
- The charging effect of solar panels depends on sunniness, illumination time and weather conditions. The stronger the sunshine, the faster the photovoltaic panel charges. Charging on rainy or cloudy days is less effective and the lighting time is shorter.
- Internal charging over-voltage protection and low voltage discharge protection, safety circuit, stable quality.
- Unique appearance, independent research and development and production, patent private mold.
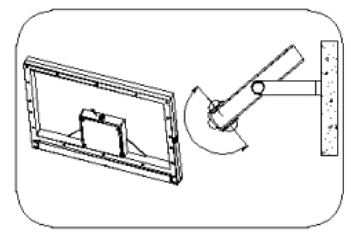
Installation Instructions
- Drill holes into the mounting surface and insert expansion screws

- Install the bracket

- Fix the lamp on the bracket and rotate the angle: the photovoltaic panel faces 5-10 degrees south to the west, and forms an angle with the horizontal plane (30 degrees south, 45 degrees north), and tighten it after selection

- Touch the switch on the lamp to turn on the lamp and select the working mode; At the same time, the luminous surface can be rotated 180°to adjust the required beam angle.

- The direction of the lamp can be adjusted to the wall irradiation, and the working mode can choose the Time Control.

Important Notice
Please keep the installation tools away from children.
Contains batteries, batteries are recyclable, please do not throw them away.
- Contains batteries, the product is strictly prohibited to be placed on fire, it may explode.
- Please do not connect to 110/220V electricity current to avoid damage lamp body.
- Please install on a flat and stable surface, and fix the photovoltaic panel and the lamp body to prevent wind or other reasons from hurting people.
- In order not to affect the use effect, clean up the dust or debris on the surface of the solar photovoltaic panel every 3-4 months.
- In autumn, winter, continuous cloudy or rainy days, the charging effect will be weakened and the lighting time will be shortened, which is normal.
- Forbi d installing lamps near air conditioners, heating objects, or high-voltage power grid systems.
IMPORTER: Prima Group 2004 LTD, Bulgaria, 1784 Sofia, Mladost 1, bl. 144, Ground Floor;
Phone: +359 2 988 45 72;






















