SCS Sentinel MVE0056 Motorised Gate 12V Electric Motor

SAFETY INSTRUCTIONS
WARNING: Important safety instructions. It is essential to follow these instructions for reasons of personal safety. Keep these instructions in a safe place.
WARNING: Important safety instructions. Follow all instructions carefully as improper installation may result in serious injury.
This product is only designed for the automation of a swing gate for «residential» use.
The power supply installation must comply with current standards in the country where the product is installed (NFC 15-100 for France) and be carried out by qualified staff.
The mains supply must be protected against overload by a suitable trip switch and an earth leakage circuit breaker. L. CAUTION: The motorised system must be disconnected from its power source during cleaning, maintenance I and parts replacement.
Installation requires qualified staff with mechanical and electrical skills.
Make sure that the temperature range indicated on the motorised device is suitable for the installation’s location. Only original parts should be used to replace or repair the motorized system.
- This appliance may be used by children at least 8 years old and by people with reduced physical, sensory or mental capabilities or without experience or knowledge, if they are properly supervised or instructed in the safe use of the appliance, and if the risks involved have been understood. Children should not play with the appliance. The user’s cleaning and maintenance must not be carried out by unsupervised children.
- Do not allow children to play with the unit or its controls, including remote controls.
- Activation of the manual disconnection device may cause uncontrolled movement of the driven part due to mechanical failure or loss of balance.
- Before installing the motorized device, check that the driven part is in good mechanical condition, properly balanced and opens and closes correctly.
- The motorized device cannot be used with a driven part incorporating a side gate.
- Ensure that crushing caused by the opening movement of the driven part is avoided between the driven part and the surrounding fixed parts.
- After installation, ensure that the mechanism is properly adjusted and that the protection system and any manual disconnection devices function properly.
- Permanently attach the label for the manual disconnection device to the operating element of this device. Only use the remote control when you have a complete view of the gate.
If in any doubt, do not operate the system, as it could be damaged.
DESCRIPTION
Content

Dimensions

WIRING / INSTALLING
Standard installation

- Blinker
- Control box
- Gate opener
- Remote control
Do not forget to place physical stoppers (not supplied) for the proper functioning of the gate.
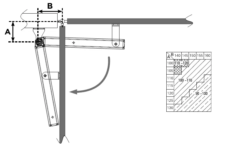
Dimension chart
Comply with the measures shown on the chart for proper installation. Adjust the gate structure to fit it for best automation, if necessary.
Before proceeding with the installation, be sure that gate moves freely and that
- Hinges are properly positioned and greased.
- No obstacles in the moving area.
- No frictions between two gate leaves or with the ground while moving
inside opening – installation with closed gate

Motor fixing
Determine the position and fix the bracket on the pillar respecting the dimensions indicated on the chart above.
To determine the position of the bracket on the gate, the gate should be closed and the butterfly screw should be positioned at 70 cm from the worm extremity.
HELP
To correctly position the butterfly screw at 70 mm from the worn end, you can use a power tool type battery (12 to 24 V DC). Do not connect the arms to the PCBA. Connect the arms wires on the battery (for example yellow on + and white on -) in order to move the trolley in one direction or the other according to polarity. If the motor does not move or moves in the wrong direction, reverse the wires and then adjust the motor to the desired position.

Emergency release
In case of power failure or to program your automatic gate, you can manually unlock the engines:
Permanently attach the label for the manual disconnection device to the operating element of this device.
Wiring diagram


Installing
Prepare all the wires of the accessories beforehand and connect the wires to the gear motors and accessories on the PCB as shown in Figure 1. All of the wiring connections of the accessories are not requested to distinguish the positive (+) and the negative (-) polarity.
Control box
BEFORE INSTALLATION
Decide the installation position of control box first, it is suggested to be installed near the gate and should be protected from possible damage.
Be aware of the motor cable length before deciding the installation position of the control box.
PRE-INSTALLATION
- Remove the cover by unscrewing the four screws on the cover. See Figure 1(1).
- Use a screwdriver to puncture the holes beneath the bottom of the control box. See Figure 1 (2).
- Fix and secure your electronic box on the wall.
- Connect the wires of the various devices to be connected to the PCB board (devices described on the following pages)
- Seal the holes of cables entries
- Close the box by tightening the 4 screws. (See Figure 1 (3))

Motor
MOTOR – WIRE CONNECTION

Note: Avoid tension in the cable during open and close phase.
NOTE, FOR GATES OPENED OUTWARD:
- M1 Motor : Connect the motor wire (Yellow -) to the terminals Mo1 +, and (White +) to the terminals Mo1-. (motor opening in first)
- M2 Motor : Connect the motor wire (Yellow -) to the terminals Mo2 +, and (White +) to the terminals Mo2 -.
M1 MOTOR CONNECTION (first opening motor)
MZ MOTOR CONNECTION (second opening motor)
Electric Lock (option)
Connect the two wires from the electric lock (24V) to the terminal Lo + and Lo- on the PCB.
Wiring to 230V power supply
Blinker


Photocells (option – Ref.AAM0036)
The photocells are safety devices for control automatic gates. Consist of one transmitter and one receiver based in waterproof covers; it is triggered while breaking the path of the beams. If an obstacle is detected, the gate stops and opens again slightly allowing the obstacle to be released safely.

STEP4
CARD (CONTROL BOX)
STEPS
cable type: 0.5mm2
SETTING/USING
Single/double gate setting (dip switch 1)
Switch settings: «on» right position, «off» left position.
DIP SWITCH 1 D/S set :
ON = double gate operation
OFF= single gate operation (connection on 11 and 12)
D2- Power setting (dip switch 2 et 3)
| DIP SWITCH OVER C1 | DIP SWITCH OVER C2 | CURRENT (AMP) |
| DIP switch 2 OFF | Dip switch 3 OFF | 5A |
| DIP switch 2 OFF | Dip switch 3 ON | 4A |
| DIP switch 2 ON | Dip switch 3 OFF | 3A |
| DIP switch 2 ON | Dip switch 3 ON | 2A |
D3- Gate auto-close adjustment (dip switch 4)
DIP SWITCH 4
- «ON»: Active automatic closing in 30 seconds. Simultaneously pressing the two remotes top keys
(opened or closed gate) will turn OFF the automatic mode (the blinker will flash 3 times as confirmation).
Repeat the operation to turn ON the automatic mode (the blinker will flash 3 times as confirmation).
Note: in case of automatic closing, photocells are required. - «OFF»: Automatic closing OFF (caution it will still be possible to turn ON with the remote)
D4- Photocell adjustment (dip switch 5)
DIP SWITCH 5 :
ON : Photocells ON. When the photocells detect an obstacle while the gate is closing, the gate stops and opens during 2 seconds.
If the gate auto-close is adjusted, and the photocells detect an obstacle when the gate is totally opened, then the closing time will be reseted.
OFF: Photocells OFF. No detection by the photocells.
D5- Dephasing of the leaves (dip switch 6)
DIP SWITCH 6 :
ON : Dephasing in closing/ opening of 8 seconds. OFF: Dephasing in closing/ opening of 3 seconds.
D6- Slowing down
The speed is 70% output of the full speed.
D7- LED indication

- LED 1 System Learning:
LED1 will be on when remote controls are activated. - LED 2 System learning:
LED 2 blinks twice per second during normal operation and once per second during learning. Static LED2 means incorrect programming. - LED 3 Photocells:
LED 3 will be on when photocells are not aligned or when there’s an obstacle in between. - LED4 start:
LED 4 will be on if the switch of the transmitter, key selector, or the push button is activated.
DB- Remote controls learning process
Press “RF-learn” button for 2 seconds, and the LED1 will be on; then press the transmitter top left button. The LED1 will blink twice and stay on for 10 seconds then be off. And the remote memorize has completed.
D9- System learning process for double leaf gate
L!\. The remote control memory storing operation must be over before starting the final system learning . process.
The LED2 light will remain ON until the system learning process is not over. Let your gate totally opened. Press «SYS-learn» (until the LED2 light begins to flash once every second, instead of twice every second as it normally would), then press the upper-left key for a double gate.
The system learning process will be as follows, step by step:
After step 6, the system learning process is complete. You can use it with the remote control:
double gate full opening
pedestrian opening (single gate)
D10- System learning process for single leaf gate
Switch 1 OFF.
Open the leaf totally.
Press «SYS-learn» (until the LED2 light begins to flash once every second, instead of twice every second as it normally would), then press the upper-right key for a single gate.
The system learning process will be as follows, step by step:
single gate opening
TECHNICAL FEATURE
Motor
- Motor 12V DC motor with manual release
- Gear type Worm gear
- Stroke length 290mm
- Power supply 12 VDC
- Maximum gate weight 150 kg/ 1,5 m per leaf
- Maximum gate length 150 kg/ 1,5 m per leaf
- Operating Temperature -20°C~+50°C
- Dimension 605 mm x 68 mm x 67.6 mm
Blinker (option)
- Bulb LED
- Power cable 2 x 1 mm2 (not included)
- Bulb connection Polarized
- Screws included
- Power supply 12 V DC
- Operating temperature -20°C~+50°C
- Dimensions 50 x 70x 70 mm
Remote controls
- Channels 4
- Frequency – Maximum transmitted power 433.92 MHz – power< 10 mW
- Power supply 2 batteries lithium CR2016 included
- Security rolling code technology
Photocells (option)
- Detection Method Infrared Beam
- Sensing Range MAX~10m
- Input Voltage 12~24V AC/DC
- Response Time < 100ms
- Operation Indicator RX: Red LED On (beam broken)/ Off (beam aligned) TX: Red LED On
- Dimensions 63x 63x 3 0mm
- Output Method Relay Output
MAINTENANCE
F1- Motor
Conduct the following operations at least every 6 months. If in high intensity of use, shorten the period in between.
Disconnect the power supply:
- Clean and lubricate the screws, the pins, and the hinge with grease.
- Check the fastening points are properly tightened.
- Make the wire connection are in good condition.
Connect the power supply:
- Check the power adjustments.
- Check the function of the manual release.
- Check the function of photocells or other safety device.
F2- Remote control

TECHNICAL ASSISTANCE
Troubleshooting
Problem : Solutions
Overheated Back-up Batteries
- Check the wiring connection of the batteries.
The gate doesn’t move when pressing the button of the transmitter
- Check if LEDl is “ON” once press the transmitter.
- Check if the voltage of the batteries is above 22V.
- Check if LED2 is “ON” and blinks accordingly.
- Make sure all the wiring connections are firmly connected to the terminals on the PCB.
- Make sure the fuse is workable. on the panel and power socket.
The transmitting distance is too short
- Make sure the connecting terminals of the Antenna is firm.
- Check the battery on the transmitter.
The Flashing light does not work
- Check if the wiring connection of the flashing light is correct.
The leaves suddenly stop during moving
The leaves does not move or only move toward one direction
- Check if the gate can be moved freely and no obstacles in between.
- Make sure the wiring connection of the gear motors is firm.
- Make sure the fuse is workable.
- Make sure no obstacle is present in the safety beam.
- Cut off the power of the engine. Release the motor and make sure the gate can move freely.
The master gate closes to the end first and the slave gate stops, which the opening or closing sequence is not being operated properly
- Check if the gate can be moved freely and no obstacles in between.
- Make sure the wiring connection of the gear motors is firm.
- Make sure the fuse is workable.
- Make sure the safety beam are operating properly if installed.
- Cut off the power of the engine. Release the motor and make sure the gate can move freely.
- Increase the delivered power switch 2 and 3.
The gear motors does not run and the relay is
- Check the condition fuse. noisy when operating the gate opening and closing
No remote control connection
- Check LEDi is blinking when pressing the remote control key.
- Check RFl receiver is ok.
Online assistance
Any question ?
For an individual answer, use our on line chat on our website www.scs-sentinel.com
WARRANTY
The invoice will be required as proof of purchase date. Are never covered by our warranty:
- Damage resulting from the consequences of a bad installation (bad wiring, reverse polarity … ).
- Damage resulting from improper use of the device (use in contradiction with the manual) or its modification.
- Damage resulting from the consequences of the use of components not from SCS SENTINEL.
- Damage due to lack of maintenance, physical shock.
- Damage due to weather: hail, lightning, strong wind etc ..
- Returns made without a copy of the invoice or receipt
Don’t throw batteries or out of order products with the household waste (garbage). The dangerous substances that they are likely to include may harm health or the environment. Make your retailer take back these products or use the selective collect of garbage proposed by your city.
Toutes les infos sur :
www.scs-sentinel.com

sentinel
110, rue Pierre-Gilles de Gennes 49300 Chalet – France
(opened or closed gate) will turn OFF the automatic mode (the blinker will flash 3 times as confirmation).
double gate full opening















