
Clarke HS1 Welding Headshield 
INTRODUCTION
Thank you for purchasing this CLARKE Welding Headshield.
Please read this manual thoroughly and follow the instructions given. In doing so you will ensure the safety of yourself and that of others around you, and you can look forward to the product giving you long and satisfactory service.
GUARANTEE
This product is guaranteed against faulty manufacture for a period of 12 months from the date of purchase. Please keep your receipt which will be required as proof of purchase.
This guarantee is invalid if the product is found to have been abused or tampered with in any way, or not used for its intended purpose. Faulty goods should be returned to their place of purchase, no product can be returned to us without prior permission.
This guarantee does not effect your statutory rights.
ENVIRONMENTAL PROTECTION
If broken, do not dispose of this product with general household waste. This product contains valuable raw materials and should be disposed of appropriately at a recognised disposal facility.
SPECIFICATION
| Viewing field (W x H) | 103 X 81 mm |
| Filter shade number | (DIN) 11 |
| Operating temperature range | -5oC to +50oC |
| Weight | 0.44 kg |
| Dimensions (D x W x H) | 300 x 215 x 230 mm (excluding headband) |
GENERAL SAFETY WARNINGS
- The protective lens in this headshield is breakable and should only be used for welding applications.
- This headshield is designed for use in arc welding or cutting applications such as ARC, MIG/MAG.
- Use this headshield for face and eye protection against harmful rays, sparks and spatter from welding and cutting.
- This headshield is not suitable for laser welding, laser cutting or
“overhead” welding applications, or for oxyacetylene. - Never place this product on a hot surface.
- Do not make any modifications to this product. Protection can be seriously impaired if modifications are made.
- When necessary, use identical replacement parts. This will ensure that the safety of the product is maintained.
- Only trained welders should use this product.
- Do not use without protective lens cover installed. Do not use if any part of the headshield is cracked or broken.
- Do not use this headshield for welding above the range of DIN 11. Harm to the eyes and impaired eyesight may result.
- Always use the mask for the duration of exposure to hazards. Stop work if dizziness or eye irritation occurs or if the mask becomes damaged.
- Please keep these instructions in a safe place for future reference.
PREPARATION & USE
ADJUSTING THE HEADBAND TO FIT
The headband should be adjusted both in diameter and height to fit the wearer’s head. To do this:
- Press the headband adjustment knob on the back of the headband and rotate the knob either left or right to expand or contract the headband.
- The top headband can be adjusted by bending the strap and positioning the peg in the appropriate hole.
ADJUSTING THE TILT ANGLE
- Loosen the adjusting nuts slightly.
- Move the tab onto the chosen pin on the headband, repeat on both sides.
NOTE: The tabs should be located on the same pin on either side of the headband. - Retighten the adjusting nuts.
- Try the headshield on and if necessary, readjust.
CARE & MAINTENANCE
GENERAL
Damaged components must be replaced immediately to avoid risk of eye and face injuries. Periodically inspect the lenses. Cracked, pitted or scratched lenses reduce vision and seriously reduce level of protection and should be replaced with genuine, certified spare parts. The lens can be removed for cleaning or replacement after prising out the lens retainer.
CLEANING & STORAGE
The headshield should be stored in its box or similar place.
Clean all lenses with a soft tissue and suitable lens cleaning fluid. Do not use solvents. Never use tools or other sharp objects to remove material from the lens or headshield. This may cause damage which may impair function and invalidate the warranty.
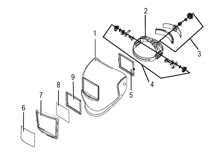
COMPONENT PARTS
| 1 | Helmet Body |
| 2 | Headband |
| 3 | Headband Adjustment Knob |
| 4. | Headband Angle Adjustment Knobs |
| 5 | Rear Lens Holder |
| 6 | Clear Lens Protector |
| 7 | Lens Frame |
| 8 | Dark Lens |
| 9 | Lens Spacer |
DECLARATION OF CONFORMITY – UKCA

DECLARATION OF CONFORMITY – CE

PARTS & SERVICE:
0208 988 740O
Parts Enquiries
[email protected]
Servicing & Technical Enquiries
[email protected]
SALES: UK 01992 565333 or Export 00 44 (0)1992 565335
CartE INTERNATIONAL Hemnal Street, Epping, Essex CM16 4LG
www.clarkeinternational.com

NOTE: The tabs should be located on the same pin on either side of the headband.





















