AURA LIGHT Berzelia Street CL2070

Installation manual
TECHNICAL FEATURES
| TECHNICAL FEATURES | |
| Voltage | 220-240 V~ |
| Frequence | 50/60 Hz |
| Insulation Class | Class I/Class II |
| Weight (kg) | 3,5 |
| ta | 50 °C |
| Power Factor | >0,95 |
| Projection Area | 0,10 m2 |
| Glass | Tempered Glass |

| SERIES/MODEL | LED | P MAX (W) | SUPPLY CURRENT (A) | CLASS I | CLASS II |
|
Berzelia Street CL 2070 |
16 | 16 | 0,07 | X | X |
| 24 | 0,11 | X | X | ||
| 35 | 0,16 | X | X | ||
| 40 | 0,18 | X | X | ||
| 50 | 0,23 | X | X | ||
| 60 | 0,27 | X | X | ||
| 75 | 0,34 | X | _ |
- Suitable for use outdoor.
- If the external flexible cable or cord of this luminaire is damaged, it will be exclusively replaced by the manufacturer or his service agent avoid a hazard.
- Terminal block not included. Installation must be performed by a qualified person.
- The light source contained in this luminaire shall only be replaced by the manufacturer or his service agent or a similar qualified person.
- Recommended pole height is between 4-8 meters due to the wattages and only to be installed outside arms reach.

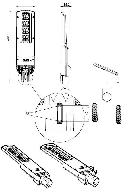
Note: Only original spare parts should be used in maintenance. - By the help of adjustable mounting module luminaire could be fixed both from side and postup entries with 16 different angles.
- 10 nm force should be applied to the bolt of the mounting module for closing.
For pole mounting; two stainless steel allen key (4 size) or bolt keys (13 size) should be used. - Luminaire should be fixed to the pole or console with size 4 key.

- Luminaire has easy connect system for the electricity connection.

| CLASS I | ||
| Brown | Blue | Green/Yellow |
| Line | Neutral | Earth |
| CLASS II | |
| Brown | Blue |
| Line | Neutral |
Replaceable LED light source by a professional or manufacturer.

Replaceable control gear by a professional.

DIMENSION


Aura Light AB, Sweden
Phone customer service +46 (0)20 32 30 30
[email protected], www.auralight.com























