PRINCESS AUTO 8046492 Powerfist Floor Model Abrasive Blasting Cabinet

Please read and understand all instructions before use. Retain this manual for future reference.
SPECIFICATIONS
| Material | Heavy steel construction |
| Average Air Consumption | 9.5 CFM @ 90 PSI |
| Operating Pressure | 80 to 120 PSI |
INTRODUCTION
Place parts to be blasted in the cabinet and close the door. With hands in the cabinet gloves, aim the power gun at the object. Pull the trigger and let our unique siphon recycling system do the rest. Rust, paint and scale are quickly removed, leaving the original metal clean and intact. Abrasive drops to the bottom of the cabinet for continual recycling each time the power gun is activated.
IMPORTANT SAFETY PRECAUTIONS
WARNING! Read and understand all instructions before using this tool. The operator must follow basic precautions to reduce the risk of personal injury and / or damage to the equipment. Before allowing someone else to use this tool, make sure they are aware of all safety information.
NOTE: Keep this manual for the safety warnings, precautions and operating, inspection and maintenance instructions. When this manual refers to a part number, it refers to the included parts list.
WORK AREA
- Operate in a safe work environment. Keep your work area clean and well lit.
- Do not use in the presence of flammable gases or liquids.
- Keep anyone not wearing the appropriate safety equipment away from the work area.
NOTE: Minimize distractions in the work environment. Distractions can cause you to lose control of the tool. - Store tool properly in a safe and dry location to prevent rust or damage.
- Always lock up tools and keep them out of the reach of children.
PERSONAL SAFETY
CAUTION! Wear protective equipment approved by the Canadian Standards Association (CSA) or American National Standards Institute (ANSI) when using the Floor Model Sandblast Cabinet.
- Dress properly; wear protective equipment. Use breathing, ear, eye, face, foot, hand and head protection. Always wear ANSI approved impact safety goggles, which must provide both frontal and side protection. Protect your hands with suitable gloves. Wear a full face shield if your work creates metal filings or wood chips. Protect your head from falling objects by wearing a hard hat. Wear an ANSI approved dust mask or respirator when working around metal, wood and chemical dusts and mists. Wear ANSI approved earplugs. Protective, electrically non-conductive clothes and non-skid footwear are recommended when working. Wear steel-toed boots to prevent injury from falling objects.
- Control the tool, personal movement and the work environment to avoid personal injury or damage to the tool. Stay alert, watch what you are doing.
- Keep articles of clothing, jewelry, hair, etc., away from moving parts to avoid entanglement with a tool.
- Do not operate any machine / tool when tired or under the influence of drugs,
alcohol or medications. - Do not overreach when operating a tool. Proper footing and balance enables better control of a tool in unexpected situations.
- Use clamps or other practical ways to support or secure the work piece to a stable platform. Holding the work piece by hand or against your body is not stable and may lead to loss of control and injury.
SPECIFIC SAFETY PRECAUTIONS
ABRASIVE BLASTING MEDIA
The blasting process emits abrasive media under pressure that breaks apart upon impact. The resulting dust is a combination of the media and the material being removed by the abrasive. Both the media and the material being removed may have toxic components such as lead in paint.
- Check the abrasive media’s Material Safety Data Sheet (MSDS) for information on the health risks and preventative measure that can be taken to minimize those risks.
- Determine the toxicity of the material being removed and take appropriate measures.
- Work in a ventilated area whenever possible.
- Wear NIOSH approved respirators that protect both the lower face and eyes during blasting operations whenever possible.
WARNING! Sand or silica particle dust can result in the lung disease known as silicosis, when inhaled over a short period of time. Silicosis causes shortness of breath, cough, fever and bluish skin (cyanosis). Seek immediate medical attention if these symptoms appear.
TOOL USE AND CARE
WARNING! Do not use the tool if the trigger or ON / OFF switch does not function properly. Any tool that cannot be controlled with the ON / OFF switch is dangerous and must be repaired.
- Use the correct tool for the job. Maximize tool performance and safety by using the tool for its intended task.
- Do not modify this tool or use for a purpose for which it was not designed.
- This tool / device was designed for a specific function.
Do Not:- Modify or alter the floor model abrasive blasting cabinet; all parts and accessories are designed with built-it safety features that may be compromised if altered.
- Use the floor model abrasive blasting cabinet in a way for which it was not designed.
- Avoid unintentional starts. Be sure the trigger is in the neutral position when not in use and before connecting it to any air source.
- Maintain the floor model abrasive blasting cabinet with care (see Maintenance).
AIR COMPRESSOR
Ensure the compressor used with the floor model abrasive blasting cabinet can supply the required Cubic Feet per Minute at the required PSI (see Specifications).
- Use proper size and type of air pressure line and fittings.
- Use only clean, dry, regulated compressed air at the rated range as marked on the tool.
CAUTION! Do not use an air source besides an air compressor to power this tool. - Always use an air regulator, an in-line filter and a moisture trap your compressed air system. These accessories will increase the tool’s life and keeps the tool in good working condition. See the diagram for recommended components of an airline.
- Avoid using an air hose that is too long. The longer the hose, the lower the pressure that reaches the tool possibly causing it to cease functioning. As well, a longer hose can become a tripping hazard.
- Air Tool CFM consumption ratings are based upon a 25% duty cycle. If you require continuous duty, a larger compressor will be required. See Specifications for the tool’s continuous duty limit.

AIR SOURCE INSTALLATION
WARNING! Never use pure oxygen, carbon dioxide, combustible gases or any bottled gas as an air source for a tool. Such gases are capable of causing an explosion and serious injury to persons.
- Set the air pressure regulator on the air compressor to 90 PSI. Do not exceed the floor model abrasive blasting cabinet’s recommended air pressure. Excess pressure could result in damage to the tool, to your work piece or serious personal injury.
- Prepare a standard 1/4 in. air connector for use with your tool. Wrap the threaded portion of the air connector with thread seal tape. Wrap in a clockwise direction so it will not unravel when attaching to a quick connector. Attach it to the floor model abrasive blasting cabinet’s air inlet and tighten.
- Attach a standard quick connector to the air source’s hose. Attach the air hose to the tool’s air connector.
- Check the air line and its connections for air leaks. Do not use the floor model abrasive blasting cabinet until you have repaired all air leaks.
DISCONNECTING AIR SOURCE
WARNING! Failure to follow these steps could result in severe injury, tool or property damage.
Disconnect the floor model abrasive blasting cabinet from air source before cleaning, servicing, changing parts / accessories or when not in use.
- Turn the air regulator to the OFF or L position.
- Turn off the air compressor.
- Disconnect the air pressure hose.
- Discharge any residual pressure inside the floor model abrasive blasting cabinet.
ABRASIVE BLASTING MEDIA
There are a number of different abrasive media the floor model abrasive blasting cabinet can use as an abrasive. Each type of abrasive has a different application and effect on the object being blasted. Each abrasive may also have hazards or health issues associated with their use.
NOTE: Read the ABRASIVE BLASTING MEDIA under SPECIFIC SAFETY PRECAUTIONS before use and consult the Material Safety Data Sheet for each abrasive media product.
Recommended Abrasive Blasting Media:
- Aluminum Oxide
- Glass Bead
- Steel Shot
- Copper Slag
Not Recommended Abrasive Blasting Media:
These Blasting Medias clog easier and require different nozzles and higher pressures.
- Baking soda, grain starch
- Crushed nutshells
Material types:
- Mineral: Sand or silica (see Safety section), garnet, magnesium sulphate.
- Sand should be avoided, as there are other abrasives that perform the same or better without the detrimental health effects.
- Organic: Crushed nutshells.
- Synthetic: Baking soda, grain starch.
- Engineered: Aluminum oxide, glass beads.
- Metal: Shot or grit made from steel, copper, aluminum or zinc.
NOTE: Store abrasive in a dry location. Wet abrasive will clog sandblasters.
UNPACKING
- Carefully remove the floor model abrasive blasting cabinet from the package.
- Retain packing material until you have carefully inspected and satisfactorily installed or operated the floor model abrasive blasting cabinet.
- Make sure that all items in the parts list are included.
- Inspect the parts carefully to make sure the floor model abrasive blasting cabinet was not damaged while shipping.
ASSEMBLY
CABINET INSTALLATION
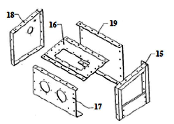
- Connect roof (#16) with front plate (#17) and rear plate (#19) using M5x12 screws with flange (#47), M5 hex nuts with flange (#53) and Ø5 flat washers (#45).
- Connect the left plate (#18) and the right plate (#15) to the roof assembly using M5x12 screws with flange (#47), M5 hex nuts with flange (#53) and Ø5 flat washers (#45). Tighten all screws and nuts. Place the cabinet on a table or bench.
FUNNEL INSTALLATION
Connect the funnel’s four sides (#6, #7) using M5x12 screws with flange (#47), M5 hex nuts with flange (#53) and Ø5 flat washers (#45).
INSTALLATION
- Place the cabinet on its back on a table or bench. Connect the funnel bottom plate (#9), screen frame (#10) to the cabinet using M6x25 screws (#44), M6 hex nuts with flange (#52) and Ø6 flat washers (#57). Tighten all screws and nuts.
- Put the screen (#11) on the funnel through the door of the cabinet.
- Push the feet (#32) into the bottom of the legs (#1).
- Connect the legs (#1) with the cabinet and shelf (#2) using M6x12 screws (#43), M6 hex nuts with flange (#52) and Ø6 flat washers (#57). Secure them in place.
- Fix section flange (#22), switch box (#20) onto the left plate of the cabinet (#18) and fix lock (#12) onto the front plate of the cabinet (#17) using M4x10 screws (#50), M4 hex nuts (#54) and Ø4 flat washers (#56) separately.
- Fix the glove seal rings (#30) and glove mounting rings (#33) on the front plate of the cabinet (#17) using M4x16 screws (#48), M6 hex nuts (#54) and Ø4 flat washers (#56). Fit the gloves (#14) on the mounting rings (#33) with clamps (#31).
- Set the seal ring (#23) in the hole of the cabinet back (#19) and slip the large cover (#36) into place.
- Affix the thick foam sealant tape around the inside of the door (#13). Attach the door (#13) to the rear plate of the cabinet back (#19) using M5x12 screws with flange (#47), M5 hex nuts with flange (#53) and Ø5 flat washers (#45).
- Affix the thin foam sealant tape to the glass (#28), between the frame and the glass. Connect the frame (#28), glass (#27), Plexiglas (#26), protection film (#25) with the roof of the cabinet (#16) using M4x20 screws (#49), M4 hex nuts (#54) and Ø4 flat washers (#56).
NOTE: It may be necessary to seal the hopper with a silicon sealant to prevent leaking of blast media.
CONNECTING THE AIR HOSE
- Your shop air hose is connected to the air inlet of the power gun. Bottom handle of the gun has 1/4 in. NPT pipe threads which will fit most air hose. The cabinet pickup tube leads to the clear siphon hose, which connects to the gun head assembly.
WARNING! DO NOT operate the blasting system at or over 120 PSI. - At the right front of the cabinet is an opening for the air hose from your compressor. An ordinary 3/8 in. I.D. air hose should fit through this opening. Connect your air hose to the bottom handle of the power gun by screwing into place (using Teflon tape or pipe compound –do not over tighten). Close the door and pull the trigger a few times to test the operation. You are now ready to add abrasive.
- Add suitable abrasive by pouring through the side door opening and allowing it to fill the funnel area. Do not overfill (1/2 full below the work area screen is best.)
NOTE: Use a fine grade of abrasive to prevent clogging.
OPTIONAL ACCESSORIES
The following accessories are available separately for the floor model abrasive blasting cabinet. Please contact your nearest Princess Auto location for details:
- Interior fluorescent light (#39) (8012802)
- 12VDC adapter (8012795)
- Replacement ceramic nozzles (8026717)
- Replacement window film (8578759)
- Replacement abrasive blasting gloves (8133043)
OPERATION
WARNING! Before you begin using the abrasive blasting cabinet, make sure that the vent plug and the intake plug are in the OPEN position. Failure to follow these steps could result in severe personal injury, tool or property damage.
- Place the part you wish to abrasive blast in the cabinet. Always close and latch the lid after placing the part in the cabinet prior to blasting. Severe injury to the skin and eyes may result from exposure to the blast stream, as well as other health concerns.
- After putting your hands into the gloves, firmly grasp the gun and depress the trigger. This should begin the abrasive flow. If no flow is seen, you may need to clear the intake tube. Simply move it around inside the cabinet to dislodge any blockage. If this does not work, try dislodging the media with a drill bit held in your hand. You need to discard the moist media.
- Now you may begin finishing your part. You should move the blast stream continuously over the part in an even and circular motion. To avoid undesirable peening, the flow should not be too hard or concentrated.
MAINTENANCE
NOTE: Disconnect power and air before performing any maintenance.
PLUGGED CONDITIONS
All blasting systems are prone to plugging or wear because of the abrasive material used. The following items should be checked as indicated:
- The blast nozzle may become plugged from moist media. Try dislodging the media with a drill bit held in your hand. You need to discard the moist media.
- If the abrasive pick-up hose appears plugged, simply move it around inside the cabinet to dislodge any blockage. If this does not work, try dislodging the media with a drill bit held in your hand. You need to discard the moist media. Dust may fly up when you do this so make sure the lid is down!
WEAR CONDITIONS
This is usually noted when an excessive amount of dust appears in the cabinet. Dust will occur if:
- The abrasive blasting media is worn out if it has lost its granular or spherical appearance or has a lot of debris mixed in from the parts being blasted, replace it. This is usually noticed when the abrasive media that exits the nozzle resembles more of a cloud than a stream.
- The air outlet vent is plugged or airflow out is blocked. Cleaning this vent should help reduce dust in the cabinet. The gun parts may wear out. This is usually evident when the blast pattern is too wide and ineffective; simply replace the nozzle or orifice.
TO REPLACE THE TRANSPARENT ACRYLIC GLASS
At the bottom of the transparent top lid, there is a 0.5 mm replaceable acrylic glass window. If the transparent acrylic glass window is becoming unclear, it may be replaced with a new one to avoid affecting vision during work.

GENERAL MAINTENANCE
Before making any adjustments or changing any accessory, turn off the tool and unplug it from its air source.
- The nozzle will wear away over time, causing the internal diameter to widen and disperse the media over a larger area, reducing the tool’s efficiency. The compressor will also need to work harder to maintain the pressure. Check at regular intervals and replace as appropriate.
- Always check for cracks and leaks in the gun, hose, and tanks. These problems must be fixed immediately due to the dangers involved with air under pressures.
- Check for damaged parts. Before using any tool, any part that appears to be damaged should be carefully checked to determine that it would operate properly and perform its intended functions. Check for alignment and binding of moving parts, for broken parts or mounting fixtures, or for any other condition that may affect proper operation.
- Use only identical replacement parts or accessories intended for use with this tool when servicing. Replace damaged parts immediately.
- Keep the tool clean. Wipe the tool with a clean cloth and periodically blow out all areas with compressed air. If compressed air is not available, use a brush to remove dust from areas. Do not use harsh chemicals or solvents to clean the tool. These chemicals could seriously damage the housing.
- Regularly inspect all mountings and screws to ensure tightness. Should any screws become loose, tighten immediately.
- If repairs are required, bring your tool to Princess Auto Ltd.
LUBRICATION
Do not use lubricants or air tool oil on the floor model abrasive blasting cabinet. The oil will contaminate the abrasive media, clogging the tool and reducing the effectiveness of the abrasive.
DISPOSING OF THE TOOL
- If your floor model abrasive blasting cabinet has become damaged beyond repair, do not throw it out. Take it to the appropriate recycling facility.
- Abrasive can be re-used until it eventually breaks down or becomes dusty. To discard worn abrasive, simply place an empty box under the spring loaded trap door to catch the discarded abrasive.
TROUBLESHOOTING
When repairs are needed, bring the tool to the nearest Princess Auto Ltd. If unable to do so, have a qualified technician service the tool.
| Problem | Possible Causes | Suggested Solutions |
| Excessive dust in the cabinet. | 1. Exhaust plugged or air flow is blocked.
2. Abrasive media worn.
3. Too much abrasive media inside.
4. Loose air line or fitting connections | 1. Clean rear vent and keep vent away from any wall.
2. Replace abrasive media.
3. Remove excess media.
4. Tighten fitting and make sure air lines are secure. |
| Uneven blasting actions. | 1. Too much abrasive media inside the cabinet.
2. Moisture present inside the cabinet. | 1. Remove excess media.
2. Check air line to make sure there is no moisture in it. |
| Inadequate speed or inefficiency of blast. | 1. Abrasive media worn.
2. Pressure too low.
3. Worn nozzle. | 1. Replace abrasive media.
2. Increase inlet pressure and check that the control valve is fully opened.
3. Replace nozzle. |
| Static electricity. | 1. Dry weather conditions. | 1. Leave the item being cleaned on the grating. |
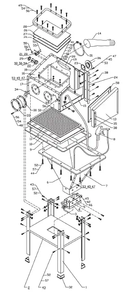
PARTS BREAKDOWN
PARTS LIST
| No. | Description | Qty. | No. | Description | Qty. | |
| 1 | Leg | 4 | 31 | Glove Clamp | 2 | |
| 2 | Shelf | 1 | 32 | Feet | 4 | |
| 3 | E Hook | 1 | 33 | Glove Mounting Ring | 2 | |
| 4 | Removal Cover | 1 | 34 | Leg Shim | 3 | |
| 5 | Funnel Mouth | 1 | 35 | Metal Liner | 1 | |
| 6 | Funnel Plate (Front, Rear) | 2 | 36 | Large Cap | 1 | |
| 7 | Funnel Plate (Left, Right) | 2 | 37 | Daylight Lamp Mounting Ring | 1 | |
| 8 | Gun | 1 | 38 | Phillips Screw M4 x 12 | 11 | |
| 9 | Bottom Plate | 1 | 39 | Interior Fluorescent Light | 1 | |
| 10 | Screen Frame | 1 | 40 | — | — | |
| 11 | Mesh Screen | 1 | 41 | Phillips Screw M6 x 45 | 2 | |
| 12 | Latch | 1 | 42 | Hex Nut M5 | 1 | |
| 13 | Door | 1 | 43 | Phillips Screw M6x12 | 24 | |
| 14 | Glove | 2 | 44 | Phillips Screw M6x25 | 14 | |
| 15 | Right Plate | 1 | 45 | Flat Washer Ø5 | 62 | |
| 16 | Roof | 1 | 46 | Phillips Screw M5x50 | 1 | |
| 17 | Cabinet Front Plate | 1 | 47 | Phillips Screw with Flange M5x12 | 61 | |
| 18 | Cabinet Left Plate | 1 | 48 | Phillips Screw M4x16 | 12 | |
| 19 | Cabinet Rear Plate | 1 | 49 | Phillips Screw M4x20 | 12 | |
| 20 | Switch Box | 1 | 50 | Phillips Screw M4x10 | 11 | |
| 21 | Switch | 1 | 51 | Phillips Screw M2x10 | 2 | |
| 22 | Connection Flange | 1 | 52 | Hex Nut with Flange M6 | 40 | |
| 23 | Seal Ring | 1 | 53 | Hex Nut with Flange M5 | 61 | |
| 24 | Hinge | 1 | 54 | Hex Nut M4 | 35 | |
| 25 | Protection Film | 1 | 55 | Hex Nut M2 | 2 | |
| 26 | Plexiglas | 1 | 56 | Flat Washer Ø4 | 35 | |
| 27 | Plexiglas | 1 | 57 | Flat Washer Ø6 | 40 | |
| 28 | Frame | 1 | 58 | Door Seal | 1 | |
| 29 | Small Cap | 1 | ||||
| 30 | Glove Seal Ring | 2 | ||||
Visit www.princessauto.com for more information


















