IKEA 704.465.40 KOMPLEMENT Pull Out Trouser Hanger Instruction Manual
Safety Instructions


Components
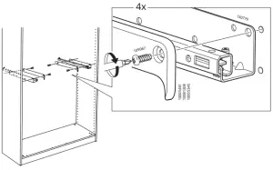
Assembly Instructions
IKEA 704.465.40 KOMPLEMENT Pull Out Trouser Hanger Instruction Manual












Download manual
Here you can download full pdf version of manual, it may contain additional safety instructions, warranty information, FCC rules, etc.