Quick Start Guide
EasyCoder® 3400e, 4420, 4440
Bar Code Label Printer
Out of the Box

Note: Make sure that you remove all packing material from the printer before you proceed.
Note: If you are using plastic ribbon cores, you need to install the core locking brackets for the plastic ribbon cores. For help, see the printer user’s manual.
On the CD
Congratulations on your purchase of the EasyCoder 3400e, 4420, or 4440 Bar Code Label Printer. These printers combine proven performance, economic value, and ease of use. Your printer is equipped with the Printer Companion CD, a sample roll of media, and a sample roll of thermal transfer ribbon. The Printer Companion CD contains technical documentation, information about Intermec media supplies, and software. This overview will help you get the most from your printer:
PrintSet™ PrintSet is a Microsoft® Windows™-based configuration utility that lets you set print speed and media sensitivity for optimum print quality. You can also use PrintSet to download additional fonts or graphics and install new flash-based firmware. InterDriver™ InterDriver is a sophisticated Windows printer driver that is compatible with Windows 95, 98, ME, NT v4.0, 2000, and XP.
ActiveX® Controls ActiveX Controls insert bar codes into Microsoft application programs
printed with InterDriver.
LabelShop® START LabelShop START is a basic Windows-based design and print software package.
Connecting the Printer
You can connect your printer to a PC, a local area network, an AS/400 (or another midrange system), or a mainframe. This section explains how to connect the printer to your PC. You can connect the printer to either a serial (COM) port or a parallel port on your PC. You must provide the correct cables to connect the printer. Use the following table to determine the correct Intermec cable for your application. 1 2 F oTgnitcennoCroF oTgnitcennoCroF oTgnitcennoCro U elba|
troplaires CP 396840N/P(medomllun,nip-9otretnirpnip-52,CPMBI )866840N/P(medomllun,nip-52otretnirpnip-52,CPMBI
troplellarap CP )Pelbactroplellara421095N/P(
Contact your local Intermec representative for ordering assistance.
- Turn the On/Off switch to the off (O) position.

- Plug the appropriate connector into the serial (A) or parallel (B) communications port. Plug the other end of the cable into a serial or a parallel port on your PC
Note: If you are connecting the printer to a serial port on your PC, you may need to change the serial port configuration of your PC to match the printer
Specifications
Electrical Requirements
Input Voltage: ~100, 120, or 230 V ±10%
Frequency: 47-63 Hz
Environment
Operating: 4°C to 40°C (40°F to 104°F)
Storage: 0°C to 70°C (32°F to 120°F)
Humidity: 10% to 90% non-condensing
Options and Accessories
EasyLAN Wireless: This option lets the printer communicate either wirelessly with a PC
using an 802.11b radio card or with other devices through an access point.
EasyLAN 10i2 Ethernet adapter: This accessory allows you to share the available printer resources through an Ethernet network.
Media Accessories
The self-strip option is a factory-installed accessory. The cutter can be factory- or field-installed.
Connecting the Printer to a Power Supply
- Turn the On/Off switch to the off (O) position.

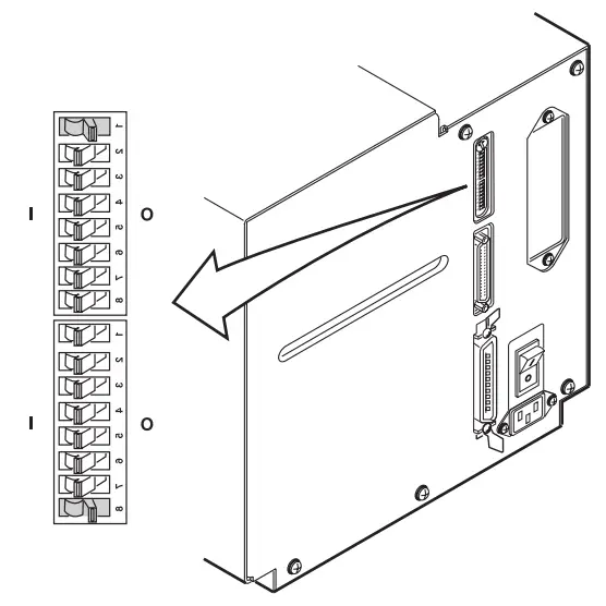
- Make sure the DIP switches are set to their default settings.
Top Bank Set switch 1 on (|). Set switches 2 through 8 off (O).
Note: The 3400e does not use switch 8 on the top bank. - Plug the AC power cord into the AC power cord receptacle.
- Plug the other end of the power cord into a grounded wall outlet or surge protector.
Loading a Roll of Media
- Open the media cover (A) and lift it away (B, C) from the top of the printer.

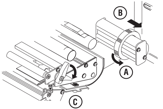
- Turn the supply roll retainer counterclockwise to release it. B Slide the supply roll retainer to the outer end of the supply roll post and then turn the supply roll retainer clockwise to the locked position. C Raise the printhead by rotating the head lift lever clockwise.

- A Place the roll of media on the supply roll post. If the roll is less than 3 inches wide, place the media support on the supply roll post. B Turn the supply roll retainer counterclockwise and slide it up to the edge of the roll of media. C Turn the supply roll retainer clockwise to lock it in place. If you installed the media support, it should move freely.

- A Loosen the edge guide on the lower media guide.
B Slide the edge guide to the outer edge of the lower media guide and tighten it in place.
C Pull down the lower media guide to allow easy access to the media path.
- Unroll several inches of media and route it through the printer mechanism.

- A Release the lower media guide. Loosen the edge guide and slide it into the edge of the media. Tighten the edge guide in place.
B Rotate the head lift lever counterclockwise until it locks
- Press the Feed/Pause button to advance one label through the printer.

- Replace the media cover.

Loading Thermal Transfer Ribbon
Note: If you are using plastic ribbon cores, you need to install the core locking brackets for the plastic ribbon cores before loading the thermal transfer ribbon. For help, see the printer user’s manual.
- Open the media cover.

- Make sure the printhead is raised. Raise the printhead by rotating the head lift lever clockwise.

- A Slide the empty ribbon core that came with the printer onto the ribbon rewind hub.
B Slide the roll of thermal transfer ribbon onto the ribbon supply hub with the ribbon roller unwinding clockwise.
C Detach the leader from the thermal transfer ribbon roll and unwind approximately 20.5 cm (8 in) of ribbon.
- Route the ribbon leader through the printer mechanism.

- Attach the ribbon leader to the empty ribbon core using the adhesive strip on the leading edge. Turn the ribbon rewind hub clockwise until the ribbon runs smoothly through the printhead mechanism.

- Replace the media cover.

- Enable thermal transfer printing by setting DIP switch 8 on the bottom bank of switches to the on (|) position. Turn the printer power off and then on to activate the new setting.

- Press the Feed/Pause button to advance the ribbon through the printer

Printing a Test Label
- Turn the On/Off switch to the off (O) position.

- Press and hold the Feed/ Pause button while you turn the On/Off switch to the on (|) position. The Alert and Empty/Pause LEDs blink during the printer self-test.

- Release the Feed/Pause button when the media starts moving. The printer feeds out one or two blank labels, and then it prints the hardware configuration test label.

- Turn the On/ Off switch off and then on

More Information
For more information on using these printers, please see:
- EasyCoder® 3400e Bar Code Label Printer User’s Manual (P/N 071881)
- EasyCoder® 4420/4440 Bar Code Label Printer User’s Manual (P/N 066392)
- Intermec website at www.intermec.com
EasyCoder 3400e, 4420, 4440 Bar Code Label Printer Quick Start Guide

6001 36th Avenue West
Everett, WA 98203
U.S.A.
www.intermec.com
© 2003 Intermec Technologies Corp.
All Rights Reserved





































