ONELAP G601 Gaming Bike
Quick Start Guide
Thank you for choosing Onelap Gaming Bike. Please carefully read this manual betore using the device. If there is any question, please contact us:
Email: [email protected]
Component List
Installation Tool Diagram
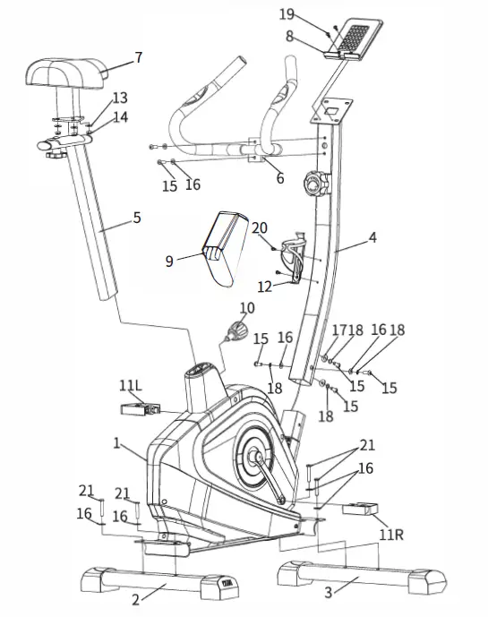
Component Diagram
Assembly Instructions
Step 1:
Take the Frame (1) out from the carton. Make the Handlebar Post (4) stand upright and install it onto the Frame (1). Fasten the Plain Washer (16), Curved Washer (17), Spring Washer (18), and Hex Socket Button Head Cap Screw (15) as illustrated in the diagram. Place two AA Batteries (22} into the battery compartment, put the Handlebar Post Trim Cover (9) down, and close it securely.
Step 2:
Take the Front and Rear Stabilizer Legs (2) & (3) out. Attach them to the Frame (1) using the Plain Washer (16) and the Hex Socket Button Head Cap Screw (21) and tighten the washer and the screw;
Take the Left and Right Pedals (11 R & L) out and install them on the left and right cranks, respectively.
Note:
The Left Pedal should be installed counterclockwise on the left crank; The Right Pedal should be installed clockwise on the right crank.
Step 3:
Take the Handlebar (6) out and attach it to the Handlebar Post (4) using the Hex Socket Button Head Cap Screw (15) and the Plain Washer (16) and tighten the screw and the washer;
Take the Phone Mount (8) out. Attach it to the Handlebar Post (4) using the Cross Recessed Pan Head Screw (19) and tighten the screw;
Take the Water Bottle Holder (12) out. Attach it to the Handlebar Post (4) using the Cross Recessed Pan Head Screw (20) and tighten the screw. The device is then assembled.
Downloading the One lap App from the Apple Store or Google play. 
Connecting the Device to the App
The Bike can be connected to the Onelap App on a phone via Bluetooth. The steps are as follows:
- Turn on the Bluetooth on your phone. Open the Onelap App and go to the Discover Device page;
- Pedal the Bike to wake up its Bluetooth broadcast. The device name and ID will appear in the device list on the App;
- Tap “Connect”. Once connected to the App, the device can be controlled on the App.
Note:
To save battery life, Bluetooth is in sleep mode when the Bike is not being used and the App cannot find the device. When pedaling is detected, the Bike is wakened up and will wait for 30 seconds to be found and connected to the Onelap App. If not connected within this time period, the Bike will go into sleep mode again and should be wakened up again before the App can find and connect to it.
Warranty Terms
Thank you for choosing Onelap Gaming Bike. Please carefully read the following terms, in order to receive warranty service.
Repair, replacement, and return:
- This product has been strictly tested for quality. According to this Warranty, during the warranty period, if this product suffers from quality-related failures when being properly used, warranty service will be provided free of charge.
- The user can return or replace the product without any reason within 7 days as from the day of purchase (included) if the product suffers from quality issues.
- The warranty period for this product is 365 days, from the date of sale. If the date of sale is not specified, the warranty period shall start from the date of manufacture.
- For repairs covered by the warranty, the product must be packed in the original package and transported by the specified logistics service provider. Otherwise, the user shall bear the logistics cost or any loss caused by the transportation.
The following situations are not covered by the warranty:
- The validity period of the warranty service has expired;
- The product is damaged due to improper use, maintenance, or storage ;
- The product is damaged because the user did not use or installed the product as instructed in the user manual;
- The failure is caused by unauthorized repair, misuse, collision, negligence, abuse, liquid ingress, accident, alteration, or improper use of accessories not matched with the product;
- The Warranty has been altered without authorization;
- The user cannot provide a valid Warranty and invoice;
- The product serial number or code stated on the Warranty is inconsistent with that on the product;
- The failure or damage is caused by other issues irrelevant to product design, manufacture, and quality;
- The damage is caused by normal wear or dirt due to the use, including human factors such as scratches, exposure to chemical reagents, sharp objects or pressure, and falling;
- The damage is caused by force
After-Sales Service Period:
Onelap provides permanent after-sales service for the product.
When the validity period of the warranty service has expired, only a cost price will be charged for repairs due to product failures, and only the labor and accessory costs will be charged for repairs due to human factors.
Onelap reserves the right to change or interpret the above content.
FCC Rules
Note: This equipment has been tested and found to coripy with tre Emits for Class B digital device, pursuant to part L5 cf the FCC Rules. These li iriits are designed so provice reasonable protection agr inst harmful interference in a residential insta lation. This equipment generates, uses, and can radiase radio frequency energy and, it is not inste lled and used in accordance with the inszrutions, may cause channel interference to rad o communications.
However, there is no guarantee that interference will not concur in a particular installation. it his equipment does CUSE channel interference to radio or belevis on reception. which can be determined zy timing the equ’ pet of and on, the user is encouraged to try to correct the interference by one or more of the following measures
- Reorient or relocete the receving antenna.
- Increase the separation between the equipment and receiver.
- Connect the equipment nto an outlet on a circuit different from that3o which the receiver is connected.
- Consut the dealar or an experienced radio: TV technician for halp
FCC statements:
This device complies with part 15 of the FCC rules. Operation is subject to the following two conditions: (1) this device may not cause harmful interference, and 2) this device must accept any interference recelved, including interference that may cause undesired operation.
NOTE: The nmanufacturer is not responsible for any radio or tv interference caused by unauthorized modifications or changes to this equipment Such modifications or changes could void the users authority to operate the eauioment.
FCC Radiation Exposure Statement:
This equipment complies with FCC radiation exposure
limits set forth for an uncontrolled environment.



















