MOJOGEAR MG-07 Power Bank
Press the power button to turn on the power bank and to check the remaining battery power. Press the power button twice to turn off the power bank.

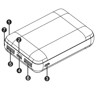
Overview
- Power button
- LED power indicator
- Micro USB Input
- USB-C Input/Output
- USB Output 1
- USB Output 2
- Lanyard hole
Technical details
- Name MOJOGEAR MINI Quick Charge 10000 mAh
- Size 93 x 63 x 23.9 mm
- Model P167A Q3Y
- Battery Lithium polymer battery
- Micro Input DC 5V-2A / 9V-2A
- USB-C Input DC 5V-2A / 9V-2A
- USB-C Output DC 5V-3A / 9V-2A / 12V-1.5A (Power Delivery 3.0)
- USB Output 1 DC 5V-3A / 9V-2A / 12V-1.5A (Quick Charge 3.0)
- USB Output 2 DC 5V-3A / 9V-2A / 12V-1.5A (Quick Charge 3.0)
- Battery capacity 10000 mAh / 37Wh
- Efficiency 85%
- Execution standard GB/T35590 – 2017
How to charge the power bank
There are two ways to charge the power bank:
- Use the included Micro USB cable to charge via the Micro USB port on the side.
- Use a USB-C cable to charge via the USB-C port on the front of the power bank. Connect the charging cable to a USB outlet (wall charger, laptop). To achieve maximum charging speed, we advise to use a USB outlet and cable that supports 18W fast charging. Depending on the charging speed, it can take 2,5 to 8 hours to fully charge the power bank.
Safety instructions
- Do not use near explosive gases or flammable materials.
- Do not expose to excessive heat, such as sunshine or fire. Avoid abrupt changes in temperature.
- Do not use or store in humid or wet conditions.
- Do not throw, shake, vibrate, drop, crush or mechanically abuse the power bank.
- Do not burn or incinerate.
- Do not cover with objects which may affect the heat dissipation.
- Avoid contact with battery chemicals.
- Keep out of reach of children
How to charge your devices
Connect a charging cable to the USB or USB-C port on the power bank. For devices with a Micro USB port, you can use the included cable. To use Quick Charge or fast charging via USB-C Power Delivery, please use a supported charging cable. When fast charging is activated, the second power indicator light will turn red. You can charge up to three devices simultaneously, using both USB ports and the USB-C port.MOJOGEAR develops high-quality products for smartphone filmmakers, mobile journalists and everyone else who wants to get the most out of their phone or camera. MOJOGEAR is proudly based in The Netherlands. All MOJOGEAR products are covered by a 2-year warranty. If you have any questions or feedback, please let us know at [email protected]. We’d love to hear from you!





















