ABB TA514 Safety Training Case

Introduction
- This document describes modification steps to be performed on TA514-SAFETY training case to use it with AC500 V3 non-safety CPU (e.g., PM5630-2ETH) instead of AC500 V2 non-safety CPU (e.g., PM573-ETH).
- AC500-S safety PLC module functions remain unchanged after modifications of TA514-SAFETY training case. It means that the AC500-S safety PLC and related safety functions can be used with TA514-SAFETY training case independently on the used non-safety CPU (AC500 V2 CPU or AC500 V3 CPU).
- Refer to https://new.abb.com/products/1SAP182900R0001/ta514-safety web page for more details on TA514-SAFETY. In addition, references [1] and [2] provide detailed TA514-SAFETY training case description and related AC500-S safety PLC functionality.
Modification instructions
Prerequisites
You will need the following AC500 products to be able to modify TA514-SAFETY training case for its us-age with AC500 V3 non-safety CPU:
- TB5620-2ETH terminal base, https://new.abb.com/products/1SAP112300R0278/tb5620-2eth
- PM5630-2ETH CPU module, https://new.abb.com/products/1SAP131000R0278/pm5630-2eth
In addition, a slotted screwdriver may be needed to be able to move I/O modules along the DIN rail.
Modification steps
DANGER: Make sure that TA514-SAFETY training case is not energized (refer to A in Figure 1, remove the external power supply connector from TA514-SAFETY) to prevent any electrical shock. In addition, it is recommended to bring the power switch in the OFF state (refer to B in Figure 1).
The following modification steps shall be performed on TA514-SAFETY training case to work with AC500 V3 non-safety CPU when it is de-energized (see DANGER note above):
- Remove the power connector (refer to C in Figure 1) from TB521-ETH terminal base of PM573-ETH CPU module and PROFINET cable (refer to D in Figure 1) from CM579-PNIO module.

- Remove CM579-PNIO and SM560-S modules from TB521-ETH.

- Remove PM573-ETH from TB521-ETH.

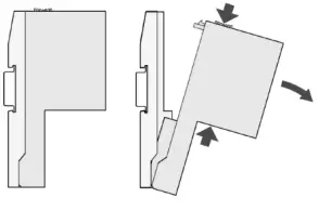
- Using the slotted screwdriver, unscrew the terminal block end stop (refer to E in Figure 1) and remove it from the DIN rail.
- Move carefully TB521-ETH along the DIN rail to the left to have no direct mechanical and electrical contact from TB521-ETH with TU582-S of AI581-S. If needed, the slotted screwdriver can be used as a supportive tool (refer to F in Figure 1 for an approximate location on where to apply the force using the slotted screwdriver).
- Remove TB521-ETH from the DIN rail.

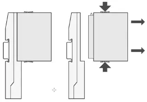
- Put TB5620-2ETH on the DIN rail position of TB521-ETH and shift it to the right to have the mechanical and electrical contact with TU582-S of AI581-S (refer to F in Figure 1).

- Put previously removed terminal block end stop (refer to E in Figure 1) back to the DIN rail and screw it tight to the DIN rail using the slotted screwdriver.
- Put PM5630-2ETH CPU module on TB5620-2ETH.

- Put SM560-S safety CPU module in the slot next to PM5630-2ETH on TB5620-2ETH and then CM579-PNIO module in the slot next to SM560-S on TB5620-2ETH.

- Connect the power connector to TB5620-2ETH below PM5630-2ETH (refer to C in Figure 1) and con-nect the PROFINET cable back to CM579-PNIO (refer to D in Figure 1).
- Connect the energized external power supply cable (refer to A in Figure 1) and put the power switch to ON state (refer to B in Figure 1) to switch on the TA514-SAFETY training case with the new PM5630-2ETH V3 CPU on it. TA514-SAFETY modification is complete now.
- You can now connect your own ETH cable to the ETH connector (refer to G in Figure 1) on TB5620-2ETH of PM5630-2ETH CPU module and access PM5630-2ETH from your engineering PC with Automation Builder suite according to AC500 V3 non-safety CPU instructions [3], e.g., to update PM5630-2ETH firm-ware, if needed, and download the Automation Builder project of TA514-SAFETY (refer to www.abb.com/plc for the latest TA514-SAFETY Automation Builder project with AC500 V3 non-safety CPU) to it and the safety CPU.
- For more details on assembly and disassembly of AC500 modules, refer to [4].
References
- TA514-SAFETY Training Case – Installation Instructions, https://search.abb.com/library/Download.aspx?DocumentID=3ADR025216M6801&LanguageCode=en&DocumentPartId=&Action=Launch
- TA514-SAFETY Training Case – Operation Manual, https://search.abb.com/library/Download.aspx?DocumentID=3ADR025217M6801&LanguageCode=en&DocumentPartId=&Action=Launch
- Getting started with AC500 V3 products, https://search.abb.com/library/Download.aspx?Docu-mentID=3ADR010584LanguageCode=en&DocumentPartId=&Action=Launch
- Installation instructions for AC500 modules, https://search.abb.com/library/Download.aspx?Docu-mentID=3ADR024117M02xx&LanguageCode=en&DocumentPartId=&Action=Launch
ABOUT COMPANY
- ABB Automation Products GmbH
- Eppelheimer Straße 82
- 69123 Heidelberg, Germany
- Phone: +49 62 21 701 1444 Fax :
- +49 62 21 701 1382
- Mail: [email protected]
- www.abb.com/plc
- We reserve the right to make technical changes or modify the contents of this document without prior notice. With regard to purchase orders, the agreed particulars shall prevail. ABB AG does not accept any responsibility whatsoever for potential errors or possible lack of information in this document.
- We reserve all rights in this document and in the subject matter and illustrations contained therein. Any reproduction, disclosure to third parties or utilization of its contents – in whole or in parts – is forbidden without prior written consent of ABB AG.
- Copyright© 2021 ABB. All rights reserved
























