CARTONI P70 Steering Pneumatic Pedestal

INTRODUCTION
The correct and safe use of this Pedestal is only guaranteed if it is used in accordance with the following manual and other documentation that accompanies the STEERING P70 Pedestal. It is therefore essential to read all the documentation carefully and to keep it in a safe place.
Although the equipment features safety devices not all the risks inherent its improper use can be avoided.
It is necessary to always make sure that all operators have completely read and understood the instruc-tions. CARTONI S.p.A. accepts no responsibility for damage to persons and/or property consequent to the improper use of the Pedestal.
Do not remove or deface any label, indication and warning affixed to the Pedestal.
CARTONI S.p.A. declines all responsibility for the failure to observe the standards of safety and prevention detailed in the various sections of this manual and for injuries caused due to improper use.
Any modification to the Pedestal must have prior authorization by CARTONI S.p.A.
All the standard maintenance operations (maintenance, repairs, cleaning and adjustments) should be carried out by competent personnel as prescribed in the manual.
PROPER USE
The Pedestal has been designed and built for the support and movement of a Head with Camera/lenses mounted on its horizontal and vertical axis.
In particular this manual refers to the machine specifications in section 2.
- It is strictly forbidden to use the Pedestal in any other way other than indicated.
- The components used must conform to the indications in section 2.
- Do not remove or deface any label, indication or warning affixed to the machine.
- Any modification to the Pedestal and/or its structure and/or accessories must have prior authorization by CARTONI S.p.A.
- Before using this Pedestal the manual should be read carefully. Whoever uses the machine must be well informed on the operative capacity and limits outlined in the manual.
WARRANTY
The STEERING P70 Pedestal is covered by a warranty against manufacturing defects for 5 years from the date of shipment (three years basic warranty + two years upon online registration to www.cartoni.com).
The warranty covers replacement of any defective part and the labour required excluding transport/duty costs.
In the case of replacement of single parts, these can be supplied free of charge by CARTONI S.p.A., but the owner will bear the cost of transport/duty charges for the parts.
The warranty is only valid if the Pedestal has been used properly as outlined in the manufacturer’s instruc-tions and has not been exposed to any mishandling. The warranty will be immediately invalid if modifications and/or repairs are carried out by unauthorized persons otherwise authorized by CARTONI S.p.A.
Components subject to wear and tear are not covered by the warranty.
The warranty is also invalidated by one of the following events:
- Failure to comply with payment conditions
- Failure to carry out appropriate maintenance
- Removal or mistreatment of marks and/or labels containing data and technical specification.
CARTONI S.p.A. accepts no responsibility for damage to the Pedestal caused by improper use or the malfunction of other equipment connected to the Camera support.
In any case, the warranty only covers Pedestal damage and/or malfunctions and does not entitle the purchaser/owner to claim any damages for loss of production time due to assumed or proven damage caused by and/or connected to the Pedestal itself.
AUTHORIZED PERSONNEL
Extraordinary maintenance and repairs to the machine can only be carried out by competent persons who are either employed, trained or authorized by CARTONI S.p.A. in writing.
Any information regarding repair/maintenance service stations can be obtained from CARTONI S.p.A.
REGULATORY INFORMATION
The design and construction of the Pedestal by CARTONI S.p.A. complies with the regulations listed below:
- UNI EN ISO 12100 (2010) Safety of machinery – General principles for design – Risk assesment and risk reduction
- Directive 2006/42/CE Covering the harmonization of member States’ laws on machinery
- Presidential Decree 17/2010 of 27/01/2010: Regulation implementing EU directive 2006/42/CE and subsequent amendments
Additional technical standards relating to specific safety measures as the UNI EN ISO 13857:2015 concerning safety distance and the UNI EN ISO 13850:2015 concerning the emergency machine stop have been considered.
This manual is supplied with the Pedestal along with the warranty card and both must be saved for any further consultation or use.
The present manual can be downloaded from www.cartoni.com website.
In case of sale or transferring ownership of the Pedestal, the manual and warranty card must be handed over to the new operator or owner.
The Pedestal designed and built by CARTONI S.p.A has passed the final test performed at the factory to verify functional features, dimensional characteristics and durability.
Test results are saved by internal records and relate to:
- Serial number and date of the test
- List of compliance data to standard
- Notes, attachments, specifications, etc.
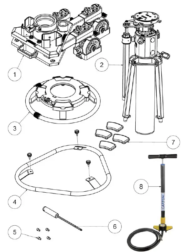
TECHNICAL SPECIFICATIONS


- Steering wheel mark
- Steering wheel
- Extendable pneumatic column
- Stroke lock
- Support assembly clamp
- Skid clamp
- Left skid leg
- Right skid leg
- Wheel lock
- Studio wheel Ø125 mm
- Cable guard
- Cable guard knob
- Trim weight
- Trim weight stowage
- Column support assembly
- Foot ring
- Skid base
- Central skid leg
- Strut inserting seat
- Fixed column
- Support strut
- Drag control knob
- Steering tube
- Trim weight seat
- Safety hooking bar
- Safety latch
- Gauge G1/8 – 20 bar
- Intake valve
- Steering wheel support
- 4 bolt mounting plate
- Steering wheel lock lever
- Skid arm locking/unlocking lever
Specifications
- Payload (up to) 75 Kg 165.3 lb
- Column weight 15 Kg 33.0 lb
- Steering wheel weight 3,6 Kg 7.9 lb
- Foot ring weight 1 Kg 2.2 lb
- Skid weight 24 Kg 52.9 lb
- Total weight 43,6 Kg 96.1 lb
- Trim weights (N. 4 x 1,3 Kg) 5,2 Kg 11.5 lb
- Minimum height 800 mm 31.5 in.
- Maximum height 1250 mm 49.2 in.
- On-shot stroke 450 mm 17.7 in.
- Minimum height from ground 19 mm 0.75 in.
- Doorway tracking width 807 mm 31.8 in.
- Wheel diameter 125 mm 4.9 in.
- Optional OB wheel diameter 160 mm 6.3 in.
- Steering wheel diameter 450 mm 17.7 in.
- Skid leg radius 453,5 mm 17.85 in.
- Max working pressure 8,5 bar 123,3 psi
- Max safety valve pressure 9,0 bar 130,5 psi
- Operational temperature -20° C / +60° C -4° F / +140° F
Compatible Equipment
The equipment used with the STEERING P70 Pedestal should comply with the following characteristics:
- Optimal weight (Camera + accessories + fluid Head): <55 kg;
- Maximum weight (Camera + lens/accessories + fluid Head): 75 kg;
- Weight distribution must take in consideration that the centre of gravity (CG) of the mounted elements stays well inside the rim of the wheelbase.
The Pedestal should be only used to support the horizontal and vertical Camera movements of Cameras within the weights indicated above.
- CARTONI S.p.A. accepts no responsibility for malfunctions or damage to persons or equipment, gear, materials, etc. when used with equipment other than those indicated in the manual.
- DANGER: It is strictly forbidden to climb on the Pedestal to transport people.
Optional accessories for tilt Head mounting:

Usage
The Pedestal has been designed to work in a clean, dry environment; furthermore, the Pedestal must not be used in areas with fine dust or corrosive gases.
- The Pedestal is not designed to work in areas subject to atmospheric explosives, the presence of fine dust, corrosive gases, acids, corrosive agents or salt or sea salt; furthermore, it is not suitable for use in presence of ionized radiation or nonionized radiation (x-rays, laser, micro-waves, ultraviolet rays).
The working conditions are:
- Temperature range: -20° C / + 60° C (- 4° F/+140° F)
- Humidity: 30 – 95 % (without condensation)
If the environmental conditions are critical we advise to install adequate air conditioning in the area to balance the humidity and temperature to acceptable levels.
The Pedestal needs no particular requirements for storage, but should be stored in a dry dust free closed place; these conditions should be ensured even during transportation.
If the storage area is dusty we advise to cover the Pedestal with a protective cover.
The Pedestal produces a very low-level noise; anyway, the weighted equivalent acoustic pressure emitted by the Pedestal is below 70 dB (A).
INSTALLATION AND SETTINGS
The Pedestal is split into the following component parts for shipment:

- Skid base – dolly with 12,5 cm (4.9 in.) diameter wheels
- One-stage column
- Steering wheel
- Foot-bar
- 4 x bolt 3/8’’ x ½’’
- Hexagonal key
- 4 x weights
- CARTONI manual air-pump
Prior to installation, please check the state of the packaging for its integrity on arrival, and also make sure that none of the components show signs of impact. If any such damage occurs CARTONI S.p.A. should be informed immediately.
If the product is to be forwarded elsewhere, it should be carefully packed and the greatest care should be taken not to damage any of the components.
The machine contains the following labeling and inscriptions:
- CE mark
- Model
- Type
- Serial number
It is strongly advised not to remove the labels found on the Pedestal; the labels must remain well-fixed, maintained and readable.
The information found on the Pedestal labels should be given whenever assistance or changes are needed.
The installation must be carried out by qualified personnel.
The product must be used on smooth horizontal flooring, able to hold the Pedestal weight and guarantee its stability.
The flooring should be such as to guarantee the stability of the Pedestal, both in movement and at rest.
SETTING THE PEDESTAL
Please assemble the Pedestal as follows:
Push down the red levers (32) to release the skid arms and rotate the two arms till the levers (32) click in place, locking the arms in completely opened position.
Assemble the foot ring (16) screwing in the three knobs (A) under the skid (central part). The foot ring (16) is useful for pushing the Pedestal but is mainly a safety device to prevent tip over of the Pedestal with off-set components such as teleprompters or additional monitors.
Extract the column with the column support assembly (15); in case the column support assembly (15) should be disassembled, insert it in the fixed column (20), positioning the centering pin to match the hole in the column, and lock the support assembly clamp (5).
Install the column in the skid as follows:
Keep the column in vertical position and open towards external direction the three support struts (21). Lift the struts (21) to 45°.
Insert the lower part of the column on the central hole of the Skid. Couple the struts (21) with the strut inserting seats (19) on the skid arms, and couple the lower part of the steering tube with the mechanism seat on the skid. Proceed with caution lowering the column base in the central hole of the skid.
Check that the struts (21) are perfectly coupled with the strut inserting seats (19) on the Skid arms and that the two clamps (5) and (6) be vertically aligned. Lower clamps (5) and (6) to secure column to skid.
Rotate the steering wheel (2) ½ turn: if the steering tube (23) has been correctly coupled the wheels are rotating. At the beginning of rotation a click will be heard.
- In case the wheels are not rotating and you do not hear the click, please check the correct column/skid coupling, loosen the clamps (5) and (6) and verify the correct position of the struts (21) and steering tube (23). Lock the clamps (6) (column-skid) and then (5) (struts-support) in sequence.
Assemble the steering wheel (2) to the column as follows:
Place the steering wheel (2) on the steering wheel support (29), coupling the green mark on (2) with one of the four red marks on (29).
Rotate the steering wheel (2) till the red mark matches the red mark on the steering wheel support (29).
Insert the steering wheel lock lever (31) to avoid the steering wheel disconnection from the column; rotate the lever right with the red side towards the red mark on the steering wheel. While operating never unlock the steering wheel.
- Never insert your hands or fingers under the steering wheel as gears are accessible and they can get trapped and injured.
- There is a potential risk of fingers being trapped between the upper and lower sections of the Pedestal. When the Camera is being lowered and particularly when pressurized air is released; do not insert fingers into this area at such time.

MOUNTING THE CAMERA
- Lock the wheels by pushing the lock lever (9) on each wheel.
- Lower the column pushing it down and lock the safety latch (26) to the safety hooking bar (25).
- Fix the pan and tilt Head directly on the top of the Pedestal or – if needed – using one of the accessories (see 2.2 Compatible equipment – Optional accessories) and secure the 4 retaining bolts underneath the steering wheel with the Allen key.
- Place the Camera on the pan and tilt Head and add all required additional equipment (lens, prompter, viewfinder, pan bars, etc).
- Place some (2/3) trim counterweights on the steering wheel plaque.
- Release the safety latch (26).
PRESSURIZING THE PEDESTAL AND BALANCING THE LOAD
- The compressed air provided to the product must be dry, without oil and dust.
- The pneumatic power should be provided through the intake valve (28) using the manual pump which is included with the product or by means of an air compressor.
- The column should be filled with clean pressurized air or nitrogen until it compensates the weight of the Camera configuration.
- To pressurize the Pedestal connect either the manual air pump provided with the system or the air-com-pressor to the intake valve (28), by screwing in the pump connection.
- Inflate the system until the column rises and reaches and maintains the top upper position.
- Remove the air intake connection.
- Bleed the air excess, pushing the pin in the intake valve (28) until the Camera moves freely up and down through the entire range of the column stroke.
- The Camera is now balanced.
TRIM WEIGHTS
According to variations of the Studio air temperature, the balance could be affected in excess or defect: act on trim weights, adding or removing one or more units, to match the perfect balance.
The Pedestal is supplied with four (4) trim weights of 1,3 Kg (2.9 Lbs) each, which can be placed in the seats on the steering wheel plaque. When not needed, the counterweights can be stored in dedicated spaces (14) on the skid.
USING THE PEDESTAL
Height adjustment: when correctly balanced, the column can be used without any resistance throughout the stroke capability.
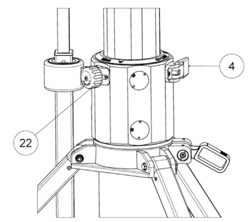
In case one should need some resistance to the stroke, regulate the column damping by rotating the drag knob (22).
The drag control knob (22) is not a lock.
Whenever needed, lock the height of the column operating the stroke lock lever (4).
CABLE GUARDS
There is the risk of interference with cables or other obstacles under the Pedestal rubber wheels. A cable guard (11) has been installed around each wheel to minimize this risk of interference.
For height regulation from the floor loosen the cable guard knob, lift or lower the cable guard, then tighten the cable guard knob again. This system allows a variable height of protection from the floor 0 mm to ±15 mm. (The zone of interference is equal to 80 mm, complying to prospect 1 of standard UNI EN ISO 13857:2008).
TRAVELLING
The directional control of the Pedestal can be obtained rotating the steering wheel (2). The three wheels (15) simultaneously rotate and the Pedestal can change its direction to the lateral side.
The steering rotation angle is the same for the steering wheel (2) and the three wheels (15): 90° rotation of the steering wheel will produce 90° rotation of the wheels.
Use the steering wheel red mark (1) to memorize the wheel position.
SAFETY PRECAUTIONS
The Pedestal is equipped with safety systems designed to eliminate the risk of injury to the operators or other surrounding people.
- The Pedestal has been designed to respect ergonomic principles to allow operators to use it without any physical exertion. This includes working conditions with minimum strain, movements, frequency of routines to avoid any physical and psychological discomfort.
- The presence of safety systems does not exonerate Pedestal operators from taking the utmost care to avoid any action that might endanger themselves or their machine. In particular, the operator must never come in contact with the Pedestal moving parts.
- It is absolutely forbidden to modify or remove any of the Pedestal safety systems.
All pneumatic components have been designed for high working precision and will last as long as the Pedestal itself. The pneumatic assembly is located in the internal part of the column and therefore protected from intentional and accidental damages.
- It is absolutely forbidden to modify all the pressure valves in any way whatsoever. Incorrect pressure valve settings could cause malfunctions or breakdowns in the pedestal components and could also seriously endanger its operators.
The column is fitted with a maximum pressure valve, which prevents air pressure rising above maximum level in order to protect the machine from malfunctions or breakdowns.
The maximum pressure valve is set at 9,0 bar and all column component dimensions have been selected to tolerate an operating pressure up to that level.
In order to prevent the column to rebound when the column lock is improperly released, the column itself is equipped with a system that releases air in a controlled, gradual way to avoid sudden rising.
The operators must take care to avoid creating potential dangerous situations for both the operator and others.
Anyone who operates the Pedestal must be thoroughly trained in the correct methods of use and its safety features.
Further more they must be informed of the present documentation relevant to their work.
During ordinary maintenance to the Pedestal, we recommend to follow the indications in the current section.
- All maintenance on the Pedestal must be carried out by competent and instructed personnel on the operative and safety methods of the Pedestal.
- Do not carry out any maintenance when the Pedestal is moving, and always check that the pressure valve gauge indicates minimum pressure inside the column (consider the minimum value is about 2 bars).
- Items whose center of gravity (CG) is too close to the rim of the castered base (Jib arms) could cause the Pedestal to tip over eventually while moving the pedestal.
Below are possible residual risks:
- There is a potential risk of trapping your hands between the moving section of the column and the column itself.
- There is a potential risk of trapping your fingers between the internal transmissions of the gears under the steering wheel. When the movement is directly carried out by the operator.
DISASSEMBLING AND STORAGE
The Pedestal can be disassembled for transport and storage. Proceed as follows:
- Lock the three wheels with the wheel locks (9).
- Remove the whole load and place the trim weights (13) in their dedicated spaces (14).
- Depressurize the Pedestal till to 1,5/2,0 bar (total bleeding is not compulsory).
- Open the safety latch (26) and push down the column to engage the safety latch (26) to the safety hooking bar (25).
Remove the steering wheel (2) from the steering wheel support (29).
- Rotate the steering wheel lock lever (31) towards left to the unlock position (green point on the steering wheel).
- Rotate the steering wheel (2) till the green mark couples the red mark on the steering wheel support (29).
- Lift the steering wheel (2) and pull it out from the steering wheel support (29).

- Vertically lift the column and extract it from the skid.
- Internally close the three support struts (21) along the column.
- Disassemble the foot ring (16) by unscrewing the three knobs underneath the skid (central part).
- Push the levers (32) to release the skid arms and rotate the two arms till to the lev-ers (32) click, locking the arms in completely closed position.
- Loosen the column from the skid unlocking the skid clamp (6).
SERVICE
The Pedestal has been designed and built in a way to reduce as much as possible any maintenance, and to ensure problem-free efficiency over time.
After any maintenance operation, the Pedestal must be tested to ensure that it is working properly.
- Before starting any maintenance operation the Pedestal must be detached from any air supply line and the column completely depressurized as indicated in section 5.
6.1 ROUTINE MAINTENENCE
- The pneumatic system does not require particular maintenance.
- It is advisable to check the conditions of the inflating connection and of the in/out valve (28).
- Use a damp cloth and no harsh cleaning product to remove dust, grease or other substances. It is particularly important to keep the wheels clean so that they can rotate freely.
- Pedestal components should be carefully periodically inspected and any damaged part immediately replaced to prevent failures that might compromise the safety of the pedestal.
EXTRA MAINTENANCE AND SPARE PARTS
- Whatever extra maintenance requires to be carried out by CARTONI’s own technical servicing staff or an authorized service station appointed by CARTONI S.p.A.
- Information on authorized service station staff can be obtained by contacting CARTONI S.p.A or www.cartoni.com.
- For fast, effective problem-solving CARTONI S.p.A. should be informed of the Pedestal model, the serial number and the nature of the defect or its visible symptoms when the problem arises.
All spare parts should be ordered from CARTONI S.p.A. which will either supply them directly or indicate where they may be obtained.
Remember that repairs should only be carried out by persons employed or authorized by CARTONI S.p.A. All warranty conditions are invalidated should any parts be different from those originally mounted on the Pedestal.
WHEEL EXHANGE RECOMMENDATION
A 160 mm wheel set is available to convert the Pedestal from Studio to OB version. Replace the wheels as follows:
- Remove the column from the skid and turn it upside down
- Unscrew and remove the grub screws (A), by loosening the wheel group (B) from the shaft (C)
- Remove the three wheel groups (B) including the cable guards
- Assemble the new wheel groups inserting the shafts (C) and tightening the grub screws (A)

DECOMMISSIONING
In case the Pedestal becomes beyond repair it should be placed of service or at least clearly labeled as “out of order”.
Since the Pedestal is largely made of steel and aluminum, most of its material can be re-cycled.
- Once a Pedestal is decommissioned, it is advisable to separate its various materials for differentiated utilization or disposal.
- Since none of the materials used on the Pedestal are toxic or may cause a risk to the health of its oper-ators, they can be handled without the need for any special precautions.
The dismantling of the Pedestal at the end of its life must be carried out by competent and trained personnel.
CARTONI S.P.A.
www.cartoni.com
PHONE: +39 06 4382002
FAX: +39 06 43588293
COMMERCIAL OFFICE VIA GIUSEPPE MIRRI, 13 00159 ROME (ITALY)
REGISTERED OFFICE
VIA DI PORTONACCIO, 33/B 00159 ROME (ITALY)
[email protected]
[email protected]



















