HELLER HOCH5 Oil Heater

IMPORTANT
Read and follow the instructions In this user manual even if you feel you are familiar with the product, and find a place to keep it handy for future reference. For your convenience record the complete model number (located on the product identification plate) and the date you received the product, together with your purchase receipt, and attach it to the warranty and service information. Retain in the event that warranty service is required.
NOTE: The rating of this product (as marked on the product identification plate) is based on specific loading tests. Normal use or the use of other recommended attachments may draw significantly less power.
IMPORTANT SAFEGUARDS
When using any electrically powered product, basic safety precautions should always be followed, including the following:
WARNING: To reduce the risk of fire1 electrical shock or injury to persons or property:
- Carefully read all instructions before operating your new product for the first time and save for future reference.
- Remove and safely discard any packaging material and promotional labels before using the appliance for the first time.
- To eliminate a choking hazard for young children. remove and safely discard the protective cover fitted to the plug of this appliance.
- Always operate the product from a power source of the same voltage, frequency, and rating as indicated on the product identification plate.
- This appliance is not intended for use by persons (including children) with reduced physical, sensory or mental capabilities, or lack of experience and knowledge unless they have been given supervision or instruction concerning the use of the appliance by a person responsible for their safety.
- Close supervision is necessary when the product is used by or near children or invalids. Children should be supervised to ensure that they do not play with the appliance.
- This product must not be located immediately below a socket outlet. and should not be used in the immediate vicinity of water, such as bathtubs, washbowls, swimming pools, etc. where the likelihood of immersion or splashing could occur.
WARNING: In order to avoid overheating, do not cover the heater, or operate in close proximity to curtains, etc. Check air inlets and outlets from time to time for accumulated dust.
- Children should be supervised to ensure that they do not play with the appliance. Do not operate the radiator with a damaged cord or plug, or after the product malfunctions, or is dropped or appears damaged in any way.
- Do not tamper with the radiator or attempt to open the end panels. Return the complete unit to the place of purchase for inspection, repair, or replacement.
- Use the radiator only in the upright position. The heater must not be located immediately below a socket outlet. Do not immerse in liquid when cleaning.
- Keep the radiator away from flammable liquids and gases.
- Keep the radiator away from wet areas. Do not use this heater in the immediate surroundings of a bath, a shower, or a swimming pool.
- In order to avoid overheating, do not cover the heater. Do not use it to dry clothes.
- Always keep the radiator well away from curtains, furniture, and flammable materials. Ensure at all times there is an unrestricted airflow around the radiator.
- Always disconnect the plug from the wall socket when the radiator is not in use.
- Do not position the radiator immediately below a socket outlet.
- Do not leave the heater running unattended.
- Do not use the appliance other than its intended use.
- Do not immerse or expose the product or flexible cord to rain, moisture or any other liquid.
- Switch off and unplug from the outlet when the product is not in use and before cleaning. Always allow the unit to cool down first before cleaning or storing it away.
- To avoid personal injuries or property damage, do not insert any body parts (e.g. finder) or objects through the air inlet or outlet openings when the heater is operating.
- This product is intended for normal domestic/household use only.
- Always disconnect the heater when moving it from one location to another.
- The use of attachments or accessories not recommended or sold by the product distributor may cause personal or property hazards or injuries.
- The surfaces of the heater are very hot during operation. Avoid contact with the wind outlet. Use handles and knobs if necessary.
- Do not twist or wrap the power cord around the appliance as this may cause the insulation to weaken and split, particularly where it enters the unit.
- Use of an extension cord is not recommended. However, if it is absolutely necessary ensure the cord is short as possible (long cords coiled up can overheat and cause tripping accidents).
- Do not use the appliance on the same socket or electric circuit as other electrical appliances so as to prevent the circuit from being overloaded, which will cause a fire. Please do not prolong the power cords by yourself or use a movable socket.
- Ensure the cord is fully extended before use and accommodate it so that it is not in touch with any part of the heater.
- Do not use the heater in areas such as garages where petrol or other flammable substances are used or stored. Do not use the heater when flammable sprays, solvents, and glues are in use.
- Keep combustible materials such as furniture, pillows, bedding, clothes, and curtains at least 50cm from the sides of the heater.
- Ensure the heater is not blocked and there is the spacing of at least 50cm around its sides and 120cm from the front or heat outlet.
- Avoid touching the heater’s body whilst the heater is on. Do not move the appliance while it is functioning in order to avoid overheating with the additional risk of fire.
- Do not use the heater to dry your laundry. Never obstruct the intake and outlet grilles (danger of overheating).
- When the appliance is used in a portable version, do not place it up against the walls, furniture, curtains, etc.
- The appliance must not be positioned directly underneath a fixed PowerPoint.
- Do not use the appliance while it is cooling down, in order to avoid overheating with the attendant risk of fire.
- Do not use the appliance in rooms less than 4m’ area.
- CAUTION: Surfaces are hot during use. Please use handle or knob
- The installation of a residual current device (safety switch) is recommended to provide additional safety protection when using electrical appliances. It is advisable that a safety switch with a rated residual operating current not exceeding 30mA be installed in the electrical circuit supplying the appliance. See your electrician for professional advice.
BEFORE FIRST USE
Read and follow the instructions in this user manual even If you feel you are familiar with the product and find a place to keep it handy for future reference. For your convenience record the complete model number (located on the product identification plate) and the date you received the product, together with your purchase receipt, and attach it to the warranty and service information. Retain in the event that warranty service is required.
NOTE: The rating of this product (as marked on the product identification plate) is based on specific loading tests. Normal use or the use of other recommended attachments may draw significantly less power.
INSTALLATION & LOCATION
The appliance requires no installation: It should be used solely as a portable appliance.
NOTE: Portable appliances are not suitable for use in a bathroom. The Appliance should be placed with a minimum distance of 1 meter away from flammable objects (e.g. curtains), walls, or other structures
ASSEMBLY INSTRUCTIONS
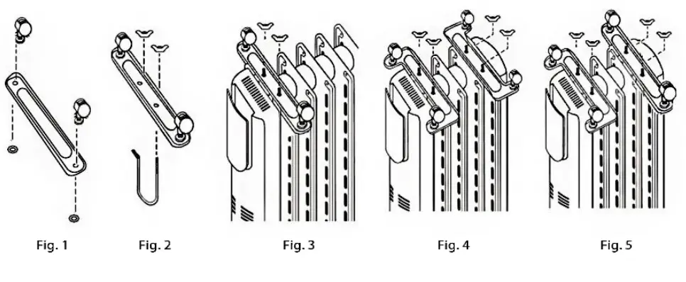
- Fix the wheels in the brackets with the screw. Refer to fig.1 Tum the radiator upside down. Place the castors between the last two panels on either end. Face the wheels up towards you and attach by means of the U-bolt and wing nuts supplied. Slide the U-bolt under the radiator frame and attach it to the castor brackets. Refer to figs 2 and 3.
- On the HOCH5 & HOCH5T models, note the correct position of the anti-topple castors. The wings on the brackets must be pointing outwards, away from the radiator. Refer to fig.4. On the HOCH? models.Refer to fig.5
- Tum the radiator upright before switching it on.

OPERATIONS
- Turn them,ostat in a clockwise direction to the maximum position, and set both switches to ON. The indicator light will glow. This will set the column heater to HI, producing the maximum amount of heat possible and will reduce the amount of time it takes to initially warm up the room. For a unit fitted with a timer, check timer settings as per the instructions below. The timer must be set before the unit will operate, or the timer bypass switch must be set to “I” to bypass the timer. NOTE: If the timer bypass switch is set to “O” then the heater will not operate. The Heat switches will not operate.
- A range of heat settings is available. Switch position I for minimum heat settings (approx 40% max). Position II for intermediate heat settings (approx 60% max). The position I and II for maximum heat
settings. (Position O switches the unit OFF) - As the room warms up, you may wish to decrease the heat level or simply maintain a comfortable room temperature. To do this, turn the thermostat down to a lower number. The heat will cycle on and off to maintain the desired room temperature. Tum one of the heater switches off to conserve the power. This will set the heat elements to low or medium but will increase the amount of time it takes to reheat. On really cold days this may not be practical, as heat losses can exceed the heat generated by our column heater. Larger rooms and open space areas may also find the medium heat setting ineffective.
You will need to experiment with this column heater to establish the exact setting required for any particular room or space. The table shows power consumption for all switching combinations
Power Consumption
Timer Instructions (ONLY APPLICABLE FOR MODEL NO HOCH5T, HOCH11T, HOCH11FT)
The timer face consists of a moveable numbered band with moveable pins and a fixed center plate. When the moveable pins are slid towards the center plate the timer is OFF and when slid towards the outer numbered band the timer is ON. Each pin corresponds to 15 minutes operation. A switch is fitted to bypass the timer if required.
- Rotate the timer dial until the current time is opposite the pointer.
- Slide the pins corresponding to the required ON time towards the outer numbered band.
- The pins corresponding to the required OFF time are slid towards the inner band.
- To operate under timer control, slide the bypass switch to the “G” position.
- To bypass the timer, slide the bypass switch to the “I” position.
- To disconnect power to the heater slide the bypass switch to “O”
EXAMPLE:
Suppose it is now at 7:00 AM. Rotate the timer until “7” is opposite to the pointer (i.e. Position A). For operation between 8:00 AM and 3:00 PM, slide the bypass switch to ” G “, all the pins between “8” and “15” are slid towards the outer band and those between “15” and “8” are slid towards the inner band
NOTE: For correct timer operation the radiator must be connected to the power supply and the power switched on. The second hand will indicate when power is connected.
Fan heater(Only Applicable for model No.HOCH11FT):
Fan heater power is 400W. If you want to fasten the speed of heating efficiency when the oil heater on work, you can just push the fan heater switch in one time to open the fan heater, the room temperature will be raised in high speed. Push the fan heater switch again, the fan heater will be off immediately. In every power level,the fan heater can work if you open it with the switch.
Tip-Over Switch
This radiator is fitted with a safety tip-over which will disconnect the power to the element in the event that the heater is knocked over. If this should occur, the heater should be put upright in the correct position, switched off and allowed to rest for approximately 10mins before being switched on again.
HINTS & TIPS
- Do not overheat your home, in winter the temperature of a heated room should be between 18-21’C
- Choose the right size heater for the room that you wish to heat.
- Zone off the unoccupied rooms by closing doors, and curtains to limit heat loss.
- Use draft stoppers where possible, to keep the cold air from filtering in under doors.
- Avoid placing items, or sitting too close to the heater for optimal airflow
CLEANING & MAINTENANCE
The heater requires regular cleaning to ensure trouble-free operation:
- Unplug the heater from the mains supply before cleaning.
- Ensure that the heater has been allowed to cool before cleaning.
- Use a damp cloth (not wet) to wipe the exterior of the heater to remove dust and dirt.
- Do not allow any water or other liquid to enter the housing or control panel.
- Ensure the heater is dry before plugging back into the main supply.
CAUTION: Do not use harsh detergents, chemical cleaners or solvents as they may damage the surface finish of the heater.
Warning: In order to avoid overheating, do not cover the heater
IMPORTANT NOTE:
This heater is filled with a precise quantity of special oil. Repairs requiring the opening of the oil container are only to be made by the manufacturer or his service agent who should be contacted if there is an oil leak.
When disposing of the heater, follow the regulations concerning the disposal of oil. If the supply cord is damaged, it must be replaced by the manufacturer, its service agent or similarly qualified persons in order to avoid a hazard.
SPECIFICATIONS
CUSTOMER SERVICE
- Australian Customer Service GAF Control (Sales) Pty Ltd P.O Box 19 Altona North, Victoria, 3025
- Phone: 1300 659 489
- Hours: 9am-5pm (EST) Mon-Fri
- www.gafcontrol.com.au






















