John Wood JWF307 Oil Fired Water Heater

INTRODUCTION
Thank you for purchasing a John Wood Oil Fired Water Heater. Properly installed and maintained, it will provide years of trouble free service.
This Oil Fired Water Heater has been developed to supply domestic hot water for normal residential demands. Any deviation from this application could affect your warranty.
Consumer Responsibilities
- This manual has been prepared to acquaint you with the installation, operation and maintenance of your oil fired water heater and provide important safety information in these areas. It is your responsibility to ensure that your water heater is properly installed and cared for.
- FAILURE TO FOLLOW THE INSTRUCTIONS IN THIS MANUAL MAY RESULT IN SERIOUS BODILY INJURY AND/OR PROPERTY DAMAGE.
- THOROUGHLY READ AND UNDERSTAND ALL INSTRUCTIONS BEFORE YOU ATTEMPT TO INSTALL, OPERATE OR MAINTAIN THIS HEATER.
- Installation and service requires trade knowledge in the areas of plumbing, electricity, venting, air supply and oil sup-ply. If you lack these skills or have difficulty understanding these instructions, you should not proceed. Enlist the help of a qualified service technician to install this water heater.
- Examples of qualified service technicians include those trained in the plumbing and heating industry, local oil supply personnel or an authorized service person.
- The manufacturer and seller of this water heater will not assume any liability for any property damage, personal injury or death resulting from improper sizing, installation or failure to comply with these instructions.
- The warranty on this water heater is in effect only when the water heater is installed and operated in accordance with these instructions. An identifying data plate can be found at the front of your water heater. When referring to your water heater, always have the information listed on the data plate readily available.
- Protect your warranty: Regularly service your water heater as directed in the “Maintenance” section of this manual. Retain your original receipt as proof of purchase.
- Do not discard this manual. You or future users of this water heater will need it for reference.
SAFETY
In addition to the installation instructions found in this man-ual, the water heater must be installed in accordance with all local and provincial or state codes or, in the absence of such, with the latest editions of the following specifications.
For Installations in Canada:
“Installation Code for Oil-Burning Equipment (CSA B139-04)” and “Canadian Electrical Code Part 1 (C22.1)” available from: Canadian Standards Association,
5060 Spectrum Way,
Mississauga, Ontario, Canada
L4W 5N6
For Installations in the United States: “Standard for the Installation of Oil-Burning Equipment (NFPA 31)” and “National Electrical Code (NFPA 70)” available from: American National Standards Institute,
25 West 43rd Street,
New York, NY 10036
Check your phone listings for the local authorities having jurisdiction over your installation.
Important: Installation and service of an oil fired water heater and burner must be performed by a qualified Oil-Burner Technician to comply with local and provincial or state codes applicable to this type of equipment. All supply equipment, installation, approvals, permits, inspections, etc. are the responsibility of the owner of this water heater. Consult your local authorities for regulations specific to your area.
Safety Warning (Flammable Vapours)
There is a risk of property damage, personal injury or death from the by-products of combustion (e.g., flue gases), in using fuel-burning appliances such as water heaters. Areas that may not be suitable for water heater installation include those where flammable liquids, gasoline, solvents, adhesives etc. are stored, or where engine-driven equipment or vehicles are stored, operated or repaired. These, and simi-lar products, should not be stored or used near the water heater or air intake. Due to the nature of air movement, flammable vapours can be carried some distance from the point of storage. A water heater igniter or burner flame can ignite these vapours causing a flashback, fire or explosion, which may result in severe property damage, serious personal injury or death. If flammable liquids or vapours have spilled or leaked in the area of the water heater, leave the area immediately and call the fire department from a neighbor’s home. Do not attempt to clean the spill until all ignition sources have been extinguished.
Safety Warning (Scalding)
DANGER
Hot water produced by this appliance can cause severe burns due to scalding. The hazard is increased for young children, the aged or the disabled when water temperatures exceed 52°C (125°F). Use tempering valves, also known as mixing valves, in the hot water system to reduce the risk of scalding at point-of-use such as lavatories, sinks and bathing facilities. Such precautions must be followed when this heater is operated in combination with dishwashing or space heating applications.
Safety Warning (Carbon Monoxide)
As with all fuel burning equipment, this heater requires an adequate supply of air for combustion and ventilation. An insufficient air supply can result in poor combustion or the re-circulation of the flue gases. Such a condition can cause soot build-up and present a fire hazard. Flow reversal of flue gases can cause an increase of carbon monoxide inside of the dwelling that could result in serious bodily harm or death from asphyxiation.
MAKE SURE THE FLOW OF COMBUSTION AND VENTILATION AIR IS NOT RESTRICTED.
Relief Valve Requirements (T&P)
All water heaters must be fitted with a proper temperature and pressure relief valve. These valves must be certified as meeting the requirements of the “Standard For Relief Valves For Hot Water Supply Systems, ANSI Z21.22/CSA 4.4”.
If this water heater has been exposed to flooding, freezing, fire or any unusual condition, do not put it into operation until it has been inspected and approved by a qualified service technician.
THESE CONDITIONS CAN RESULT IN UNSEEN INTERNAL DAMAGE and are not subject to warranty coverage.
CAUTION
Hydrogen gas can be produced in a hot water system served by this heater that has not been used for a long period of time (generally two (2) weeks or more). Hydrogen gas is extremely flammable and can ignite This product contains fiberglass wool and ceramic fiber materials. Airborne fibers from these materials have been listed by the State of California as a possible cause of cancer through inhalation. Use special care when handling ceramic fiber (chamber lining and base insulation) materials. Ceramic fibers can be converted to cristobalite, a substance listed as a probable cause of cancer. Suppliers of fiberglass wool products recommend the following measures be taken when handling these materials:
WARNING
- Do not use gasoline, crankcase oil or an oil containing gasoline.
- Do not tamper with unit or controls.
- Do not leave paper or rags around the burner or heater.
- Do not experiment with the burner.
Precautionary measures:
- Avoid breathing fiberglass dust.
- Avoid contact with skin and eyes.
- Use a National Institute for Occupational Safety and Health (NIOSH) approved dust/mist respirator.
- Wear long-sleeved, loose-fitting clothing, gloves and eye protection.
- Wash work clothes separately from other clothing. Rinse washer thoroughly.
- Removing the burner may generate airborne fiber concentration requiring additional protection.
First aid measures:
- Eye contact – Flush eyes with sterile water to remove for-eign objects. If irritation or other symptoms persist, seek medical attention.
- Skin contact – Wash affected areas gently with soap and warm water after handling.
Fuel Specifications
All JOHN WOOD brand water heaters are designed to burn only fuels not heavier than No.2 (furnace) oil.
INSTALLATION
Unpacking the Water Heater
WARNING
Excessive Weight Hazard
Use two or more people to move and install water heater. Failure to do so can result in back or another injury.
Important: Do not remove any permanent instructions, labels, or the data label from outside of the water heater or on the inside of panels.
- Remove exterior packaging and place installation components aside.
- Inspect all parts for damage prior to installation and start-up.
- Completely read all instructions before attempting to assemble and install this product.
- If you observe damage to the water heater or any of its components, DO NOT ASSEMBLE OR INSTALL IT OR MAKE ANY ATTEMPT TO FIX THE DAMAGED PART(S). Contact the place of purchase for further instructions.
- After installation, dispose of packaging material in the proper manner.
Location Requirements
The water heater must be installed indoors in an area not subject to freezing temperatures and in a vertical position on a level surface. Water heaters located in unconditioned spaces (e.g., attics, basements etc.) may require insulation of the water piping, drain piping and venting to protect against condensation. The water heater must be installed on a non-combustible floor, as close to the chimney as practical. Select a location as centralized within the piping system as possible. The heater should be located in an area where leakage of the tank or connections will not result in damage to the area adjacent to the water heater or to lower floors of the struc-ture (see “IMPORTANT” notice on the following page). Before installing this water heater, consideration and planning must be given to the following details:
- Proximity to walls and other objects (see Figures 1, 2 & 3).
- Access to oil supply (see “Oil Supply”).
- Routing and support of the vent piping and termination (see “Venting”).
- Position of water supply and placement of water piping and floor drain (see “Water Supply”).
- How and where to obtain combustion and ventilation air supply. (see “Air Requirements”).
- Connection to the electrical service. (see “Electrical Supply”).
In Earthquake Zones
Note: The water heater must be braced, anchored, or strapped to avoid moving during an earthquake. Contact local utilities for code requirements in your area.
IMPORTANT:
This water heater must be installed strictly in accordance with the instructions enclosed, and local electrical, fuel and building codes. It is possible that connections to the water heater, or the water heater itself, may develop leaks. IT IS THEREFORE IMPERATIVE that the water heater be installed so that any leakage of the tank or relat-ed water piping is directed to an adequate drain in such a manner that it cannot damage the building, furniture, floor covering, adjacent areas, lower floors of the structure or other property subject to water damage. This is particularly important if the water heater is installed in a multi-story building, on finished flooring or carpeted surfaces. THE MANUFACTURER WILL NOT ASSUME ANY LIABILITY for damage caused by water leaking from the water heater, pressure relief valve, or related fittings. Select a location as centralized within the piping system as possible. In any location selected, it is recommended that a suitable drain pan be installed under the water heater. This pan must limit the water level to a MAXIMUM depth of 45mm (1 3/4 in.) and have a diameter that is a minimum of 50mm (2 in.) greater than the diameter of the water heater. Suitable piping shall connect the drain pan to a properly operating floor drain. When used with a fuel-fired heater, this drain pan must not restrict combustion air flow.
Clearances and Accessibility
The minimum clearances between the heater and combustible materials are listed in Figure 1.
Note: These requirements are also listed on the data plate located on the front of the water heater.
A minimum of 600mm (24 in.) of front clearance and 100mm (4 in.) on each side should be provided for inspection and service.
Oil Supply
All aspects of oil tank location and installation, tank size, oil piping supply and burners, including any fittings, valves, fil-ters or any fuel handling components must comply with:
- “Installation Code for Oil Burning Equipment (CAN/CSA-B139)”, (Canada).
- “Standard for the Installation of Oil-Burning Equipment. (NFPA 31)”, (U.S.A).
- Local codes and regulations.
- Information provided with burner and fuel pump. Install the oil supply tank with fill and vent lines of adequate capacity as shown in Figure 4. When an appliance using a float valve between the supply tank and the burner is con-nected to a supply tank over 9 gallons (Can.) capacity, a valve operated by a fusible link shall be installed in the fuel line adjacent to, and upstream from, the float valve. If any part of fuel the oil tank is above level of the burner, an anti-siphon device must be used to prevent flow of oil in case of an oil line break. Support the oil lines as required by applic-able codes. Make tank connections with swing joints or cop-per tubing to prevent breaking in case the tank settles. Make the swing joints so they will tighten as the tank settles. Non-hardening pipe joint compounds should be used on all threads. Do not use Teflon® tape as an oil pipe sealant as it can cause valves to fail and create hazards. Do not use compression fittings. Underground piping must be run in a casing to prevent oil from
- leaking into the ground or under the floor. Check local codes for more information.
Burner Installation
The installation of these units shall be in accordance with the “Installation Code for Oil-Burning Equipment (CSA B139-04)” or “Standard for the Installation of Oil-Burning Equipment (NFPA 31)” (as applicable), local codes and the manufacturer’s instructions. The burner should be installed only by a qualified Oil-Burner Technician.


WARNING
This installation must be performed by a qualified Oil-Burner Technician in accor-dance with these instructions and diagrams. The installation and maintenance of the water heater must follow all of the instruc-tions in preceding sections of this manual. Improper installation can cause injury or property damage. Heater failure that is a result of the heating system is not covered by warranty.
Air Requirements
An adequate supply of combustion and ventilation air is required to:
- Ensure proper combustion.
- Reduce risk of property damage, severe bodily injury or death from possible flue gas leakage and carbon monox-ide emissions.
- Do not install an exhaust fan in the same room as the water heater.
Satisfactory combustion cannot be sustained in an area that is not provided with fresh air. Fresh air contains oxygen that is necessary for proper combustion. If the water heater is installed in a confined space, sufficient fresh air must be drawn in from outside of the enclosure.
NOTE: Lack of adequate fresh air supply may cause a poor flame.
Air Supply
CAUTION
If an all-house ventilation fan is used, a sep-arate outside air duct must be used and ducted to the furnace room and/or room where the water heater is located.
In Canada:
If the water heater is installed in a house built to the requirements of the “National Building Code of Canada, 1985”, or a subsequent edition, the space shall be provided with air inlets as outlined below, or have a mechanical air-supply system of sufficient equivalent capacity. If a mechanical air-supply system is used, it shall be interlocked to the appliance or equipment.
NOTE: In unconfined spaces in buildings of conventional frame, brick, or stone construction built prior to the requirements of the “National Building Code of Canada, 1985”, and not subsequently significantly air-tightened, infiltration is normally adequate to provide air for combustion and some ventilation; however, there may be notable exceptions.
Houses built in accordance with the “National Building Code of Canada, 1985” (or subsequent edition), with extensive exterior stucco coating, or with a sealed vapour barrier or other similar air sealing technique, will often be sufficiently airtight so that there is not sufficient air for both combustion and venting the products of combustion of an oil-fired appliance, or for replacing the air vented by other exhaust devices within the house.
Outdoor Combustion & Ventilation Air
(Unconfined space)
If the water heater is installed in an unconfined space in a building having insufficient infiltration, additional air for combustion and ventilation shall be obtained from outdoors or from spaces freely communicating with the outdoors. Under these conditions, permanent opening(s) shall be provided so that the total air received through these openings will be at least as much as would be admitted by openings having a total free area of 4.5 cm2/kWh (1 in2/5000 Btu/h) of the total input rating of all oil-fired appliances.
(Confined space)
A heater installed in a confined space that obtains all of its air for combustion and ventilation from outside the building shall be provided with two permanent openings, one near the top of the enclosure and another near the bottom. Each opening shall communicate directly or by means of ducts with the outdoors or to such spaces (such as a crawl space) that freely communicate with the outdoors, and shall be sized in accordance with “Air Duct Sizing”.
Outdoor Combustion Air & Indoor
Ventilation Air (Confined space)
An appliance located in a confined space that obtains its combustion air from outdoors and ventilation air from within the conditioned space of the building shall be provided with two permanent openings for ventilation. One located near the top of the enclosure and another near the bottom. Each opening shall have a free area of not less than 19.5 cm2/kWh (1 in2/1000 Btu/h) of the total input rating of all appliances in the enclosure, freely communicating with interior areas that have in turn adequate infiltration from the out-side. It shall also have a combustion air supply opening so that the total air received through the opening will be at least as much as would be admitted by openings having a total free area of 4.5 cm2/kWh (1 in2/5000 Btu/h) of the total input rating of all oil-fired appliances in the enclosure.
Indoor Combustion & Ventilation Air (Confined space)
A heater installed in a confined space and that obtains all of its air for combustion and ventilation from within the conditioned space of the building shall be provided with two permanent openings, one near the top of the enclosure and another near the bottom. Each opening shall have a free area of not less than 19.5 cm2/kWh (1 in2/1000 Btu/h) of the total input rating of all appliances in the enclosure, freely communicating with interior areas that have in turn ade-quate infiltration from the outside.
Air Duct Sizing
The air duct requirements shall be met by one of the following methods:
- vertical duct(s) with a free area of not less than 5.5 cm2/kWh (1 in2/4000 Btu/h) of the total input rating of all appliances in the enclosure;
- horizontal duct(s), with an equivalent length of less than 15 m (50 ft), having a free area of not less than 11 cm2/kWh (1 in2/2000 Btu/h) of the total input of all appliances in the enclosure; and
- air openings that communicate directly with the out-doors, having a free area of not less than 5.5 cm2/kWh (1 in2/4000 Btu/h) of the total input rating of all appliances in the enclosure.
NOTE: Duct runs that are primarily horizontal and that have an equivalent length greater than 15 m (50 ft) should be sized accordingly larger to provide the same air flow as would be provided by the requirements of method (3) above.
In U.S.A.:
Refer to “Standard for the Installation of Oil-Burning Equipment (NFPA 31)”
Vent and Exhaust Connections
General chimney requirements
For a burner designed for natural draft connect the vent to a vertical chimney. Insufficient draft can cause flue gas leakage and carbon monoxide emissions, which can lead to severe bodily injury or death. Use vent material approved by local codes for oil-fired burners. In the absence of such codes, refer to:
- Installation Code for Oil-Burning Equipment (CSA B139-04)” (Canadian installations).
- The standard for the Installation of Oil-Burning Equipment (NFPA 31)” (USA).
- standard for Chimneys, Fireplaces, Vents, and Solid Fuel-Burning Appliances (NFPA 211)” (USA).
NFPA 211 requires the chimney to be lined before connecting the oil-fired water heater. Inspect existing chimney before installing the water heater. Failure to do any of the following can result in serious property damage, severe bodily injury or death:
- Clean the chimney, including removal of blockage.
- Repair or replace damaged pipe or liner.
- Repair mortar and joints.
To prevent downdrafts, extend the chimney at least 1m (3 ft.) above the highest point where it passes through the roof and 600mm (24 in.) higher than any portion of the building within 3m (10 ft.). Increase chimney cross-sectional area and height at least 4% per 305m (1,000 ft.) above sea level.
Flue Pipe
NOTE: Type “L” vent material is generally considered to be not suitable for this application. Flue temperatures may exceed 300°C (572°F). Use flue piping approved for this installation.
Long horizontal flue pipes, excessive number of tees and elbows or other obstructions restrict flue gas flow, and can result in the possibility of condensation, flue gas leakage and carbon monoxide emissions. These conditions can lead to serious property damage, severe bodily injury or death. The flue pipe should be the same size as the breech con-nection on the appliance. The sizes generally are 150mm (6 in.) for burners rated less than 1.00 GPH and 178mm (7 in.) for burners rated 1.00 to 1.50 GPH. The flue pipe should be as short as possible and installed so that it has a continuous rise of 20mm/m (1/4 in./ft.) of horizontal length from the breech connection on the appliance to the chimney. Elbows should be minimized and the sections of pipe and fittings should be joined with sheet metal screws and straps. Routing should be made in such a way as to avoid sharp turns or unduly long runs. It is recommended that the heater be piped to its own individual flue. Where there is only one flue for both furnace and water heater, various methods are practiced in which the water heater flue enters the chimney above the main smoke pipe. Also, a “Y” fitting is frequently used to combine the heater and furnace flues, prior to enter-ing the chimney connection (see Figure 4, check with local authorities having jurisdiction). Obtain a gas-tight seal to prevent possible flue gas leakage and carbon monoxide emissions, which can lead to severe bodily injury or death.
Draft Regulator
This device is used on conventional chimney venting only. It automatically maintains a constant negative pressure in the chimney to obtain maximum efficiency. If the chimney does not develop sufficient draft, the draft control cannot function properly. The heater must be equipped with an approved draft regulator of adequate size. Ensure the draft regulator diameter is at least as large as the flue pipe diameter. Follow manufacturers recommended instructions for installation. It must be installed in the flue pipe before it enters the chimney and after the Blocked Vent Safety Switch, if one is used. Set the draft regulator at -0.03 in. w.c. (-0.0075kPa), as measured in the flue (between the heater and the draft regulator). Recommended over-fire draft is -0.02 in. w.c. (-0.005kPa).
Chimney
Be sure that the chimney is sufficiently high and large enough to meet the specifications of the burner unit installed. Check that there is sufficient draft for the proper burning of oil. At least -0.015 in. w.c. (-0.004kPa) of the over-fire draft is recommended.
Blocked Vent Safety Switch
Oil-fired water heaters must be fitted with the blocked vent safety switch supplied with your heater. The installation procedure is given below. For further details and information refer to the instruction sheet supplied with the switch. (Not required for JWF307V.)
Installation
- Pierce a 16mm (5/8 in.) dia. hole into the flue pipe 305mm to 457mm (12 to 18 in.) from the breech connection of the water heater. Remove one of the securing nuts from the pipe of the safety switch. Tighten the other securing nut onto the pipe as far as possible.
- Insert the threaded pipe end into the pierced hole, then install the securing nut, which was removed in step 1, and tighten securely.
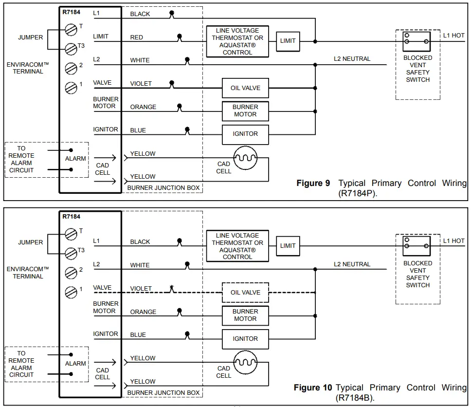
CAUTION:: Turn “OFF” the electrical supply to the water heater when wiring safety switch. - Wire the safety switch in series with L1 of the electrical supply (see Figures 9, 10 & 11). Install and route wiring in an accordance with “Canadian Electrical Code Part 1 (C22.1)” and any applicable local codes.
CAUTION: If for any reason the system has shut down during operation, the cause of the system failure should be investigated and corrected before resetting the safety switch and re-starting the system.
Power Venting
Models JWF307, JWF507 and JWF657 may be power vent-ed with a Field SWGII 4HD Power Venter. The following control kits may be used with the SWGII 4HD:
CK 61 Electronic Post Purge.
CK 62 Thermally Activated Post Purge.
Installation of Power Venter
The “Installation Code for Oil-Burning Equipment (CSA B139-04)” or “Standard for the Installation of Oil-Burning Equipment (NFPA 31)”, local codes and the manufactures instructions should be adhered to in all installations of the water heaters and power venters. A draft regu-lator must be used in conjunction with the installation of the power venter (see “Draft Regulator”). Consult the applicable codes to calculate the equivalent length of pipe for each fitting in the vent system. Add this (equivalent) length to the length of the straight runs of pipe to determine the total equivalent vent pipe length.
Water Supply Piping Installation
Piping, fittings, and valves should be installed according to the applicable installation drawing (Figures 7 & 8). A pres-sure-reducing valve and/or an expansion tank may be required for installations where the water pressure is high. The pressure-reducing valve should be located on the supply to the entire house in order to maintain equal hot and cold water pressure.
Important:
- Do not apply heat to the water fittings on the heater as they may contain nonmetallic parts. If solder connections are used, solder the pipe to an adaptor before attaching the adaptor to the hot and cold water fittings.
- Some models may contain energy saving heat traps to prevent the circulation of hot water within the pipes. Do not remove the inserts within the heat traps.
- Always use a proper grade of joint compound and be certain that all fittings are drawn up tight.
- Install the water piping and fittings as shown in Figures 7 or 8. Connect the cold water supply to the fitting (3/4” NPT) marked “COLD” (or “C”). Connect the hot water supply to the fitting (3/4” NPT) marked “HOT” (or “H”).
- The installation of unions in both the hot and cold water supply lines is recommended.
- The manufacturer of this water heater recommends installing a tempering valve in the domestic hot water line. These valves reduce the point-of-use water temperature by mixing cold and hot water. Contact a licensed plumber or the local plumbing authority.
- If installing the water heater in a closed water system, install an expansion tank in the cold water line as specified under “Closed System/Thermal Expansion”.
- Install a shut-off valve in the cold water inlet line. It should be located close to the water heater and be easily accessible. The owner/operator must be shown the location of this valve and be given instructions on how to use it to shut off the water to the heater.
Filling the Water Heater
Do not insert the power cord into the electrical receptacle until all the following steps have been completed.
- Make sure the drain valve is closed.
- Open all hot water faucets served by the system to allow air to escape from the tank.
- Open the cold water inlet valve.
NOTE: When filling, avoid water leakage. Do not allow the insulation of the water heater to get wet as water can reduce the effectiveness of the insulation. - When an uninterrupted stream of water, without apparent air bubbles, flows from the open hot water faucets, the tank is full.
- Close the hot water faucets and check the system for leaks. Repair as required and retest.
- Connect a hose to the drain valve and route to a suitable drain.
- Open the drain valve and let water run to flush out any foreign matter that may have entered the system. Continue flushing until clean water flows.
- Close the drain valve, disconnect the hose, ensure the drain valve does not drip and re-fill the tank.

Please note the following:
- DO NOT install this water heater with iron piping. The system should be installed only with piping that is suitable for potable (drinkable) water such as copper, CPVC or poly-butylene. DO NOT use PVC water piping.
- DO NOT use any pumps, valves, or fittings that are not compatible with potable water.
- DO NOT use valves that may cause excessive restriction to water flow. Use full flow ball or gate valves only.
- DO NOT use any lead based solder in potable water lines. Use appropriate tin-antimony or other equivalent material. DO NOT tamper with the aquastat, burner or temperature and pressure relief valve. Tampering voids all warranties. Only qualified service technicians should service these components.
- DO NOT use with piping that has been treated with chromates, boiler seal, or other chemicals.
- DO NOT add any chemicals to the system piping which will contaminate the potable water supply.
Closed System/Thermal Expansion - Periodic discharge of the temperature and pressure relief valve may be due to thermal expansion in a closed water supply system. The water utility supply meter may contain a check valve, backflow preventer or water pressure-reducing valve. This will create a closed water system. During the heating cycle of the water heater, the water expands caus-ing pressure inside the water heater to increase. This may cause the temperature and pressure relief valve to dis-charge small quantities of hot water. To prevent this, it is recommended that a diaphragm-type expansion tank (suitable for potable water) be installed on the cold water supply line. The expansion tank must have a minimum capacity of 5.6 litres (1.5 US gallons) for every 190 litres (50 US gallons) of stored water and be rated at the working pressure of the water heater. Contact the local water supplier or plumbing inspector for information on other methods to control this situation.
Important: Do not plug or remove the temperature and pressure relief valve.
Temperature and Pressure (T&P) Relief Valve
For protection against excessive pressures and temperatures, a temperature and pressure relief valve must be installed in the opening marked “T&P RELIEF VALVE”. This valve must be design certified by a nationally recognized testing laboratory that maintains periodic inspection of the production of listed equipment or materials as meeting the requirements of the “Standard For Relief Valves For Hot Water Supply Systems”, ANSI Z21.22/CSA 4.4”. The function of the temperature and pressure relief valve is to discharge water in large quantities in the event of excessive temperature or pressure developing in the water heater. The valve’s relief pressure must not exceed the working pres-sure of the water heater as stated on the data plate. Important: Only a new temperature and pressure relief valve should be used with your water heater. Do not use an old or existing valve as it may be damaged or not adequate for the working pressure of the new water heater. Do not place any valve between the relief valve and the tank.
The Temperature and Pressure Relief Valve:
- Must not be in contact with any electrical part.
- Must be connected to an adequate discharge line.
- Must not be rated higher than the working pressure shown on the data plate of the water heater.
The Discharge Line/Driptube:
- Must not be smaller than the pipe size of the relief valve or have any reducing coupling installed in the discharge line.
- Must not be capped, blocked, plugged or contain any valve between the relief valve and the end of the discharge line.
- Must terminate a maximum of 300mm (12 in.) (Canada) or 150mm (6 in.) (U.S.A.) above the floor.
- Must be capable of withstanding 121°C (250°F) without distortion.
- Must be installed to allow complete drainage of both the valve and discharge line.
NOTE: Rear and Combination flue units must be fitted with a T&P Relief Valve WATTS type 40XL-5 or equivalent. Failure to install and maintain a new, properly listed temperature and pressure relief valve will release the manufacturer from any claims which may result from excessive temperature or water pressure.
Vacuum Relief Valves
A vacuum relief valve, installed in the cold water supply line above the top of the water heater, shall protect the water heater against siphoning (loss of water due to loss of supply pressure). Where heating equipment has a bottom supply, the cold water supply piping shall be carried above the top of the heater before being routed to the supply connection and have a vacuum relief valve installed in it at a level above the top of the storage tank. The vacuum relief valve shall be in compliance with the latest edition of “Standard For Relief Valves For Hot Water Supply Systems, ANSI Z21.22/CSA 4.4”.
Installation Of The Aquastat (Temperature Control)
This heater operates automatically under the control of the aquastat, which responds to the demand of hot water. Depending on the model, the aquastat well and wiring is either installed on the heater, or included in the carton con-taining the burner. If the installation of the aquastat is required, proceed as follows:
- Locate the aquastat well opening in the front of the heater.
- Apply a good grade of pipe joint compound to the threads on the well.
- Install the well in the tank opening, tighten firmly to ensure there are no leaks.
- Insert the sensing bulb of the aquastat into the well and secure the aquastat to the well using the screw provided.
- Wire the control to the burner as shown in the wiring diagrams (Figures 9, 10 & 11).


Electrical Supply
General wiring requirements:
Electric shock hazard. Can cause severe personal injury or death if power source, including service switch on heater, is not disconnected before installing or servicing.
Installations must comply with the latest editions of these codes:
- Canadian Electrical Code Part 1 (CSA C22.1)” (Canada).
- National Electrical Code, ANSI/NFPA 70”, (USA).
- Any additional local, provincial, national or state codes. Wiring must be N.E.C. Class 1. If original wire supplied with the heater is to be replaced, TYPE 105°C wire or equivalent must be used. Supply wiring to heater and additional control wiring must be 14 GA. or heavier. Provide an electrical ground as required by codes.
Installation Checklist
- Have the safety precautions described in the manual been implemented?
- Does the oil piping conform to the recommendations of your Oil Supply Company?
- Has the oil piping been tested for leaks?
- Is the clearance between the water heater and combustible construction as per specifications?
- Is the water piping correctly connected? Are you certain that there are no leaks?
- Is the water heater filled with water?
- Is the cold water supply valve open?
- Is the flue pipe installed properly and are the vertical and horizontal runs properly supported?
- Is the draft regulator intake opening unobstructed?
- Is the T&P valve installed? Are the drainpipe (if installed) and T&P valve unobstructed?
- Is a drain pan installed (if required) with a proper overflow pipe, directed to a drain?
- Have you taken steps to prevent water damage in case of leaks?
- Does the area around the water heater have adequate ventilation?
- Air moving device does not create negative pressure?
- Flammable vapors and materials are not placed in the proximity of the water heater?
OPERATION Startup
DO NOT ATTEMPT TO START BURNER IF ANY OF THE FOLLOWING CONDITIONS EXIST:
- Excess oil has accumulated.
- The unit is full of vapours.
NOTE: Refer to the instruction manual supplied with the burner for installation, start-up and adjustment. After the installation is finished and the installation checklist completed, proceed as follows:
- Set the draft regulator for full draft.
- Turn on oil at the tank. Adjust the airband on the burner according to the instructions provided by the burner manufacturer.
- Close the inspection cover on the burner mounting panel, and press the reset button on the combustion safety control.
- Set electric switch to “ON” position. The burner should start.
- Make the air adjustment and take the necessary combustion test readings as specified by the burner manufacturer.
Water Temperature Regulation
Once installed, the operation will be completely automatic. The thermostat (aquastat) on the water heater is adjustable and will maintain water at the desired temperature. Thermostats are factory set at 49°C (120°F). Contact a qual-ified Oil-Burner Technician for adjustment. Set the tank thermostat as low as possible to provide an adequate supply of hot water. This will conserve oil and extend the life of the tank.
Water Heater Operation
WARNING:
Keep the area around the heater clear and unobstructed.
Stacking
Stacking occurs when a series of short draws of hot water (11 litres (3 US gallons) or less) are taken from the water heater tank. This causes increased cycling of the burner and can result in increased water temperatures at the hot water outlet. A tempering device is recommended in the hot water supply line to reduce the risk of scald injury.
Water Heater Sounds
During the normal operation of the water heater, sounds or noises may be heard. These noises are common and may result from the following:
- Normal expansion and contraction of metal parts during periods of heat-up and cool-down.
- Condensation causes sizzling and popping within the burner area and should be considered normal.
- Sediment buildup in the tank bottom will create varying amounts of noise and may cause premature tank failure. Drain and flush the tank as directed under “Draining and Flushing”.
Smoke/Odour
The water heater may give off a small amount of smoke and odour during the initial start-up of the unit. This is due to the burning off of oil from metal parts of a new unit and will disappear after a few minutes of operation.
Anode Rod/Water Odour
Each water heater contains at least one anode rod, which will slowly deplete while protecting the glass-lined tank from corrosion and prolonging the life of the water heater. Once the anode is depleted, the tank will start to corrode, eventually developing a leak. Certain water conditions will cause a reaction between this rod and the water. The most common complaint associated with the anode rod is a “rotten egg smell” produced from the presence of hydrogen sulfide gas dissolved in the water. Do not remove this rod permanently as it will void any warranties, stated or implied. A special anode can be ordered if water odour or discoloration occurs. This rod may reduce, if not eliminate, water odour problems. The water supply system may require special filtration equipment from a water conditioning company to successfully eliminate all water odour problems. Artificially softened water is exceedingly corrosive because the process substitutes sodium ions for magnesium and calcium ions. The use of a water softener may decrease the life of the water heater tank. The anode rod should be inspected every year. If the rod is more than 50% depleted, the anode rod should be replaced.
To replace the anode:
- Turn off oil supply to the water heater.
- Shut off the water supply and open a nearby hot water faucet to depressurize the water tank.
- Drain approximately 20 litres (5 US gallons) of water from tank (Refer to “Draining and Flushing” for proper procedures.) Close drain valve.
- Remove old anode rod.
- Use Teflon® tape or approved pipe sealant on threads and install new anode rod.
- Turn on water supply and open nearby hot water faucet to purge air from water system.
- Restart the water heater as directed under “Startup.”
Anode Maintenance
A new anode is about 20mm (13/16 in.) to 22mm (7/8 in.) diameter and has a steel wire core approximately 3mm (1/8 in.) in diameter in the center. If the anode is less than approximately 10mm (3/8 in.) in diameter, or the inner steel core is exposed, the anode(s) should be replaced. Operating a water heater without an actively working anode(s) will void the warranty.
To check/replace the anode:
- Turn “OFF” the electrical supply to the water heater.
- Close the cold water supply valve.
- Open a nearby hot water faucet served by the system to depressurize the system.
- Connect a hose to the drain valve and drain 22 litres (6 USG.) as directed in “Draining, Flushing and Sediment Removal”.
CAUTION! The water being drained can be extremely hot! The drain hose should be rated for at least 93°C (200°F). If the drain hose does not have this rating, open the cold water supply valve and a nearby hot water faucet served by the system until the water flow is no longer hot. Close the cold water supply valve and resume. - Remove the anode cover, or, on JWF657, Rear and Combination flue models, remove top cover, insulation and flue top cover.
NOTE: The anode(s) has been factory-installed using a power tool. It may be necessary for a second person to sta-bilize the heater. A few sharp blows on the handle of the socket wrench should loosen the anode nut. If an impact wrench (power drive) is available, this is an easier way to remove an anode. - Using a 1 1/16″ socket (certain models require 1-5/16”) , remove the anode(s) and inspect it. The surface may be rough, full of pits and crevices, but this is normal. If it is less than approximately 10mm (3/8 in.) in diameter, or the inner steel core exposed, the anode(s) should be replaced.
- Apply Teflon® tape, or sealing compounds approved for use with potable water, to the threads of the anode(s) and install into the tank top.
- Open the cold water supply valve and open a nearby hot water faucet to purge air from the water tank as directed in “Filling the Water Heater”.
- Check for leaks. Repair as required, and re-test.
- Replace the covers and insulation and turn the electrical supply to the heater “ON”.
MAINTENANCE
Do not attempt to repair your water heater. Call a qualified Oil-Burner Technician for service. Turn “OFF” the electric power whenever the water supply is shut off. Before calling for service, check that:
- The heater is properly filled.
- The electrical supply has not been interrupted.
Professional Maintenance
Except for external appearance and area tidiness, the following steps should be performed only by a qualified Oil-Burner Technician.
- Lift out the flue baffle to clean the flue. (On rear and combination flue heaters, the top cover, insulation and flue top cover must be removed.)
- Insert a flue brush down the flue passage way(s) to remove soot and dirt. Soot or carbon that falls into the combustion chamber will burn up within a very short time.
- In normal use, there should be no large accumulation of soot in the combustion chamber. If there is, remove the burner and carefully brush or vacuum the combustion chamber.
Flue Pipes
Once a year, inspect the flue pipe leading from the heater to the chimney. If corrosion is evident, or discoloration at the joints can be seen, replace the flue pipes. This should be done by a qualified Oil-Burner Technician. Flue pipes must be replaced by the same size flue pipe as the flue collar (breech connection) at the heater.
Combustion Tests Burner adjustments:
Final burner adjustments must be made using combustion test equipment to assure proper operation. Do not fire heater without water or sections will overheat.
- Refer to burner manual for start-up.
- Allow heater to heat to design condition.
- Using combustion test equipment, adjust burner for:
- CO2 between 11% and 12% and a trace of smoke between No. 0 smoke and No. 1 smoke.
- over-fire draft -0.01 to -0.02 in. w.c. (-0.0025 to -0.005kPa) draft in combustion chamber (+0.25 in.
w. c. (+0.062kPa) for JWF307V).NOTE: For JWF307V also see additional “Installation Instructions for Through-the-wall Venting Components” that is supplied with the JWF307V.
Routine Preventative Maintenance (by owner/operator)
As a precaution against fire, and to maintain an adequate flow of combustion air to the heater:
- Keep the appliance area clear and free from combustible material, gasoline and other flammable vapors and liquids.
- Keep the air ventilation openings unobstructed. If dust and lint is seen accumulating around the openings, remove it.
- Do not pile cartons, papers, or combustible materials on top, or near the heater (see Figure 1).
Draining and Flushing
It is recommended that the tank be drained and flushed every 6 months to remove sediment that may build up during operation. The water heater should be drained if being shut down during freezing temperatures. To drain the tank, perform the following steps:
- Turn off the electrical supply to the water heater.
- Close the cold water inlet valve.
- Open a nearby hot water faucet.
- Connect a hose to the drain valve and terminate it to an adequate drain.
Note: The drain hose should be rated for at least 93°C (200°F). If the drain hose does not have this rating, open the cold water inlet valve and a nearby hot faucet until the water is no longer hot. - Open the water heater drain valve and allow all the water to drain from the tank. Flush the tank with water as needed to remove sediment.
- Close the drain valve, refill the tank, and restart the heater as directed under “Water Heater Operation”.
- If the water heater is going to be shut down for an extended period, the drain valve should be left open.
Important: Condensation may occur when refilling the tank and should not be confused with a tank leak.
Temperature and Pressure Relief Valve
Manually operate the temperature and pressure relief valve at least once a year to make sure it is working properly (see Figure 12). To prevent water damage, the valve must be properly connected to a discharge line that terminates at an adequate drain. Standing clear of the outlet (discharged water may be hot), slowly lift and release the lever handle on the temperature and pressure relief valve to allow the valve to operate freely and return to its closed position. If the valve fails to completely reset and continues to release water, immediately shut off the power to the heater and the cold water inlet valve and call a qualified service technician.
Cleaning Instructions, Flue Passages Of The JWF657 Heater Refer to Figure 13 for components of the heater.
- Remove the casing top and lift the insulation off com-pletely. It is necessary to disconnect the hot and cold water lines and move them out of the way. Do not remove the nipples from the tank.
- Lift off the flue collector. The flue collector has a lip on the outer edge which will allow a hook to grab the edge to help lift it up.
- Remove the flue baffles (4).
- With a 76mm (3 in.) diameter wire brush, 1.2m (4 ft.) long, remove any soot build-up which may be on the top head or inside the flue collector.

- Reassemble in reverse order. It may be necessary to replace the gaskets around the nipples to seal them at the flue collector. Replace the insulation and the casing top.
- Reconnect the plumbing lines.
Shut Down For Extended Periods
When away for extended periods of time such as vacation, and no freezing temperatures are expected:
- Shut off the oil supply at the tank.
- Shut off the cold water supply to the heater.
- Turn “OFF” the electrical supply to the water heater.
- Open an upstairs hot water faucet (to relieve any pres-sure).
When freezing temperatures are expected:
- Shut off the oil supply at the tank.
- Shut off the cold water supply to the heater.
NOTE: It is recommended that all water lines in the home be drained. Contact a qualified plumber for directions applicable to the heater. - Turn “OFF” the electrical supply to the water heater.
- Connect a hose to the drain valve and drain as directed in “Draining, Flushing and Sediment Removal”.
- Leave the drain hose attached as a reminder that the tank has no water in it.
Re-Starting The Heater After Shut-Down
CAUTION
Hydrogen gas can be produced in a hot water system served by this heater that has not been used for a long period of time (generally two (2) weeks or more). Hydrogen gas is extremely flammable and can ignite
- Follow instructions for “Filling the Water Heater” and “Startup” when heater is ready to be put back into ser-vice.
- If the heater does not start, check to see if the relay on the burner has tripped. Reset if necessary. Check to see if the thermostat is set at “Normal” or “High”.
- If the heater does not start:
- Turn “OFF” the electrical supply to the water heater.
- Shut off the oil supply at the tank.
- Call a qualified Oil-Burner Technician.
COMBO HEATING
WARNING:
Keep the area around the heater clear and unobstructed.
This section serves as a guide for the installation and use of “Combo” heating systems utilizing a domestic water heater that has been specifically approved for such use. It is written for those knowledgeable in the required trades and professionals involved in the design and installation of Combo Heating Systems. It is the responsibility of the installer/designer to follow all applicable codes to ensure the effectiveness and safety of the installation.
Read Before Proceeding
The following requirements must be met for the installation of Combo Heating Systems:
- All components used for the distribution of water in the heating loop must be suitable for potable water. These include all piping, fittings, solder and fluxes, pumps for circulation of water, valves, etc.
- The water heater must not be connected to a hydronic heating system that has been used previously.
- No boiler treatment chemicals of any kind shall be introduced into the system.
- The Combo System components must be selected and sized to meet and maintain the total calculated demands for both domestic service hot water and space heating requirement. The sizing and installation must be performed in accordance with good engineering practice such as “ASHRAE Handbooks”, HRAI, “Hydronics Institute Manuals”, CSA B139-04, NFPA 31, ANSI Z223.1, CSA F280, National/Provincial Building Codes, CSA C22.1, ANSI/NFPA 70, CSA B51 and/or codes having jurisdiction.
- The air handler (fan coil) and/or the circulating pump in a baseboard hydronic loop will require a dedicated 120V circuit. This must be provided and identified for this pur-pose.
- All piping between the water heater and the air handler or hydronic baseboard loop must be adequately insulated to reduce heat loss.
- If the local jurisdiction requires a backflow preventer in the cold water line, an expansion tank of adequate size must be installed.
- “Combo” Heating Systems require higher water temperatures than other applications. When the system is used to supply water for Combo Heating applications, a means, such as mixing valve, must be installed to temper the water in order to reduce scald hazard potential (see Figures 14, 15 & 16).
Installation
The heating mode may be one of the following options:
- A fan coil/air handler (Figure 14).
- A hydronic baseboard (finned tube) loop (Figure 15).
- A hydronic in-floor heating loop (Figure 16).
The following is a list of requirements for the installation of the heating loop to the water heater.
- Install shut-off valves and unions so that the water heater can be isolated from the heating module should servicing of the water heater become necessary. Install a drain
- valve at the lowest point of the heating loop so that water can be drained from the heating mod-ule without affecting the water heater.
- If the air handler does not have a venting means at the highest point of the piping arrangement, install an air bleed at the highest point of the plumbing arrangement.
- If solenoid valves are used for zone heating applications, they must include electrical proof of valve full open position and must be connected to the water pump.


OIL BURNER LISTING
| Model | MFGR | Burner | Nozzle & Pump Press. | Blast tube | Notes |
| JW317 | BECKETT | AFG GSW-J3037 | 0.75 GPH | U.S. ONLY | |
| BECKETT | AFG GSW-J3036 | 0.75 GPH | MASS. ONLY | ||
| CARLIN | EZ197297AJW317 | 0.75 GPH | |||
| CARLIN | 97297AJW317 | 0.75 x 60A DEL 85472, 100 psi | 9″ | ||
| JW327 | BECKETT | AFG GSW-J3037 | 0.75 GPH | U.S. ONLY | |
| BECKETT | AFG GSW-J3036 | 0.75 GPH | MASS. ONLY | ||
| CARLIN | EZ197297AJW317 | 0.75 GPH | |||
| CARLIN | 97297AJW317 | 0.75 x 60A DEL 85472, 100 psi | 9″ | ||
| JW517 | BECKETT | AFG GSW-J5037 | 0.85 GPH | U.S. ONLY | |
| BECKETT | AFG GSW-J5036 | 0.85 GPH | MASS. ONLY | ||
| CARLIN | EZ197397AJW517 | 0.85 GPH | |||
| JW527 | BECKETT | AFG GSW-J5037 | 0.85 GPH | U.S. ONLY | |
| BECKETT | AFG GSW-J5036 | 0.85 GPH | MASS. ONLY | ||
| CARLIN | EZ197397AJW517 | 0.85 GPH | |||
|
JW717 | AERO | FAFC-3-03 | 1.0 GPH | ||
| BECKETT | AFG GSW-J7037 | 1.0 GPH | U.S. ONLY | ||
| BECKETT | AFG GSW-J7036 | 1.0 GPH | MASS. ONLY | ||
| CARLIN | EZ197397AJW717 | 1.0 GPH | |||
| CARLIN | 97397AJW717 | 1.00 x 60A DEL 38018, 100 psi | 9″ | ||
|
JW727 | AERO | FAFC-3-03 | 1.0 GPH | ||
| BECKETT | AFG GSW-J7037 | 1.0 GPH | U.S. ONLY | ||
| BECKETT | AFG GSW-J7036 | 1.0 GPH | MASS. ONLY | ||
| CARLIN | EZ197397AJW717 | 1.0 GPH | |||
| CARLIN | 97397AJW717 | 1.00 x 60A DEL 38018, 100 psi | 9″ | ||
|
JWF307 | AERO | FAFC-2X | 0.65 – 0 .75 GPH | ||
| AERO | SV-2X | 0.65 – 0 .75 GPH | |||
| AERO | FAFC-2X | 0.65 x 80A À 0.75 x 80A | 4 7/8″ | ||
| AERO | SV-2X | 0.65 x 80A À 0.75 x 80A | 4 7/8″ | ||
| BECKETT | AFG GSW-J3006 | 0.65 – 0.75 GPH | CANADA | ||
| BECKETT | AFG GSW-J3031 | 0.65 GPH | MASS. ONLY | ||
| BECKETT | AFG GSW-J3033 | 0.75 GPH | MASS. ONLY | ||
| BECKETT | AFG GSW-J3032 | 0.65 GPH | U.S. ONLY | ||
| BECKETT | AFG GSW J3034 | 0.75 GPH | U.S. ONLY | ||
| CARLIN | EZ-1 #96983DA | 0.75 GPH | |||
| CARLIN | 96986AJW307 | 0.75 x 60A DEL 85472, 100 psi | 7″ | ||
| RIELLO | R35.3.04.OR | 0.60 – 0.65 GPH | |||
| RIELLO | R35.3.04.OR | 0.60 x 60W Delavan, 130, 0.65 | 4.25″ | ||
| RIELLO | R35.3.04.OR | 0.65 x 60W Delavan, 150, 0.75 | 4.25″ | ||
| WAYNE | HSR “Ecore” | 0.65 – 0.75 GPH | |||
|
JWF307V | BECKETT | AFG GSW-J3007 | 0.65 GPH | CANADA | |
| BECKETT | AFG GSW-J3009B | 0.65 GPH | U.S. | ||
| BECKETT | AFG GSW-J3008B | 0.65 GPH | MASS. ONLY | ||
| CARLIN | EZ-1 | 0.65 GPH | |||
| RIELLO | 40 BF3 SBT | 0.60 x 60A Delavan, 140, 0.65 | 4.188″ | ||
| RIELLO | 40 BF3 SBT | 0.75 GPH |
| Model | MFGR | Burner | Nozzle & Pump Press. | Blast tube | Notes |
|
JWF507 | AERO | FAFC-2X | 0.75 GPH | ||
| AERO | SV-2X | 0.75 GPH | |||
| AERO | FAFC-2X | 0.75 x 80A | 5 15/16″ | ||
| AERO | SV-2X | 0.75 x 80A | 5 15/16″ | ||
| BECKETT | AFG GSW-J5006 | 0.75 GPH | CANADA | ||
| BECKETT | AFG GSW-J5032 | 0.75 GPH | U.S. | ||
| BECKETT | AFG GSW-J5031 | 0.75 GPH | MASS. ONLY | ||
| BECKETT | AFG GSW-J5041 | 0.75 GPH | |||
| BECKETT | AFG GSW-J5040 | 0.75 GPH | |||
| BECKETT | AFG GSW-J5999 | 0.75 GPH | |||
| CARLIN | EZ196983AJW507 | 0.75 GPH | |||
| CARLIN | 96983AJW507 | 0.75 x 60A DEL 85472, 100 psi | 7″ | ||
| RIELLO | R35.3.05.OR | 0.65 GPH | |||
| RIELLO | R35.3.05.OR | 0.65 x 60A CT Delavan, 160, 0.75 | 5.688″ | ||
|
JWF657 | AERO | HF-US-2-9 | 1.0 – 1.25 GPH | ||
| BECKETT | AFG GSW-J7006 | 1.0 – 1.25 GPH | CANADA | ||
| BECKETT | AFG GSW-J7041 | 1.0 – 1.25 GPH | U.S. | ||
| BECKETT | AFG GSW-J7040 | 1.0 – 1.25 GPH | MASS. ONLY | ||
| CARLIN | EZ197397AJW517 | 1.0 – 1.25 GPH | |||
| CARLIN | 96986AJW657 | 1.25 x 60A DEL 85548, 100 psi | 9″ | ||
| RIELLO | R35.5.07.OR | 0.85 – 1.1 GPH |
When referencing the water heater for service or warranty, please refer to the rating plate affi xed to the unit for the following information:
LIMITED WARRANTY
RESIDENTIAL STORAGE TANK TYPE WATER HEATER FOR INSTALLATION IN A SINGLE-FAMILY DWELLING
- WHO IS
GSW WATER HEATING AND ITS SUPPLIERS, (herein collectively referred to as “Manufacturer”) warrants only to the original consumer purchaser (hereinafter “Owner”) of the water heater, within the boundaries of the continental United States or Canada, or their territories, so long as he or she continuously occupies the single-family dwelling in which this water heater is initially installed for the period specified below. This Warranty is not transferable. This Warranty is reduced to one year if the water heater is used in a commercial or industrial application, or if the water heater is used to supply more than one dwelling unit. Consumers must retain the point-of-sale proof of purchase to validate warranty entitlement.
WHEN IT IS
The water heater is warranted only when it is installed, operated, and maintained in accordance with the printed instructions accompanying the water heater. The water heater shall/must be installed in such a manner that, if the tank or any connection thereto should leak, the resulting flow of water will not cause damage to the area in which it is installed. The water heater’s temperature and pressure relief valve must be piped to the nearest drain to avoid damage in the event the valve is actuated. For detailed instructions, read the manual accompanying the water heater and review drawings in the manual.
- WHAT THE MANUFACTURER WILL DO AND THE PERIOD OF
- The Inner Tank. If the inner tank leaks within the warranty period shown in the table above after the original installation, the Manufacturer will furnish a new water heater of the Manufacturer’s then prevailing comparable model. If in- dustry standards, regulatory changes, product improvements, or product obsolescence prohibits the Manufacturer from furnishing an identical model replacement water heater under this Warranty, the Owner will be furnished with a new water heater of comparable capacity; however, the Owner will be charged for the additional value of the item(s) which the Manufacturer has incorporated in the replacement water A prior authorization number must be obtained from the Manufacturer before replacing the water heater. This Warranty is limited to one replacement water heater at the original installation site.
- Component Part. If any component, part other than the inner tank, proves to the Manufacturer’s satisfaction to be defective in material or workmanship within the warranty period shown in the table above after the original installation, the Manufacturer will furnish the Owner with a replacement for the defective part(s). This Warranty is limited to one replacement component part for each original part.
- Return of Defective Water Heater and Component Parts. The Manufacturer reserves the right to examine the al- leged defect in the water heater or component part(s). As such, it will be the Owner’s obligation (see paragraph D. 3) to return the water heater and/or component part(s) to the Manufacturer.
- When returning a water heater, it must include all component parts and the rating plate
- When returning component part(s), they must be individually tagged and identified with the water heater’s Model Number, SKU, Serial Number, date of purchase, and date of installation.
- THERE ARE NO WARRANTIES WHICH EXTEND BEYOND THE DESCRIPTION ON THE FACE HEREOF. THIS EXPRESS WARRANTY IS, WHERE PERMITTED BY LAW, IN LIEU OF AND EXCLUDES AND REPLACES ALL OTHER CONDITIONS, WARRANTIES, GUARANTEES, REPRESENTATIONS, OBLIGATIONS OR LIABILITIES OF THE MANUFACTURER OF ANY NATURE OR KIND, EXPRESS OR IMPLIED, HOWEVER ARISING (WHETH- ER BY CONTRACT, CONDUCT, STATEMENT, STATUTE, NEGLIGENCE, PRINCIPLES OF MANUFACTURER’S LIABILITY, OPERATION OF LAW, OR OTHERWISE) WITH RESPECT TO THE UNIT OR ITS FIRNESS FOR A PARTICULAR PURPOSE, METCHANTABILITY, INSTALLATION, OPERATION, REPAIR, OR THE MANUFACTURER EXPRESSLY DISCLAIMS ANY AND ALL IMPLIED WARRANTIES. IN NO EVENT WILL THE MANUFACTURER’S LIABILITIES EXCEED THE COST OF THE DEFECTIVE PART(S) OR UNIT.
- WHAT THIS WARRANTY DOES NOT
- The Unit must not be installed where water damage can result from a leak, while provision(s) shall be made for direct- ing any water escaping from the Unit to a properly operating As all units of this type may eventually leak, you must protect against any potential water damage. The Manufacturer accepts no responsibility for such damage, nor any incidental or consequential loss, nor damage(s) related thereto, suffered by the Owner of the Unit nor by any third party.
- The Manufacturer shall not be liable under this Warranty and this Warranty shall be void and have no effect if the fol- lowing events occur:
- The water heater or any of its component parts have been subject to misuse, alteration, neglect, or accident; or
- The water heater has not been installed in accordance with the applicable local plumbing and/or building code(s) and/or regulations or, in their absence, with the latest edition of the Natural Gas and Propane Installation Code, and/or the Canadian Electrical Code; or
- The water heater is not installed, operated, and maintained in accordance with the Manufacturer’s instructions, including if the water heater has any additional aftermarket equipment introduced into the sealed system not ap- proved by the Manufacturer; or
- The water heater or any of its component parts are damaged or fails from operation with an empty or partially empty tank (such as, but not limited to elements burned out in a dry tank); or
- The water heater or any part has been under water; or
- The water heater is exposed to highly corrosive atmospheric conditions. No warranty extends, for example, and without limitation of the foregoing, to Units exposed to: salts, chemicals, exhausts, pollutants, or contaminants; or
- The water heater is not continuously supplied with potable water; or
- The water heater replacement is requested for reasons of noise, taste, odour, discolouration, and/or rust; or
- The water heater is operated at temperatures exceeding the maximum setting of the thermostat and/or high limit control provided by the Manufacturer, or at water pressures exceeding the pressure reading stated on the Unit; or
- The water heater is operated without an operating anode; or
- The water heater is supplied or operated with deionized water; or
- The water heater is removed from its original installation location; or
- The water heater is installed outdoors (this water heater is intended only for indoor installation); or
- The water heater is converted, or is attempted to be converted, from one voltage or wattage to another, if an electric water heater, or from one gas type to another, if a gas water heater; or
- The water heater has not been fired at the factory rated input and fuel for which it was factory built; or
- The water heater or any of its component parts fail due to sediment build-up; or
- The water heater does not have installed a properly operating temperature and pressure relief valve, certified to ANSI Z21.22/CSA “Requirements for Relief Valves for Hot Water Supply Systems”; or
- The water heater or any of its component parts fail because of fire, floods, lightning, or any other act of God, or any other contingency beyond the control of the Manufacturer; or
- The water heater is installed in a closed system without adequate provision for thermal
- Except when specifically prohibited by the applicable law, the Owner, and not the Manufacturer, shall be liable for and shall pay for all charges for labour or other expenses incurred in the removal, repair, or replacement of the water heater or any component part(s) claimed to be defective or any expense incurred to remedy any defect in the product. Such charges may include, but are not necessarily limited to:
- All freight, shipping, handling, and delivery costs of forwarding a new water heater or replacement part(s) to the
- All costs necessary or incidental in removing the defective water heater or component part(s) and installing a new water heater or component part(s).
- Any material required to complete and/or permits required for the installation of a new water heater or replacement part(s), and
- All costs necessary or incidental in returning the defective water heater or component part(s) to a location desig- nated by the Manufacturer.
- The terms of this Limited Warranty cannot be modified by any person, whether or not he/she claims to represent or act on behalf of the Manufacturer.
HOW THE ORIGINAL OWNER CAN MAKE A WARRANTY
- The Owner should submit the warranty claim direct to the Manufacturer’s Service Department, at the address or phone number listed below, and the Manufacturer will arrange for the handling of the claim.
- Whenever any inquiry or request is made, be sure to include the water heater’s Catalogue Number, Model Number, Serial Number, date of purchase, date of installation, and location of installation.
This Warranty and the Manufacturer’s obligations shall be construed and determined in accordance with the laws of both the Province of Ontario, and of Canada in force therein. This Warranty does not affect specific legal rights of a consumer under applicable law, except to the extent that such rights may be waived or replaced, and the provisions hereof are deemed to be amended to the extent necessary. The unenforceability of any provision, in whole or in part, of this Certificate shall not affect the remaining provisions. Any and all repair and/or replacement of part(s) or Unit are the sole and exclusive remedy available against the Manufacturer.
John Wood Water Heaters 599 Hill Street West
Fergus, ON Canada N1M 2X1 Should you have any questions, please
Visit us online at www.johnwoodwaterheaters.com, or E-mail us at [email protected], or Call our Technical Support line at 1 888 GSW TECH (479 8324)





















