

Terrace Electric Heater
Table Top
KLEH151-0500
IMPORTANT
PLEASE KEEP THIS BOOKLET FOR FUTURE REFERENCE. THIS IS IMPORTANT INFORMATION REGARDING THE USE AND
CARE OF YOUR OUTDOOR HEATER.
ASSEMBLY TIME
PERSONS REQUIRED
Important Information
Unpack the outdoor heater making sure that all of the items are present and that there are no components left in the box and the heater head is free from any packaging material. Extra packaging is added to some models for transportation protection which must be removed before assembly.
Using the detailed drawing following the steps to assemble the outdoor heater (where relevant).
DO NOT connect the outdoor heater to the electrical supply until the assembly is complete.
DO NOT connect the outdoor heater to the electrical supply if any of the components or power cord is damaged in any way.
CAUTION – Risk of Electric Shock. DO NOT open or try to repair the heater yourself.
Important advice before you begin:
This appliance is not intended for use by persons (including children) with reduced physical, sensory or mental capabilities or lack of experience and knowledge if they have been given supervision or instruction concerning the use of the appliance in a safe way and understand the hazards involved.
Children should not play with the appliance. Cleaning and user maintenance should not be made by children without supervision.
Do not use any other tools other than those recommended to build this product.
Please do not use substitute parts. Use only additional or replacement parts supplied by Kettler.
In the unlikely event that this product has missing or damaged parts, please visit our website www.kettler.co.uk/shop.
For Your Safety
Warning
- This heater is not equipped with a device to control the room temperature.
DO NOT use this heater in small rooms when they are occupied by persons not capable of leaving the room on their own unless constant supervision is provided. - Children of less than 3 years should be kept away unless continuously supervised.
- Children under 8 years shall not plug in, regulate and clean the appliance or perform user maintenance.
Caution
- Some parts of this product can become very hot and cause burns. Particular attention must be given where children, vulnerable people, and animals are present.
- For floor-mounted heaters only use the heater on a firm solid horizontal area where all the feet on the base are in contact with the floor. (Should the heater be tilted or fall over the auto cut-off switch will activate).
- Risk of Electric Shock. DO NOT open or try to repair the heater yourself.
- Any maintenance or repairs including replacing the tube(s) should only be carried out by a qualified electrician or by a qualified service center.
- Site the heater outside or in a large open area and well away from any obstructions such as branches or where the heater is near any objects that can be affected by heat, such as furniture, curtains or other inflammable objects (minimum distance 1 meter).
- DO NOT use this heater in the immediate surroundings of a bath, a shower, or a swimming pool. Do not use near water.
- DO NOT use in unventilated areas.
- DO NOT use where gas, petrol, paint or other surely flammable goods are stored.
- DO NOT push any items through, obstruct or cover the grill of the heater head.
- DO NOT position immediately above or below an electrical socket.
- DO NOT move when connected to an electrical supply and always wait for the patio heater to cool down before cleaning / storing away.
- DO NOT touch the heater head when in use.
- DO NOT leave turned on and unattended especially when children and or animals are in the vicinity.
- The indication of the different positions of switches shall be visible from a distance of 1M.
- The marking concerning covering should be visible after the heater has been installed. It shall not be placed on the back of portable heaters.
- The unit must be placed with a clearance of 100cm to the wall.
- The unit must be correctly installed according to the instructions.
- The unit is at a high temperature during operation. It keeps hot for a period after shut down. The potential danger would occur when touching it during this period. Unplug the unit and wait till it cools before cleaning.
- DO NOT place the unit close to the curtain and/or other flammable objects. Otherwise there will be a danger of catching fire.
- DO NOT cover the unit with anything during operation or a short time after it is shut down.
- DO NOT wrap the power supply cord on the unit.
- The unit must be handled with care, and avoid vibration or hitting.
- An apparatus with CLASS I construction shall be connected to a MAINS socket outlet with a protective earthing connection.
- DO NOT use if the unit or power cable is damaged.
- DO NOT attempt to repair or adjust any electrical or mechanical functions on this unit. Doing so will void your warranty. The inside of the unit contains no user-serviceable parts. Servicing / Repair should only be performed by a qualified electrician or qualified service center.
- DO NOT use this unit in a place where causticity or volatile air exists, i.e. dust, steam, gas, etc.
- DO NOT use this unit as a cloth drier or towel drier.
- DO NOT use this unit as a sauna heater.
- DO NOT use this unit as a room heater.
- DO NOT use this unit in place of animal propagating and raising.
- DO NOT immerse this unit into the water for cleaning.
- The unit should be plugged in a socket, which is easily visible and reachable.
- DO NOT use this heater with a programmer, timer or any other device that switches the heater on automatically, since a fire risk exists if the heater is covered or positioned incorrectly.
- Children should be supervised to ensure that they do not play with the appliance.
- When assembling, keep clear from any board or flammable material.
- DO NOT insert or allow foreign objects to enter any ventilation or exhaust opening as this may cause an electric shock or fire, or damage the heater.
- Use only for intended household use as described in this manual. Any other use not recommended by the manufacturer may cause fire, electric shock, or injury to persons. The use of attachments not recommended or sold by unauthorized dealers may cause hazards.
- The unit is for household use only. It is not safe to use on a building site, greenhouse, barn or stable where there’s flammable dust.
- Avoid the use of an extension cord because the extension cord may overheat and cause a risk of fire. However, if you must use an extension cord, the cord shall be rated to 13A (Minimum conductor size 1.5mm2) and if the cord is on a reel it must be fully unwound before use.
- Disconnect the power cable from the electrical supply when the heater is not in use. If the power cord becomes damaged, it must be replaced by a qualified electrician.
- This appliance is not intended for use by a person (including children) with reduced physical, sensory or mental capabilities, or lack of experience and knowledge unless they have been given supervision or instruction concerning the use of the appliance by a person responsible for their safety.
- One dark point may exist on the surface of the heating elements during the first few minutes after it is turned on. This is normal, and will not affect the performance of the unit.
- To avoid fire or shock hazards, plug the unit directly into a 220-240 Vac and 13A electrical socket outlet.
WARNING! These appliances must be earthed. Before installing or replacing the bulb, the appliance must be always be disconnected from the 220-240V supply.
Assembly
Step 1: Connect the tube with the base by screwing them together.
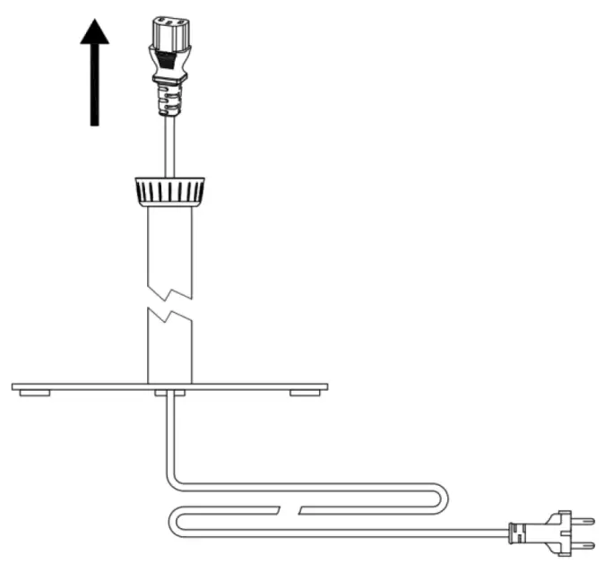
Step 2: Pull the power cord through the pole and base.
Step 3: Connect the power cord plug to the socket in the heater head.
Step 4: Connect the heater head with the tube by screwing them together.
Step 5: Fixed the power cord with the press clip in the base.
Operation Instructions
Connect the power cable to a 220-240V, 13 amp supply that is located in a safe, dry area. Press the button
, the heater will be in ready mode.
- Touch the touch switch once, the heater will be on 800W.
- Touch the touch switch twice, the heater will be on 1200W.
- Touch the touch switch three times, the heater will be on 2000W.
- Touch the touch switch four times, the heater will be on standby.
- Press the button,
to turn the heater off.

Remote Control
- Press the LOW button, the heater will be on 800W.
- Press the High button, the heater will be on 1200W.
- Press the LOW and High buttons at the same time, the heater will be on 2000W.
Operation Instructions
Trouble Shooting
If the heater will not operate, please check the following before seeking repair of service:
- Check if the power cord is plugged into an electrical outlet, if not plugin.
- Check if the electricity to the main fuse is working.
- Make certain the power switches are turned on. If not, choose a setting.
Technical specification
- Power supply 220-240V, 50Hz
- Wattage max 2000W
- Insulation class I
Maintenance and Care Instructions Headline
- Unplug the unit and let it cool completely.
- When disconnected from the electrical supply, clean the outside of the patio heater with a damp cloth. Never use corrosive or solvent cleaners or immerse in water.
- Any maintenance or repairs including replacing the halogen tube should only be carried out by a qualified electrician or by a qualified service center.
Storage
- If the heater will not be used for a long period of time, store it in a cool, dry location when not in use. To prevent dust and dirt build-up, use the original packaging to repack the unit.

www.kettler.co.uk
The symbol indicates that the product should not be discarded as unsorted waste but must be sent to separate collection facilities for recovery and recycling.
12 Mth Warranty
Warranty For Home Use
This product is covered by a 12-month warranty against manufacturing faults. This warranty applies to domestic use only. It does not cover commercial use, mis-use or accidental damage. To validate your warranty, register at www.kettler.co.uk and quote the product code from the front of this booklet.

















