WATERPROOF INDOOR/OUTDOOR
SPEAKERS
| Model: | Speaker Size | Color |
| HOS-401 | 4 inch | White/Black |
| HOS-501 | 5 inch | White/Black |
| HOS-601 | 6 inch | White/Black |
![]()
OWNER’S MANUAL
www.Herdiotech.com
FCC Requirement
Changes or modifications not expressly approved by the party responsible for compliance could void the user’s authority to operate the equipment.
This device complies with Part 15 of the FCC Rules. Operation is subject to the following two conditions : (1) this device may not cause harmful interference, and (2) this device must accept any interference received, including interference that may cause undesired operation.
Note: This equipment has been tested and found to comply with the limits for a Class B digital device, pursuant to Part 15 of the FCC Rules. These limits are designed to provide reasonable protection against harmful interference in a residential installation. This equipment generates, uses, and can radiate radio frequency energy, and if not installed and used in accordance with the instructions, may cause harmful interference to radio communications. However, there is no guarantee that interference will not occur in a particular installation. If this equipment does cause harmful interference to radio or television reception, which can be determined by turning the equipment off and on, the user is encouraged to try to correct the interference by one or more of the following measures:
- Reorient or relocate the receiving antenna.
- Increase the separation between the equipment and receiver.
- Connect the equipment into an outlet on a circuit different from that to which the receiver is connected.
- Consult the dealer or an experienced radio/TV technician for help. This equipment complies with FCC radiation exposure limits set forth for an uncontrolled environment.
This equipment should be installed and operated with a minimum distance of 20cm between the radiator & your body. This transmitter must not be co-located or operating in conjunction with any other antenna or transmitter.
INDOOR /OUTDOOR WATERPROOF LOUDSPEAKERS
Package content
Speakers Installation
These indoor/outdoor weatherproof loudspeakers are manufactured to resist a variety of weather conditions. Snow, rain, and sun (not to be submerged underwater). For durability/longevity we do recommend removing the speakers from the brackets and placing them inside during extended extreme temperatures over 120 degrees and below 0 degrees. The most ideal place to install these speakers is under the overhangs as they provide the best protection. Like all speakers, they sound the best when placed no more than eight feet apart from each other, and slightly higher than ear level. When choosing the speaker location – consider the location of the power source.
The powered speaker should be placed near the power source. The passive speaker could be placed further away and should be connected to the powered speaker.
WIRING When connecting the speakers, it is very important to observe the correct polarity. This means that the wire attached to the (+), red, or positive terminals on one component must be attached to the (+), red, or positive terminal on the corresponding component speaker output terminals. Similarly, the (-), Black, Negative or ground terminals must connect to the respective (-), Black, Negative, or ground terminals. This is easy to do by locating the color stripes that appear on the included speaker wire. If a longer wire run is needed use 16 gauge weatherproof wire up to 50 feet.
Placing Speakers
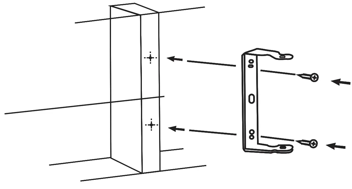
If your application requires the speaker to be mounted, please follow these directions. Using the appropriate screws (not included) mount the bracket. Attach the speakers to the brackets using the large plastic knobs supplied.
Mounting
To install the bracket on the speaker. Screw the bracket knobs into the cabinet. Point the speaker toward the listening area. Once the direction of the speaker has been determined tighten the bracket knobs securely. When possible tilt the speakers down to increase longevity and prevent the weather elements.
Method of Use
Initial Set-Up
Turn ON iPhone, Android, or Other Bluetooth Device Open the Blue Tooth Function Search Blue Tooth Device: HERDIO Touch device “Bluetooth” for automatic
connection Play Music via Android and or iTunes Control Volume via Bluetooth Device and Enjoy.
SPECIFICATIONS | |||
| PART NUMBER: | HOS-401 | HOS-501 | HOS-601 |
| BLUETOOTH VERSION: | Bluetooth 4.0 | Bluetooth 4.0 | Bluetooth 4.0 |
| AUDIO INPUTS: | Bluetooth Devices | Bluetooth Devices | Bluetooth Devices |
| POWER OUTPUTS: | 2X 100W MAX POWER . | 2X 150W MAX POWER . | 2X 200W MAX POWER . |
| AUDIO POWER: | AC100-240V or DC 12V | AC100-240V or DC 12V | AC100-240V or DC 12V |
| WOOF ER : | 4″ Injection Molded PP Cone Buty Rubber Surround | 5. 25″ Injection Molded PP Cone Buty Rubber Surround | 6. 5″ Injection Molded PP Cone Buty Rubber Surround |
| TWEETER: | 1″ PET Dome | 1″ PET Dome | 1″ PET Dome |
| COLOR: | White/Black | White/Black | White/Black |
| WARRANTY: | 1 Year | 1 Year | 1 Year |
WARRANTY
All Hero speaker products have a 1-year Limited Warranty against defects in materials and workmanship. Proof of purchase must accompany all claims. During the warranty period, Hero will replace any defective part and correct any defect in workmanship without charge for either parts or labor. The Technical Support Center at HERDIO is Available from Monday to Friday, Excluding Holidays. If you have any questions feel free to send your messages to our below mailbox: [email protected]
1 YEAR WARRANTY EXTENSION PLAN
How would you like to extend the warranty on your product for 1 YEAR? Simply write and post a review of the product online. Then, register your product online at Herdiotech.com or send an e-mail to [email protected] including your name, address, and phone number, as well as a link to the review. www.Herdiotech.com


















