LIAN LI UNI FAN SL-INF Connect 3.0 Controller Installation Guide

Package Contents
Power Module Installation
Note! The socket for the power module are in different size, please be aware of the direction.
Fan to Fan Connection
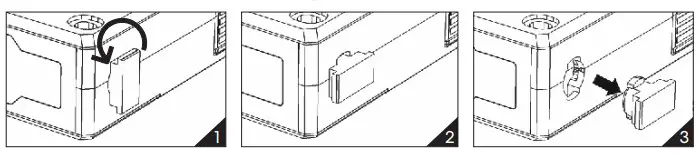
Steps to Switch Orientation of the Cable on the Power Module
Note! The top cover is removable if it is affected by the radiator inlet and outlet, and route the cable vertically
Remove the Fan Interlocking Key
Use of Magnetic Adhesive Pad
Restriction of Controller
Maximum output of controller when connected BOTH SATA 15 PIN cable:
- The maximum total output of the controller supports up to 29W.
- Use L-Connect 3 to set static white, please lower the brightness.
- When sync to motherboard and set as 100% brightness of static white, the controller supports up to 8 UNI FAN SL Infinity.
- Each SM type port supports up to 5W. (2 SM type port on controller)
Controller Cable Connection
* Splitter
– Control with L-Connect 3: Connect up to 8 UNI FAN SL Infinity with splitter when set as static white, lower the brightness if= necessary.
– Control with Motherboard software: Connect up to 5 UNI FAN SL Infinity with splitter when set as 100% brightness static white



























