JUST WIRELESS 20087 Wireless Hands-Free Bluetooth FM Transmitter

Safety Instructions
Please read this manual carefully before using
- Keep these instructions handy
- Don’t try to disassemble device by yourself
- Don’t expose directly to sunlight or open flames which can cause potential damage
- Keep your attention on the road and do not operate product while driving
Features
- Input 12V-24V
- FM transmitter: 88.1-107.9 MHz range
- Bluetooth· hands-free call
- Streaming music from smartphone to car audio
- system via FM transmitting
- Dual USB ports: Quick charging 3.o·, USB flash drive playing
- Supports TF card playing
- Car battery monitor
Specifications
- DC input: 12V-24V Bluetooth·: vs.a
- Bluetooth·maximum distance: 10 meters/32 feet
- USB 1: QC 3.o·sv/2.4A,9V/2A, 12V/1.5A
- USB 2: USB flash drive playing or 1A
- FM channels: 88.1 -107.9Mhz
- FM transmitting distance: < 2 meters/6.56 fl
- Audio format: MP3, WMA, FL.AC, WAV
- USBcapacity support: 64GB (max)
- TF card support: 32GB (max)
- Working temperature range: -4F to 104F
- Storage temperature range: -40F to 185F
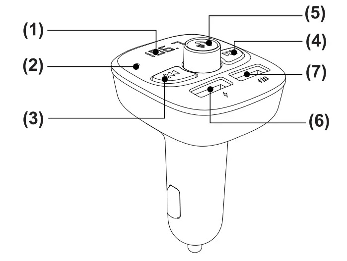
Wireless Transmitter

- LED display
- Microphone
- Previous song
- Next song
- Multifunction Knob button: change frequency/volume + & – I Call Answer & Hang up
- USB 1: QC3.0: 5V/2.4A,9V/2A,12V/ 1.5A
- USB 2: USB flash drive playing

Installation
- Plug the device into your car cigarette lighter socket.

- LED display lights up and shows: 13.5- bl: -107.6
- Bluetooth• connection:
After initial sequence is displayed, the device is ready to pair with voice prompt: “Waiting for connection.” On your smartphone, enable Bluetooth·function, search available devices, select •~ust Wireless” and pair. Once connected, there is a voice prompt: “Bluetooth’ connection success.”
- Turn on FM on your car radio, and find a vacant (unoccupied) channel. Then adjust the frequency on the device to match the frequency on your car radio.

- Adjust the FM transmitter frequency: Press and hold the multifunction knob button until the frequency display flickers, rotate the knob button to adjust the FM transmitting frequency to be the same as your car radio.
Playing Music
Play music from your phone
After steps 1-5, you can start playing on your smart phone, the music will stream by Bluetooth· A2DP function, from your phone via FM transmitting to car radio, and come out from car stereo system.
Play music from your USB flash drive
Plug USBflash drive into the right USBport with MUSIC icon. Device will recognize and play automatically.
Play music from your TF card
Insert TF card to TF card slot device will start to recognize it with display “l:.F” and start playing automatically All operations are same as USB flash drive playing mode. See image following.
How to switch playing among Press” ►►!” and hold until LED displays bl:. or 1:.F(orUSb ), then playing will transfer to mode which it shows.
Hands-Free calling
After you get ready for playing, you can also start to use hands-free functions.
Under music playing status (
flash drive), if there is a call coming, it will switch to call mode automatically, after hanging up, it will switch back to playing mode automatically.
Bluetooth and associated product marks are the trademarks of an independently owned and operated company. This product has not been licensed by this company. Qualcomm Quick Charge is a product of Qualcomm Technologies, Inc. Qualcomm is a trademark of Qualcomm Incorporated, registered in the United States and other countries. Quick Charge is a trademark of Qualcomm Incorporated. All Qualcomm Incorporated trademarks are used with permission.
FCC Statment
NOTE: This equipment has been tested and found to comply with the limits for a Class B digital device, pursuant ta part 15 of the FCC Rules. These limits are designed to provide reasonable protection against harmful interference in a residential installation. This equipment generates uses and can radiate radio frequency energy and, if not installed and used in accordance with the instructions, may cause harmful interference to radio communications. However, there is no guarantee that interference will not occur in a particular installation. If this equipment does cause harmful interference to radio or television reception, which can be determined by turning the equipment off and on, the user is encouraged to try to correct the interference by one or more of the following measures:
- Reorient or relocate the receiving antenna.
- Increase the separation between the equipment and receiver.
- Connect the equipment into an outlet on a circuit different from that to which the receiver is connected.
- Consult the dealer or an experienced radio/TV technician for help
Changes or modifications not expressly approved by the party responsible for compliance could void the user’s authority to operate the equipment
This device complies with Part 15 of the FCC Rules. Operation is subject to the following two conditions: (1) this device may not cause harmful interference, and (2) this device must accept any interference received, including interference that may cause undesired operation.
FCC ID: 2AH8S-20087
For Warranty information, please visit our website.
www.justwireless.com
140 58th St, Brooklyn, NY 11220
2021 Just Wireless




















