KitchenAid W10752685 27 Inch (68.6 CM) and 30 Inch (76.2 CM) Electric Single and Double Oven

| Flush Installation Kit Part Number | Size and Color | UL Listed for Model Numbers |
| W10752685 | 27″ (68.6 cm), black | KODE507EBL, KOSE507EBL |
| W10752684 | 27″ (68.6 cm), white | KODE507EWH, KOSE507EWH |
| W10752686 | 27″ (68.6 cm), stainless steel | KODT107ESS, KOST107ESS, KODE307ESS, KODE507ESS, KOSE507ESS |
| W10889258 | 27″ (68.6 cm), black stainless | KOSE507EBS, KODE507EBS |
| W10752681 | 30″ (76.2 cm), black | KODE500EBL, KOSE500EBL |
| W10752682 | 30″ (76.2 cm), black stainless | KODE500EBS, KOSE500EBS |
| W10752680 | 30″ (76.2 cm), white | KODE500EWH, KOSE500EWH |
| W10752683 | 30″ (76.2 cm), stainless steel | KODT100ESS, KOST100ESS, KODE300ESS, KODE500ESS, KOSE500ESS |
IMPORTANT:
Save for local electrical inspector’s use.
BUILT-IN OVEN SAFETY
Your safety and the safety of others are very important. We have provided many important safety messages in this manual and on your appliance. Always read and obey all safety messages.
All safety messages will tell you what the potential hazard is, tell you how to reduce the chance of injury, and tell you what can happen if the instructions are not followed. |
INSTALLATION REQUIREMENTS
Tools and Parts
Gather the required tools and parts before starting installation. Read and follow the instructions provided with any tools listed here.
Tools Needed
- Phillips screwdriver
- Measuring tape
- Drill (for wall cabinet installations)
- 1 /8″ (3 mm) drill bit (for wall cabinet installations)
- Level
- Flat-blade screwdriver
Parts Needed
- #8-14 x 1″ screws – (2) single ovens, (4) double ovens included with built-in oven
- (2) #8-18 x 3 /8″ screws – bottom vent included with built-in oven
- (4) #8-18 x 3 /8″ screws – double oven feet included with built-in oven
- Bottom vent included with built-in oven
- (2) feet double oven included with built-in oven
- (2) front feet double oven included with built-in oven
Parts Supplied
- Deflector bracke

- Plastic spacers – (2) single ovens, (4) double ovens

- #8-18 x 1 /8″ screws – (2) for 27″ (68.6 cm) models), (4) for 30″ (76.2 cm) models
Location Requirements
IMPORTANT: Observe all governing codes and ordinances.
NOTE: Refer to the following “Location Requirements” and the “Location Requirements” section of the Installation Instructions provided with your built-in oven.
- Cabinet opening dimensions that are shown must be used.
Given dimensions provide minimum clearance with oven. - Recessed installation area must provide complete enclosure around the recessed portion of the oven.
- Oven support surface must be solid, level, and flush with bottom of cabinet cutout.
- Floor must be able to support a single oven weight of 129 lbs (59 kg) for 27″ (68.6 cm) models or 154 lbs (70 kg) for 30″ 76.2 cm) models.
- Floor must be able to support a double oven weight of 251 lbs (114 kg) for 27″ (68.6 cm) models or 288 lbs (131 kg) for 30″ (76.2 cm) models.
IMPORTANT: To avoid damage to your cabinets, check with your builder or cabinet supplier to make sure that the materials used will not discolor, delaminate, or sustain other damage. This oven has been designed in accordance with the requirements of UL and CSA International and complies with the maximum allowable wood cabinet temperatures of 194°F (90°C).
Deflector Bracket Dimensions

27″ (68.6 cm) Models
A. 2615/16″ (68.4 cm) overall widt
30″ (76.2 cm) Models
A. 2915/16″ (76.0 cm) overall width
Cabinet Dimensions – Single Ovens, Flush Installations
A 25″ (63.5 cm) minimum cutout depth is required.
These dimensions will result in a 1/4″ (6 mm) reveal on the top, a 1/4″ (6 mm) reveal on the sides, and a 1/8″ (3 mm) reveal on the bottom of the wall oven.
The front face of the cleats and platform will be visible and should be treated as a finished surface.
Single Ovens Installed in Cabinet – Flush Installation

27″ (68.6 cm) Models
A. 3 /4″ (19 mm) top cleat*
B. 271 /4″ (69.2 cm) minimum width of flush inset cutout
C. 257 /8″ (65.7 cm) minimum width of opening
D. 291 /4″ (74.3 cm) minimum height of flush inset cutout
E. 281 /2″ (72.4 cm) recommended cutout height
F. 11/16″ (17 mm) side cleat*
G. 1 /2″ x 2″ (13 mm x 50.8 mm) spacer the entire depth of the cutout*
H. Recommended junction box location
I. 45 /8″ – 32″ (11.7 cm – 81.3 cm) bottom of cutout to floor
J. 25″ (63.5 cm) minimum depth of cutout
30″ (76.2 cm) Models
A. 3 /4″ (19 mm) top cleat*
B. 301 /4″ (76.8 cm) minimum width of flush inset cutout
C. 287 /8″ (73.3 cm) minimum width of opening
D. 291 /4″ (74.3 cm) minimum height of flush inset cutout
E. 281 /2″ (72.4 cm) recommended cutout height
F. 11/16″ (17 mm) side cleat*
G. 1 /2″ x 2″ (13 mm x 51 mm) spacer the entire depth of the cutout*
H. Recommended junction box location
I. 45 /8″ – 32″ (11.7 cm – 81.3 cm) bottom of cutout to floor
J. 25″ (63.5 cm) minimum depth of cutout
* Cleats and spacers must be recessed 13 /8″ (3.5 cm) from the front of the cabinet.
Single Ovens Undercounter – Flush Installations (without cooktop installed above)

27″ (68.6 cm) Models
A. Recommended junction box location
B. 3 /4″ (19 mm) top cleat*
C. 271 /4″ (69.2 cm) minimumwidth of flush inset cutout
D. 257 /8″ (65.7 cm) minimum width of opening
E. 291 /4″ (74.3 cm) minimum height of flush inset cutout
F. 28¹/2″ (72.4 cm) recommended cutout height
G. 5 /8″ (17 mm) side cleat*
H. 1 /2″ x 2″ (13 mm x 51 mm) spacer the entire depth of the cabinet*
I. 45 /8″ (11.7 cm) bottom of cutout to floor
30″ (76.2 cm) Models
A. Recommended junction box location
B. 3 /4″ (19 mm) top cleat*
C. 30¹/4″ (76.8 cm) minimum width of flush inset cutout
D. 287 /8″ (73.3 cm) minimum width of opening
E. 291 /4″ (74.3 cm) minimum height of flush inset cutout
F. 281 /2″ (72.4 cm) recommended cutout height
G. 11/16″ (17 mm) side cleat*
H. 1 /2″ x 2″ (13 mm x 51 mm) spacer the entire depth of the cabinet*
I. 45 /8″ (11.7 cm) bottom of cutout to floor
* Cleats and spacers must be recessed 13 /8″ (3.5 cm) from the front of the cabinet.

27″ (68.6 cm) Models
A. 1 /2″ x 2″ (13 mm x 51 mm) spacer the entire depth of the cutout*
B. 25″ (63.5 cm) depth of cutout
C. 13 /8″ (3.5 cm) recess from front of cabinet
D. 11/16″ (17 mm) side cleat*
30″ (76.2 cm) Models
A. 1 /2″ x 2″ (13 mm x 51 mm) spacer the entire depth of the cutout*
B. 25″ (63.5 cm) depth of cutout
C. 13 /8″ (3.5 cm) recess from front of cabinet
D. 11/16″ (17 mm) side cleat*
* Cleats and spacers must be recessed 13 /8″ (3.5 cm) from the front of the cabinet.
Cabinet Dimensions – Double Ovens, Flush Installations
A 253 /8″ (64.4 cm) minimum cutout depth is required.
These dimensions will result in a 1 /4″ (6 mm) reveal on the top, a 1 /4″ (6 mm) reveal on the sides, and a 1 /8″ (3 mm) reveal on the bottom of the wall oven.
The front face of the cleats and platform will be visible and should be treated as a finished surface.
Double Ovens Installed in Cabinet – Flush Installations

27″ (68.6 cm) Models
A. 9 /16″ (14 mm) top cleat*
B. 271 /4″ (69.2 cm) minimum width of flush inset cutout
C. 257 /8″ (65.7 cm) minimum width of opening
D. 52″ (132.1 cm) minimum height of flush inset cutout
E. 517 /16″ (130.6 cm) recommended cutout height
F. 11/16″ (17 mm) side cleat*
G. 1 /2″ x 2″ (1.3 cm x 5.1 cm) spacer the entire depth of the cutout*
H. Recommended junction box location
I. 45 /8″ – 143 /4″ (11.7 cm37.5 cm) bottom of cutout to floor
J. 253 /8″ (64.4 cm) minimumdepth of cutout
30″ (76.2 cm) Models
A. 9 /16″ (14 mm) top cleat*
B. 301 /4″ (76.8 cm) minimum width of flush inset cutout
C. 287 /8″ (73.3 cm) minimum width of opening
D. 52″ (132.1 cm) minimum height of flush inset cutout
E. 517 /16″ (130.6 cm) recommended cutout height
F. 11/16″ (17 mm) side cleat*
G. 1 /2″ x 2″ (1.3 cm x 5.1 cm) spacer the entire depth of the cutout*
H. Recommended junction box location
I. 45 /8″ – 143 /4″ (11.7 cm37.5 cm) bottom of cutout to floor
J. 253 /8″ (64.4 cm) minimum depth of cutout
* Cleats and spacers must be recessed 13 /8″ (3.5 cm) from the front of the cabinet.

27″ (68.6 cm) Models
A. 1 /2″ x 2″ (13 mm x 51 mm) spacer the entire depth of the cutout*
B. 253 /8″ (64.4 cm) depth of cutout
C. 13 /8″ (3.5 cm) recess from front of cabinet
D. 11/16″ (17 mm) side cleat*
0″ (76.2 cm) Models
A. 1 /2″ x 2″ (13 mm x 51 mm) spacer the entire depth of the cutout*
B. 253 /8″ (64.4 cm) depth of cutout
C. 13 /8″ (3.5 cm) recess from front of cabinet
D. 11/16″ (17 mm) side cleat*
* Cleats and spacers must be recessed 13 /8″ (3.5 cm) from the front of the cabinet.
INSTALLATION INSTRUCTIONS
Prepare Built-In Oven
NOTES:
- Refer to the following “Installation Instructions” and the “Installation Instructions” section of the Installation Instructions provided with your built-in oven.
- Refer and adhere to the “Electrical Requirements” section, and complete the instructions in the “Make Electrical Connection” section of the Installation Instructions provided with your built-in oven.
- Decide on the final location for the oven. Avoid drilling or cutting into house wiring during installation.

- To avoid floor damage, set the oven onto cardboard prior to installation. Do not use handle or any portion of the front frame for lifting.
- Remove the shipping materials and tape from the oven.
Remember to keep the corner posts and other materials that may be needed for installation. - Remove the hardware package from inside the bag containing literature.
- Move oven and cardboard close to the oven’s final location.
Remove Oven Door(s)
IMPORTANT: Use two hands to remove oven door(s).
- Prior to removing the oven door, prepare a surface where you will place it. This surface should be flat and covered with a soft blanket, or use the corner posts from your packaging material.
- Open the oven door.
- Locate the oven door hinge locks in both corners of the oven door, and rotate the hinge locks toward the oven door to the unlocked position. If the door hinge lock is not rotated fully (see illustration B), the door will not remove properly.

- Partially close the door to engage the door latch locks. The door will stop at this point.

- Partially close the door to engage the door latch locks. The door will stop at this point.

- Set the oven door(s) aside on the prepared covered work surface with the oven door resting on its handle.
- To continue with the oven installation, go to the “Positioning Oven Feet” section.
Replace Oven Door(s)
- Using two hands, grasp side edges of door at the midpoint.
Face the oven cavity. - Locate the slots on each side of the oven cavity for the door hinge locks.

- At a 45° angle, align door hinges with slots in the lower front of the oven cavity. Slowly insert door, making sure you maintain the 45° angle. You will know the door is engaged in the slot when you feel a slight drop.

- Lower the oven door to the fully open position. If the oven door does not open to a full 90 degrees, repeat steps 1 through 3.
- Locate the oven door hinge locks in the corners of the oven door, and rotate the hinge locks toward the oven cavity to the locked position.
See Step 3 (illustration A) in the “Remove Oven Door(s)” section for proper locked position.
- Close the oven door.
- When the hinges are properly installed and the door closed, there should be an even gap between the door and the control panel. If one side of the oven door is hanging lower than the other, the hinge on that side is not properly installed.
Repeat the steps to remove, then replace the oven door. See the “Remove Oven Door(s)” and “Replace Oven Door(s).” sections.
Positioning Oven Feet
Single Ovens
The positioning of the oven feet allows a single oven to be installed in a recommended cutout height of 281 /2″ (72.4 cm).
Go to the “Make Electrical Connection” section in the Installation Instructions provided with your built-in oven.
Double Ovens
The oven feet need to be installed to allow a double oven to be installed in a recommended cutout height of 517 /16″ (130.6 cm).
NOTE: Do not remove the spacers.

- Using 2 or more people, place the oven on its back on a covered surface.

- Install a foot on the left rear spacer using a #8-18 x 3/8″ screw.
NOTE: Position the foot so the long side of the foot is facing toward the top of the oven.
A. Spacer
B. Foot
C. #8-18 x 3 /8″ screw - In the same manner, install a foot on the right rear of the oven.
- Install a front foot on the left front spacer using a #8-18 x 3 /8″ screw.
NOTE: Position the foot so the long side of the foot is facing toward the inside of the oven.
A. Front foot
B. #8-18 x 3 /8″ screw
C. Spacer - In the same manner, install a front foot on the right front of the oven.
- Using 2 or more people, place the oven in its upright position.

- Go to the “Make Electrical Connection” section in the Installation Instructions provided with your built-in oven.
Replace Plastic Spacers
Replace Plastic Spacers on Single Ovens
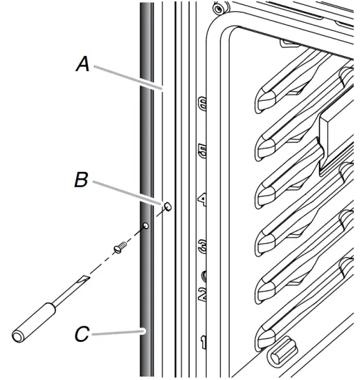
- Remove the screw attaching the plastic spacer (A) to the right side of the oven.
- Using the screw removed, install a new plastic spacer (B) provided with this kit.

A. Plastic spacer
B. New plastic spacer - In the same manner, remove and replace the plastic spacer on the left side of the oven.

Replace Plastic Spacers on Double Ovens
- Remove the 2 screws, 1 in each spacer, attaching the 2 plastic spacers (A) to the right side of the oven.
- Using the 2 screws removed, install 2 new plastic spacers (B) provided with this kit.

A. Plastic spacer
B. New plastic spacer - In the same manner, remove and replace the 2 plastic spacers on the left side of the oven.
Install Oven
- Using 2 or more people, lift the oven partially into the cabinet cutout. Use the oven opening as an area to grip.
NOTE: When pushing the microwave oven into the cabinet, open the microwave oven door and push against the seal area on the front frame. Do not push against the outside edges.
- Push against the front frame of the microwave oven to push oven into cabinet. Push microwave oven completely into cabinet and center in cabinet cutout.

- Push the oven completely into the cabinet, and center the oven into the cabinet cutout.
- Remove the tape from the black front trim piece.
- Securely fasten the oven to the cabinet using the #8-14 x 3 /4″ screws provided.
- Insert the screws through the hole in the black trim piece, aligning with the hole in the oven frame. Do not overtighten the screws.

A. Oven frame
B. Oven frame hole
C. Black trim piece
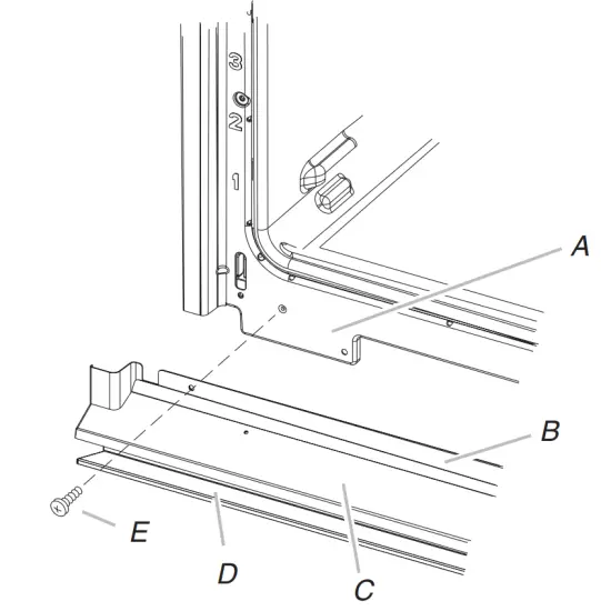
Install Deflector Kit Bracket
This assembly is required for use when a single or double built-in oven is installed in a flush installation.
- Flex the upper vent piece (C) away from the lower vent piece (D) to slide the deflector bracket (B) between them.
Some force may be required to flex the upper vent trim (C) away from the lower vent trim (D). Some force may also be required to flex the deflector bracket (B) and slide it into position. Make sure screw holes are properly aligned between the two pieces. See the following illustration. - Install the deflector bracket (B) to the lower vent piece (D) using two #8-18 x 1 /4″ screws on each side.
NOTE: On 27″ (68.6 cm) models, only one #8-18 x 1 /4″ screw is used on each side.
A. #8–18 x 1 /4″ screws
B. Deflector bracket
C. Upper vent piece (supplied with oven)
D. Lower vent piece (supplied with oven) - Align vent tab (B) with oven frame (A) as shown in the following illustration.
- Using one #8-18 x 3 /8″ screw (E) on each side of the vent tab (B), fasten the vent securely to the oven.

A. Oven frame
B. Vent tab
C. Oven vent
D. Deflector bracket
E. #8–18 x 3 /8″ screw - Replace the oven racks.
- Replace the oven door. See the “Replace Oven Door(s)” section.
- Check that the door is free to open and close. If it is not, repeat the removal and installation procedures. See the “Prepare Built-In Oven” section.
- Repeat for lower oven door.
- Reconnect power.
- The display panel will light briefly, and “PF” should appear in the display.
- If the display panel does not light, refer to the “Assistance or Service” section of the Use and Care Guide provided with your built-in oven or contact the dealer from whom you purchased your oven.
Complete Installation
- Check that all parts are now installed. If there is an extra part, go back through the steps to see which step was skipped.
- Check that you have all of your tools.
- Dispose of/recycle all packaging materials.
- For oven use and cleaning, read the Use and Care Guide.
Check Operation of Single and Double Ovens
- Turn on power.
- At first use, set up the clock and any other preferences if available. For more information, read the Use and Care Guide.
3. Press BROIL on single oven models.
NOTE: Press UPPER BROIL or LOWER BROIL on double oven models. - Set the temperature.
- Press START.
If oven(s) does not operate, check the following:
■ Household fuse is intact and tight, or circuit breaker has not tripped.
■ Electrical supply is connected.
■ See the “Troubleshooting” section in the Use and
Care Guide. - When oven has been on for 5 minutes, feel for heat. If you do not feel heat or if an error message appears in the display, turn off the oven and contact a qualified technician.
- Press UPPER CANCEL/LOWER CANCEL on double ovens, or press CANCEL on single ovens.
If you need Assistance or Service:
Please reference the “Assistance or Service” section of the Use and Care Guide or contact the dealer from whom you purchased your built-in oven
©2016. Used under license in Canada. All rights reserved.
This is the safety alert symbol.





































