Whirlpool 27″ 68.6cm and 30″ 76.2cm Electric Single and Double Built-In Oven

BUILT-IN OVEN SAFETY
Your safety and the safety of others are very important. We have provided many important safety messages in this manual and on your appliance. Always read and obey all safety messages. This is the safety alert symbol. This symbol alerts you to potential hazards that can kill or hurt you and others. All safety messages will follow the safety alert symbol and either the word “DANGER” or “WARNING.” These words mean:
DANGER: You can be killed or seriously injured if you don’t immediately follow instructions.
WARNING: You can be killed or seriously injured if you don’t follow instructions.
All safety messages will tell you what the potential hazard is, tell you how to reduce the chance of injury, and tell you what can happen if the instructions are not followed.
INSTALLATION REQUIREMENTS
Gather the required tools and parts before starting installation. Read and follow the instructions provided with any tools listed here.
Tools Needed
- Phillips screwdriver
- Measuring tape
- Hand or electric drill (for wall cabinet installations)
- 1″ (2.5 cm) drill bit (for wall cabinet installations)
- Level
- Flat-blade screwdriver
Parts Needed
- UL listed or CSA approved conduit connector
- UL listed wire connectors
- Warming Drawer Deflector Kit (for ovens installed above a warming drawer)
- Order Part Number W10510613 for white 27″ (68.6 cm) kit
- Order Part Number W10531009 for black 27″ (68.6 cm) kit
- Order Part Number W10536338 for stainless steel 27″(68.6 cm) kit
- Order Part Number W10510614 for white 30″ (76.2 cm) kit
- Order Part Number W10531010 for black 30″ (76.2 cm) kit
- Order Part Number W10536339 for stainless steel 30″ (76.2 cm) kit
- Order Part Number W10727416A for stainless steel/black 30″ (76.2 cm) kit
- To order, see the “Assistance or Service” section of the Use and Care Guide.
- Flush Installation Kit (for Single and Double installed at flush installation)
- Order Part Number W10752684A for white 27″ (68.6 cm) kit
- Order Part Number W10752685A for black 27″ (68.6 cm) kit
- Order Part Number W10752686A for stainless steel 27″ (68.6 cm) kit
- Order Part Number W10752680A for white 30″ (76.2 cm) kit
- Order Part Number W10752681A for black 30″ (76.2 cm) kit
- Order Part Number W10752683A for stainless steel 30″ (76.2 cm) kit
- Order Part Number W10752682A for black/stainless steel 30″ (76.2 cm) kit
- To order, see the “Assistance or Service” section of the Use and Care Guide.
Parts Supplied
- #8-14 x 1″ screws – single ovens (2), double ovens (4)
- #8-18 x ³⁄₈” screws – bottom vent (2)
- #8-18 x ¹⁄₄” screws – bottom vent trim (4)
- #8-18 x ³⁄₈” screws – double oven feet (4)
- Bottom vent
- Bottom vent trim
- Rear feet – double oven (2)
- Front feet – double oven (2)
- Foam strip – single oven*
Check local codes. Check existing electrical supply. See “Electrical Requirements.” It is recommended that all electrical connections be made by a licensed, qualified electrical installer. Foam strip not included with double oven.
Location Requirements
IMPORTANT: Observe all governing codes and ordinances.
- Cabinet opening dimensions that are shown must be used. Given dimensions provide minimum clearance with oven.
- Recessed installation area must provide complete enclosure around the recessed portion of the oven.
- Grounded electrical supply is required. See “Electrical Requirements” section.
- Electrical supply junction box should be located 3″ (7.6 cm) maximum below the support surface when the oven is installed in a wall cabinet. A 1″ (2.5 cm) minimum diameter hole should have been drilled in the right rear or left rear corner of the support surface to pass the appliance cable through to the junction box.
NOTE: For undercounter installation, it is recommended that the junction box be located in the adjacent right or left cabinet. If you are installing the junction box on rear wall behind oven, it is recommended that the junction box be recessed and located in the upper center of the cabinet. - Oven support surface must be solid, level and flush with bottom of cabinet cutout.
- Floor must be able to support a single oven weight of 129 lbs (59 kg) for 27″ (68.6 cm) models or 154 lbs (70 kg) for 30″ (76.2 cm) models.
- Floor must be able to support a double oven weight of 251 lbs (114 kg) for 27″ (68.6 cm) models or 288 lbs (131 kg) for 30″ (76.2 cm) models.
IMPORTANT: To avoid damage to your cabinets, check with your builder or cabinet supplier to make sure that the materials used will not discolor, delaminate or sustain other damage. This oven has been designed in accordance with the requirements of UL and CSA International and complies with the maximum allowable wood cabinet temperatures of 194°F (90°C).
Undercounter Installation (With Cooktop Installed Above):
Ovens approved for this type of installation have an approval label located on the top of the oven. Refer to Cutout Dimensions For Ovens Installed Under Cooktop (separate sheet).
Product Dimensions – Single Ovens
27″ (68.6 cm) models
A. 28¾” (72.8 cm) max. overall height
B. 25⁷⁄₁₆” (64.6 cm) max. recessed width
C. 26³⁄₄” (67.9 cm) recessed height
D. 23¹⁄₄” (59.1 cm) max. recessed depth
E. 27″ (68.6 cm) overall width
F. 12″ (30.5 cm) from back of control panel to start of strain relief
G. 48″ (121.9 cm) flexible conduit length
30″ (76.2 cm) models
A. 28¾” (72.8 cm) max. overall height
B. 28⁷⁄₁₆” (72.2 cm) max. recessed width
C. 26³⁄₄” (67.9 cm) recessed height
D. 23¹⁄₄” (59.1 cm) max. recessed depth
E. 30″ (76.2 cm) overall width
F. 12″ (30.5 cm) from back of control panel to start of strain relief
G. 48″ (121.9 cm) flexible conduit length
Cabinet Dimensions – Single Ovens
Single Oven Undercounter (Without Cooktop Installed Above)

27″ (68.6 cm) models
A. 27″ (68.6 cm) min. cabinet width
B. 1¹⁄₂” (3.8 cm) min. top of cutout to underside of countertop
C. 5¹⁄₄” (13.3 cm) bottom of cutout to floor
D. 25¹⁄₂” (64.8 cm) cutout width
E. 28″ (71.2 cm) min. cutout height
30″ (76.2 cm) models
A. 30″ (76.2 cm) min. cabinet width
B. 1¹⁄₂” (3.8 cm) min. top of cutout to underside of countertop
C. 5¹⁄₄” (13.3 cm) bottom of cutout to floor
D. 28¹⁄₂” (72.4 cm) cutout width
E. 28″ (71.2 cm) min. cutout height
Single Ovens Installed in Cabinet
27″ (68.6 cm) models
A. 27″ (68.6 cm) min. cabinet width
B. 1″ (2.5 cm) top of cutout to bottom of upper cabinet door
C. 32″ (81.3 cm) bottom of cutout to floor
D. 25¹⁄₂” (64.8 cm) cutout width
E. 1¹⁄₂” (3.8 cm) min. bottom of cutout to top of cabinet door
F. 28″ (71.2 cm)* recommended cutout height
G. 24″ (60.7 cm) cutout depth
30″ (76.2 cm) models
A. 30″ (76.2 cm) min. cabinet width
B. 1″ (2.5 cm) top of cutout to bottom of upper cabinet door
C. 32″ (81.3 cm) bottom of cutout to floor
D. 28¹⁄₂” (72.4 cm) cutout width
E. 1¹⁄₂” (3.8 cm) min. bottom of cutout to top of cabinet door
F. 28″ (71.2 cm)* recommended cutout height
G. 24″ (60.7 cm) cutout depth
NOTE: The cutout height can be between 26¹⁵⁄₁₆” and 29⁷⁄₁₆” (68.4 cm and 74.8 cm) for single ovens.
Product Dimensions – Double Ovens

27″ (68.6 cm) models
A. 51³⁄₁₆” (130.0 cm) max. overall height
B. 25⁷⁄₁₆” (64.6 cm) max. recessed width
C. 48¹³⁄₁₆” (124.0 cm) recessed height
D. 23¹⁄₄” (59.1 cm) max. recessed depth
E. 27″ (68.6 cm) overall width
F. 12″ (30.5 cm) from back of control panel to start of strain relief
G. 66″ (167.6 cm) flexible conduit length
30″ (76.2 cm) models
A. 51³⁄₁₆” (130.0 cm) max. overall height
B. 28⁷⁄₁₆” (72.2 cm) max. recessed width
C. 48¹³⁄₁₆” (124.0 cm) recessed height
D. 23¹⁄₄” (59.1 cm) max. recessed depth
E. 30″ (76.2 cm) overall width
F. 12″ (30.5 cm) from back of control panel to start of strain relief
G. 66″ (167.6 cm) flexible conduit length
Cabinet Dimensions – Double Ovens
Double Ovens Installed in Cabinet

27″ (68.6 cm) models
A. 27″ (68.6 cm) min. cabinet width
B. 1″ (2.5 cm) top of cutout to bottom of upper cabinet door
C. 14³⁄₄” (37.5 cm) bottom of cutout to floor is recommended.
4“-14³⁄₄” (10.2-37.5 cm) bottom of cutout to floor is acceptable.
D. 25¹⁄₂” (64.8 cm) cutout width
E. 1¹⁄₂” (3.8 cm) min. bottom of cutout to top of cabinet door
F. 50¹⁄₄” (127.6 cm)* recommended cutout height
G. 24″ (60.7 cm) cutout depth
30″ (76.2 cm) models
A. 30″ (76.2 cm) min. cabinet width
B. 1″ (2.5 cm) top of cutout to bottom of upper cabinet door
C. 14³⁄₄” (37.5 cm) bottom of cutout to floor is recommended. 4″-14³⁄₄” (10.2-37.5 cm) bottom of cutout to floor is acceptable.
D. 28¹⁄₂” (72.4 cm) cutout width
E. 1¹⁄₂” (3.8 cm) min. bottom of cutout to top of cabinet door
F. 50¹⁄₄” (127.6 cm)* recommended cutout height
G. 24″ (60.7 cm) cutout depth
NOTE: The cutout height can be between 48⁷⁄₈” and 52³⁄₁₆” (124.1 cm and 132.6 cm) for double ovens.
Electrical Requirements
If codes permit and a separate ground wire is used, it is recommended that a qualified electrical installer determine that the ground path and the wire gauge are in accordance with local codes. Check with a qualified electrical installer if you are not sure the oven is properly grounded. This oven must be connected to a grounded metal, permanent wiring system. Be sure that the electrical connection and wire size are adequate and in conformance with the National Electrical Code, ANSI/ NFPA 70-latest edition or CSA Standards C22.1-94, Canadian Electrical Code, Part 1 and C22.2 No. O-M91-latest edition, and all local codes and ordinances.
A copy of the above code standards can be obtained from:
National Fire Protection Association
1 Batterymarch Park
Quincy, MA 02169-7471
CSA International
8501 East Pleasant Valley Road
Cleveland, OH 44131-5575
Electrical Connection
To properly install your oven, you must determine the type of electrical connection you will be using and follow the instructions provided for it here.
- Oven must be connected to the proper electrical voltage and frequency as specified on the model/serial/rating plate. The model/serial/rating plate is located under the control panel on single ovens and under the control panel on the upper oven cavity on double ovens. See the following illustrations.

- Models rated from 7.3 to 9.6 kW at 240 volts (5.4 to 7.4 kW at 208 volts) require a separate 40-amp circuit. Models rated at 4.8 kW and below at 240 volts (3.6 kW and below at 208 volts) require a separate 20-amp circuit.
- A circuit breaker is recommended.
- Connect directly to the circuit breaker box (or fused disconnect) through flexible, armored or nonmetallic sheathed, copper cable (with grounding wire). See “Make Electrical Connection” section.
- Flexible conduit from the oven should be connected directly to the junction box.
- Fuse both sides of the line.
- Do not cut the conduit. The length of conduit provided is for serviceability of the oven.
- A UL listed or CSA approved conduit connector must be provided.
- If the house has aluminum wiring, follow the procedure below:
- Connect a section of solid copper wire to the ends of the flexible conduit leads.
- Connect the aluminum wiring to the added section of copper wire using special connectors and/or tools designed and UL listed for joining copper to aluminum. Follow the electrical connector manufacturer’s recommended procedure. Aluminum/copper connection must conform with local codes and industry accepted wiring practices. For power requirements for models KOST107E, KOST100E, KOSE507E, KOSE500E, KODE307E, KODE300E, KODE507E, KODE500E, KODT100E and KODT107E.
INSTALLATION INSTRUCTIONS
Prepare Built-In Oven
- Decide on the final location for the oven. Avoid drilling or cutting into house wiring during installation.
- To avoid floor damage, set the oven onto cardboard prior to installation. Do not use handle or any portion of the front frame for lifting.
- Remove the shipping materials and tape from the oven. Remember to keep the corner posts and other materials that may be needed for installation.
- Remove the hardware package from inside the bag containing literature.
- Remove and set aside racks and other parts from inside the oven.
- Move oven and cardboard close to the oven’s final location
Remove Oven Door(s)
IMPORTANT: Use two hands to remove oven door. For double ovens, repeat the process for each door.
- Prior to removing the oven door, prepare a surface where you will place it. This surface should be flat and covered with a soft blanket, or use the corner posts from your packaging material.
- Open the oven door.
- Locate the oven door hinge locks in both corners of the oven door, and then rotate the hinge locks toward the oven door to the unlocked position. If the door hinge lock is not rotated fully (see illustration B), the door will not remove properly.

- Partially close the door to engage the door latch locks. The door will stop at this point.

- Using two hands, grasp the edges of the oven door. Lift and pull the oven door toward you and remove. You may need to gently shift door from side to side as you pull.

- Set the oven door(s) aside on the prepared covered work surface, with the oven door resting on its handle.
- To continue with the oven installation, go to the “Positioning Oven Feet for Multiple Cabinet Cutout Heights” section.
Replace Oven Door(s)
- Using two hands, grasp side edges of door at the midpoint. Face the oven cavity.
- Locate the slots on each side of the oven cavity for the door hinge locks.

- At a 45° angle, align door hinges with slots in the lower front of the oven cavity. Slowly insert door, making sure you maintain the 45° angle. You will know the door is engaged in the slot when you feel a slight drop.

- Lower the oven door to the fully open position. If the oven door does not open to a full 90°, repeat steps 1 through 3.
- Locate the oven door hinge locks in the corners of the oven door, and rotate the hinge locks toward the oven cavity to the locked position. See Step 3 (illustration A) in the “Remove Oven Door(s)” section for proper locked position.

- Close the oven door.
- When the hinges are properly installed and the door closed, there should be an even gap between the door and the control panel. If one side of the oven door is hanging lower than the other, the hinge on that side is not properly installed.
Positioning Oven Feet for Multiple Cabinet
Cutout Heights
Single Ovens
The positioning of the oven feet allow a single oven to be installed in a cutout height between 26¹⁵⁄₁₆” and 29⁷⁄₁₆” (68.4 cm and 74.8 cm). Refer to the following instructions to position the feet for the size of your cabinet cutout.
Cutout Height is Between 27⁵⁄₈” and 28⁵⁄₈” (70.2 cm and 72.7 cm)
The oven feet do not need to be changed. They are positioned correctly as received. Go to the “Make Electrical Connection” section.
Cutout Height is Between 26¹⁵⁄₁₆” and 27¹¹⁄₁₆” (68.4 cm and 70.3 cm)
- Using 2 or more people, place the oven on its back on a covered surface.

- Remove the foot from the right front spacer by removing the #8-18 x ³⁄₈” screw.
NOTE: Do not remove the spacer.
- In the same manner, remove the feet on the right rear, left front, and left rear of the oven.
- Using 2 or more people, place the oven in its upright position.

- Go to the “Make Electrical Connection” section.
Cutout Height is Between 28¹¹⁄₁₆” and 29⁷⁄₁₆” (72.8 cm and 74.8 cm)
- Using 2 or more people, place the oven on its back on a covered surface.

- Remove the foot from the right front spacer by removing the #8-18 x ³⁄₈” screw.
NOTE: Do not remove the spacer.
- Rotate the foot 90° so the short side of the foot is positioned toward the top of the oven.

- Reinstall the foot to the spacer using the #8-18 x ³⁄₈” screw previously removed.
- In the same manner, remove, rotate and reinstall the feet on the right rear, left front, and left rear of the oven.
- Using 2 or more people, place the oven in its upright position.

- Go to the “Make Electrical Connection” section.
Double Ovens
The positioning of the oven feet allow a double oven to be installed in a cutout height between 48⁷⁄₈” and 52³⁄₁₆” (124.1 cm and 132.6 cm). Refer to the following instructions to position the feet for the size of your cabinet cutout.
Cutout Height is Between 48⁷⁄₈” 50⁷⁄₁₆” (124.1 cm and 128.1 cm)
The oven feet do not need to be installed. The oven is configured correctly as received.
NOTE: Do not remove the spacers.
Go to the “Make Electrical Connection” section
Cutout Height is Between 50¹⁄₂” and 51¹⁄₈” (128.2 cm and 129.9 cm)
- Using 2 or more people, place the oven on its back on a covered surface

- Install a foot on the left rear spacer using a #8-18 x ³⁄₈” screw.
NOTE: Position the foot so the long side of the foot is facing toward the top of the oven.
- In the same manner, install a foot on the right rear of the oven.
- Install a front foot on the left front spacer using a #8-18 x ³⁄₈” screw.
NOTE: Position the foot so the long side of the foot is facing toward the inside of the oven.
- In the same manner, install a front foot on the right front of the oven.
- Using 2 or more people, place the oven in its upright position.

- Go to the “Make Electrical Connection” section.
Cutout Height is Between 51³⁄₁₆” and 52³⁄₁₆” (130.0 cm and 132.6 cm)
- Using 2 or more people, place the oven on its back on a covered surface.

- Install a foot on the left rear spacer using a #8-18 x ³⁄₈” screw.
NOTE: Position the foot so the short side of the foot is facing toward the top of the oven.
- In the same manner, install a foot on the right rear of the oven.
- Install a front foot on the left front using a #8-18 x ³⁄₈” screw.
NOTE: Position the foot so the long side of the foot is facing toward the top of the oven.
- In the same manner, install a font foot on the right front of the oven.
- Using 2 or more people, place the oven in its upright position.

- Go to the “Make Electrical Connection” section.
Make Electrical Connection
For Double Ovens
This oven is manufactured with a neutral (white) power supply wire and a cabinet-connected green (or bare) ground wire twisted together.
- Disconnect power.
- Feed the flexible conduit from the oven through the opening in the cabinet.
- Remove junction box cover, if it is present.
- Install a UL listed or CSA approved conduit connector to the junction box.

- Route the flexible conduit from the oven to the junction box through a UL listed or CSA approved conduit connector.
- Tighten screws on conduit connector.
- See “Electrical Connection Options Chart” to complete installation for your type of electrical connection
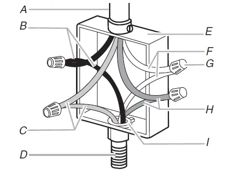
Electrical Connection Options Chart

4-Wire Cable from Home Power Supply
IMPORTANT: Use the 4-wire cable from home power supply in the U.S. where local codes do not allow grounding through neutral, New Branch circuit installations (1996 NEC), mobile homes and recreational vehicles, new construction and in Canada.

A.Cable from home power supply
B. Black wires
C. Red wires
D. 4-wire flexible conduit from oven
E. Junction box
F. White wires
G. UL listed wire connectors
H. Green (or bare) ground wires
I. UL listed or CSA approved conduit connector
- Connect the 2 black wires (B) together using a UL listed wire connector.
- Connect the 2 red wires (C) together using a UL listed wire connector.
- Untwist white wire from green (or bare) ground wire coming from the oven.
- Connect the 2 white wires (F) together using a UL listed wire connector.
- Connect the green (or bare) ground wire (H) from the oven cable to the green (or bare) ground wire (in the junction box) using a UL listed wire connector.
- Install junction box cover.
3-Wire Cable from Home Power Supply – U.S. Only
IMPORTANT: Use the 3-wire cable from home power supply where local codes permit a 3-wire connection.
A.Cable from home power supply
B. Junction box
C. Black wires
D. White wires
E. Green (or bare) ground wire (from oven)
F. 4-wire flexible conduit from oven
G. Red wires
H. UL listed wire connectors
I. UL listed or CSA approved conduit connector
- Connect the 2 black wires (C) together using a UL listed wire connector.
- Connect the 2 white wires (D) and the green (or bare) ground wire (of the oven cable) using a UL listed wire connector.
- Connect the 2 red wires (G) together using a UL listed wire connector.
- Install junction box cover
Install Oven
- Using 2 or more people, lift the oven partially into the cabinet cutout. Use the oven opening as an area to grip.
NOTE: Push against seal area of the oven front frame when pushing the oven into the cabinet. Do not push against the outside edges.
- Push against the seal area of the front frame to push the oven into the cabinet until the back surface of the front frame touches the front wall of the cabinet.

- Push oven completely into the cabinet and center the oven into the cabinet cutout.
- Remove the tape from black front trims.
- Securely fasten the oven to the cabinet using the #8-14 x ¾” screws provided.
- Insert the screws through hole in black trim aligning with hole in oven frame. Do not overtighten screws.

- The bottom vent and bottom vent trim (required when the oven is installed with the feet in the tall position) are shipped in the foam packing at the top of the oven. To install only the bottom vent, see the following instructions. To install both the bottom vent and the bottom vent trim for installations with the feet in the tall position, see the instructions in Step 6.
- Align vent tab (B) with oven frame (A) as shown.
- Using one #8-18 x ³⁄₈” screw (D) on each side of the vent tab (B), fasten the vent securely to the oven.

- On models with the feet installed in the tall position, the bottom vent trim must also be installed. See the following instructions to install.
- Flex the upper vent piece (C) away from the lower vent piece (D) to slide the bottom vent trim (B) between them. Some force may be required to flex the upper vent trim (C) away from the lower vent trim (D). Some force may also be required to flex the bottom vent trim (B) and slide it into position. Make sure screw holes are properly aligned between the two pieces. See the following illustration.
- Install the bottom vent trim (B) to the lower vent piece (D) using two #8-18 x ¹⁄₄” screws on each side.
NOTE: On 27″ (68.6 cm) models, only one #8-18 x ¹⁄₄” screw is used on each side.
- Align vent tab (B) with oven frame (A) as shown.
- Using one #8-18 x ³⁄₈” screw (E) on each side of the vent tab (B), fasten the vent securely to the oven.

- Replace the oven racks.
- Replace the oven door. See the “Replace Oven Door(s)” section.
- Check that the door is free to open and close. If it is not, repeat the removal and installation procedures. See the “Prepare Built-In Oven” section.
- Repeat for lower oven door.
- Reconnect power.
- The display panel will light briefly, and “PF” should appear in the display.
- If the display panel does not light, reference the “Warranty” section of the Use and Care Guide.
Install Warming Drawer Deflector Kit (Only for Ovens Installed Above Warming Drawers)
On single and double oven models installed above a warming drawer, a warming drawer deflector kit must be installed. See the “Tools and Parts” section for information on ordering.
Parts Supplied in Deflector Kit

Install Deflector Kit
- Flex the upper vent piece (C) away from the lower vent piece (D) to slide the warming drawer deflector (B) between them. Some force may be required to flex the upper vent trim (C) away from the lower vent trim (D). Some force may also be required to flex the warming drawer deflector (B) and slide it into position. Make sure screw holes are properly aligned between the two pieces. See the following illustration.
- Install the warming drawer deflector (B) to the lower vent piece (D) using two #8-18 x ¹⁄₄” screws on each side.
NOTE: On 27″ (68.6 cm) models, only one #8-18 x ¼” screw is used on each side.
- Align vent tab (B) with oven frame (A) as shown in the following illustration.
- Using one #8-18 x ³⁄₈” screw (E) on each side of the vent tab (B), fasten the vent securely to the oven.

Complete Installation
- Check that all parts are now installed. If there is an extra part, go back through the steps to see which step was skipped.
- Check that you have all of your tools.
- Dispose of/recycle all packaging materials.
- For oven use and cleaning, read the Use and Care Guide.
Check Operation of Single and Double Ovens
- Turn on power.
- At first use, set up the clock and any other preferences if available. For more information, read the Use and Care Guide.
- Press BROIL on single oven models.
NOTE: Press UPPER BROIL or LOWER BROIL on double oven models. - Set the temperature.
- Press START.
If Oven(s) Does Not Operate, Check the Following:- Household fuse is intact and tight; or circuit breaker has not tripped.
- Electrical supply is connected.
- See “Troubleshooting” section in the Use and Care Guide.
- When oven has been on for 5 minutes, feel for heat. If you do not feel heat or if an error message appears in the display, turn off the oven and contact a qualified technician.
- Press UPPER CANCEL/LOWER CANCEL on double ovens, or press CANCEL on single ovens. If You Need Assistance or Service: Please reference the “Warranty” section of the Use and Care Guide.

















































