JENNAIR 27 Inch 68.6cm and 30Inch 76.2cm Electric Built In Convection Microwave Oven Installation Guide

IMPORTANT: Save for local electrical inspector’s use.
W11559937B
BUILT-IN MICROWAVE OVEN SAFETY
Your safety and the safety of others are very important.
We have provided many important safety messages in this manual and on your appliance. Always read and obey all safety
messages.
⚠ This is the safety alert symbol.
This symbol alerts you to potential hazards that can kill or hurt you and others.
All safety messages will follow the safety alert symbol and either the word “DANGER” or “WARNING.”
These words mean:
⚠ DANGER You can be killed or seriously injured if you don’t immediately follow instructions.
⚠ WARNING You can be killed or seriously injured if you don’t follow instructions.
All safety messages will tell you what the potential hazard is, tell you how to reduce the chance of injury, and tell you what can
happen if the instructions are not followed.
INSTALLATION REQUIREMENTS
Tools and Parts
Gather the required tools and parts before starting installation. Read and follow the instructions provided with any tools listed here.
Tools Needed
- Phillips screwdriver
- Flat-blade screwdriver
- Measuring tape
- Level
- Drill (for wall cabinet installations)
- 1/8″ (3 mm) drill bit (for wall cabinet installations)
- 1″ (2.5 cm) drill bit (for wall cabinet installations
Parts Needed
- UL listed or CSA approved conduit connector
- UL listed wire connectors
Parts Needed Flush Installation
- W10801485 Stainless steel flush installation kit for 27″ (68.6 cm) models
- W10801486 Stainless steel flush installation kit for 30″ (76.2 cm) models
- W10801487 Black flush installation kit for 30″ (76.2 cm) models
To order, see the “Assistance or Service” section of the Use and Care Guide.
Parts Supplied

- A. Spacer bars (2)
- B. Bottom vent (1)
- C. 3/8″ (9.5 mm) hex-head washer screws (4)
- D. 3/4″ (1.9 cm) pan-head screws (4)
Check local codes. Check existing electrical supply. See “Electrical Requirements.” It is recommended that all electrical connections be made by a licensed, qualified electrical installer.
Location Requirements
IMPORTANT: Observe all governing codes and ordinances.
- Cabinet opening dimensions that are shown must be
used. Given dimensions provide minimum clearance with microwave oven. - Recessed installation area must provide complete enclosure around the recessed portion of the microwave oven.
- Grounded electrical supply is required. See “Electrical Requirements” section.
- Electrical supply junction box should be located 3″ (7.6 cm) maximum below the support surface when the microwave oven is installed in a wall cabinet. A 1″ (2.5 cm) minimum diameter hole should have been drilled in the left rear corner of the support surface to pass the appliance cable through to the junction box.
- For installation above single built-in oven, the junction box must located inside upper cabinet.
- If you are installing the junction box on rear wall behind the microwave oven, the junction box must be recessed and located in the upper or lower right or left corner of the cabinet; otherwise, the microwave oven will not fit into the cabinet opening.
- Microwave oven support surface must be solid, level, and flush with bottom of cabinet cutout. Floor must be able to support a weight of 108 lbs (49.0 kg).
IMPORTANT: To avoid damage to your cabinets, check with your builder or cabinet supplier to make sure that the materials used will not discolor, delaminate, or sustain other damage. This oven has been designed in accordance with the requirements of UL and CSA International and complies with the maximum allowable wood cabinet temperatures of 194°F (90°C).
Product Dimensions
27″ (68.6 cm) and 30″ (76.2 cm) Microwave Ovens
27″ (68.6 cm) models
- A. 253/8″ (64.5 cm)
- B. 173/8″ (44.1 cm)
- C. 2211/16″ (57.7 cm)
- D. 263/4″ (68.0 cm) overall width
- E. 197/8″ (50.3 cm) overall height
- F. JMC2427IM: 259/16″ (64.9 cm)
JMC2427IL: 243/4″ (62.9 cm)
30″ (76.2 cm) models
- A. 283/8″ (72.1 cm)
- B. 173/8″ (44.1 cm)
- C. 2211/16″ (57.7 cm)
- D. 293/4″ (75.6 cm) overall width
- E. 197/8″ (50.3 cm) overall height
- F. JMC2430IM: 259/16″ (64.9 cm)
JMC2430IL: 243/4″ (62.9 cm)
27″ (68.6 cm) and 30″ (76.2 cm) Microwave Oven Spacer Kit

27″ (68.6 cm) models
A. 263/4″ (67.9 cm) overall width
30″ (76.2 cm) models
A. 293/4″ (75.6 cm) overall width
NOTE: The microwave oven spacer kit will allow the microwave oven to be installed in a 173/8″ to 173/4″ (44.1 to 45.1 cm) maximum cutout height.
A microwave oven spacer kit is available from your dealer that will allow the microwave oven to be installed in a 19″ to 1913/16″ (48.3 to 50.2 cm) maximum cut-out height. Match the oven size to the following kits:
- 27″ (68.6 cm) Stainless Steel Model W10469901
- 30″ (76.2 cm) Stainless Steel Model W10469903
To order, see the “Assistance or Service” section of the Use and Care Guide.
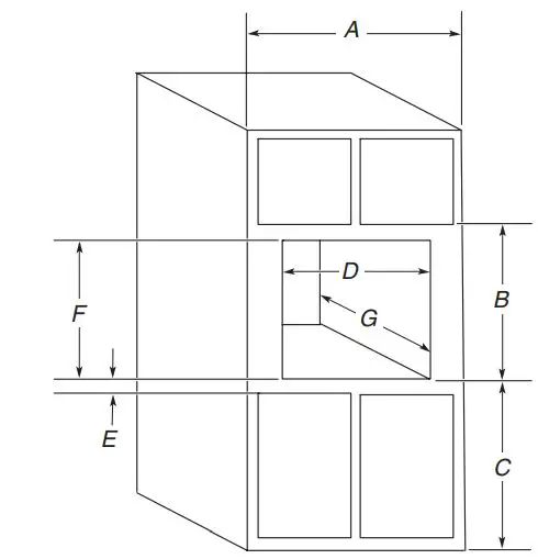
Cabinet Dimensions
27″ (68.6 cm) and 30″ (76.2 cm) Microwave Ovens
27″ (68.6 cm) models
- A. 27″ (68.6 cm) minimum cabinet width
- B. 197/8″ (50.3 cm) from bottom of cut out to bottom of upper cabinet door
- C. 40″ (101.6 cm) bottom of cut out to floor (recommended)
- D. 251/2″ (64.8 cm) cut-out width
- E. 11/2″ (3.8 cm) minimum bottom of cut out to top of cabinet door
- F. 175/8″ (44.7 cm) recommended cut out height (will fit cut out height from 173/8″ [44.1 cm] to 173/4″ [45.1 cm])
- G. 217/8″ (55.5 cm) minimum cut out depth
30″ (76.2 cm) models
- A. 30″ (76.2 cm) minimum cabinet width
- B. 197/8″ (50.3 cm) from bottom of cut out to bottom of upper cabinet door
- C. 40″ (101.6 cm) bottom of cut out to floor (recommended)
- D. 281/2″ (72.4 cm) cut out width
- E. 11/2″ (3.8 cm) minimum bottom of cut out to top of cabinet door
- F. 175/8″ (44.7 cm) recommended cut out height (will fit cut out height from 173/8″ [44.1 cm] to 173/4″ [45.1 cm])
- G. 217/8″ (55.5 cm) minimum cut out depth
Minimum Installation Clearances
For proper installation, the following minimum clearances must exist above and below the cabinet opening.
Installation Above Single Built-In Oven

Electrical Requirements
GROUNDING INSTRUCTIONS
For a permanently connected microwave oven:
The microwave oven must be connected to a grounded, metallic, permanent wiring system, or an equipment grounding conductor should be run with the circuit conductors and connected to the equipment grounding terminal or lead on the microwave oven.
SAVE THESE INSTRUCTIONS
If codes permit and a separate ground wire is used, it is recommended that a qualified electrical installer determine that the ground path and wire gauge are in accordance with local codes. Check with a qualified electrical installer if you are not sure the oven is properly grounded. This oven must be connected to a grounded metal, permanent wiring system. Be sure that the electrical connection and wire size are adequate and in conformance with the National Electrical Code, ANSI/ NFPA 70 latest edition or CSA Standards C22.1-94, Canadian Electrical Code, Part 1 and C22.2 No. O-M91 latest edition, and all local codes and ordinances. A copy of the above code standards can be obtained from:
National Fire Protection Association 1 Batterymarch Park
Quincy, MA 02169-7471 CSA International
8501 East Pleasant Valley Road Cleveland, OH 44131-5575
Electrical Connection
To properly install your microwave oven, you must determine the type of electrical connection you will be using and follow the instructions provided for it here.
- Microwave oven must be connected to the proper electrical voltage and frequency as specified on the model/serial/rating plate. The model/serial/rating plate is located underneath the control panel along the oven vent.

- The microwave oven rated 120/240 V, 20 A, has 4 wires (L1, L2, N, and G) in the flex conduit, and should be connected to a 20 A maximum-rated circuit, overcurrent protected on both the L1 and L2 circuits.
- A time-delay fuse or circuit breaker is recommended.
- Flexible cable from the microwave oven should be connected directly to the junction box.
- Do not cut the conduit. The length of conduit provided is for serviceability of the microwave oven.
- A UL listed or CSA approved conduit connector must be provided.
- If the house has aluminum wiring, follow the procedure below: Connect the aluminum wiring using special connectors and/or tools designed and UL listed for joining copper to aluminum. Follow the electrical connector manufacturer’s recommended procedure. Aluminum/copper connection must conform with local codes and industry accepted wiring practices.
For power requirements, refer to the following table:
Voltage Microwave With Convection Oven
120/240 VAC 20 A
120/208 VAC 20 A
INSTALLATION INSTRUCTIONS
Spacer Kit Installation
NOTES:
- The microwave oven spacer kit allows the microwave oven
to be installed in an 177/16″ to 177/8″ (44.1 cm to 45.3 cm) maximum cutout height. - If your cabinet cutout height is more than 177/16″ (44.1 cm), you must install the spacer kit. Proceed to “Assemble Spacer Kit.”
- If your cabinet cutout height is less than 177/16″ (44.1 cm), you do not have to install the spacer kit. Proceed to “Prepare Built-In Microwave Oven.”
Assemble Spacer Kit
- Attach the bottom vent to spacer bars using four 3/8″ (9.5 mm) hex-head washer screws. NOTE: Spacer bar flanges should be facing out.

- A. Bottom vent
- B. Spacer bar flange
- C. Spacer bars
- D. 3/8″ (9.5 mm) hex-head washer screws
Install Spacer Kit
- Center assembled microwave oven spacer kit against lower front edge of the cabinet cut-out.
- Using an 1/8″ (3.2 mm) drill bit, drill through the mounting holes in the spacer bars to create pilot holes.
- Attach the assembled spacer kit to the cabinet using four 3/4″ (1.9 cm) ( flat-head screws. Do not overtighten screws.

A. 3/4″ (1.9 cm) flat-head screws
B. Spacer kit assembly
Prepare Built-In Microwave Oven
- Locate existing wiring to avoid drilling into or severing wiring during installation.
⚠ WARNING
Excessive Weight Hazard Use two or more people to move and install microwave oven. Failure to do so can result in back or other injury. - To avoid floor damage, set the microwave oven onto cardboard prior to installation. Do not use handle or any portion of the front frame for lifting.
- Remove the shipping materials and tape from the microwave oven.
- Remove and set aside racks and other items from inside the microwave oven.
- Remove the hardware package from inside the bag containing literature.
- Move the microwave oven and cardboard close to the microwave oven’s final location. 5
Make Electrical Connection
⚠ WARNING
Electrical Shock Hazard Disconnect power before servicing. Use 12 gauge copper wire. Electrically ground oven. Failure to follow these instructions can result in death, fire, or electrical shock.
The microwave oven is manufactured with a neutral (white) power supply wire and a cabinet-connected green (or bare) ground wire.
- Disconnect power.
- Feed the flexible conduit from the microwave oven through the opening in the cabinet.
- Remove junction box cover if it is present.
- Install a UL listed or CSA approved conduit connector to the junction box.
A. UL listed or CSA approved conduit connector - Route the flexible conduit from the microwave oven to the junction box through a UL listed or CSA approved conduit connector.
- Tighten screws on conduit connector.
- Complete electrical connection.
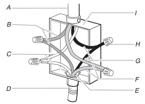
3-Wire Cable with Ground from Home Power Supply to Microwave Oven Cable with 4 Wires

- A. Cable from home power supply
- B. Green (or bare) wires
- C. White wires
- D. 4-wire cable from microwave oven
- E. UL listed or CSA approved conduit connector
- F. Red wires
- G. Black wires
- H. UL listed wire connector
- I. Junction box
- Connect the 2 black wires (G) together using a UL listed wire connector.
- Connect the 2 white wires (C) using a UL listed wire connector.
- Connect the 2 red wires (F) together using a UL listed wire connector.
- Connect the 2 green (or bare) wires (B) together using a UL listed wire connector.
- Install junction box cover.
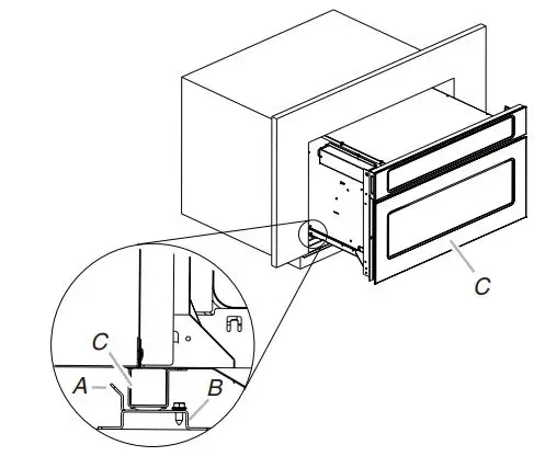
Install Microwave Oven
- Using 2 or more people, lift the microwave oven partially into the cabinet cut-out. If a spacer kit has been installed, lift the microwave oven over it and position the microwave oven between the guide strips.
A. Spacer bar flange
B. Spacer bar
C. Microwave oven - Push against the front frame of the microwave oven to insert oven into cabinet. Push microwave oven completely into cabinet and center in cabinet cut-out.
NOTE: Open microwave oven door and push against seal area of microwave oven front frame when pushing microwave oven into cabinet. Do not push against outside edges.
- Using an 1/8″ (3.2 mm) drill bit, predrill pilot holes through the mounting rails on each side of the microwave oven.
- Securely fasten microwave oven to cabinet using two 3/4″ (1.9 cm) flat-head screws provided. Insert the screws through holes in mounting rails. Do not overtighten screws.

- Replace convection grid, turntable, and support hub.
- Reconnect power.
- Display panel will light briefly and the clock should appear in the display.
- If display panel does not light, please reference the “Assistance or Service” section of the Use and Care Guide or contact the dealer from whom you purchased your microwave oven.
Complete Installation
- Check that all parts are now installed. If there is an extra part, go back through the steps to see which step was skipped.
- Check that you have all of your tools.
- Dispose of/recycle all packaging materials.
- For microwave oven use and cleaning, read the Use and Care Guide.
Check Operation of Microwave Oven
- Fill a microwave-safe container with 1 cup (250 mL) of water and place container on the turntable inside the microwave oven. Close door firmly.
- Touch COOK.
- Set power level, temperature, and cook time to “2:00” minutes.
- Press START. If microwave oven does not operate, check the following: Household fuse is intact and tight or circuit breaker has not tripped.
Electrical supply is connected.
See “Troubleshooting” section in the Use and Care Guide.
When the display reads “1:00” minute, open the microwave oven door. The microwave oven should stop cooking. Close door firmly. The interior microwave oven light should turn off. - Touch START to resume a preset cycle. The microwave oven should begin cooking and the microwave oven interior light should be ON. Let microwave oven complete cooking time. Tones will sound at the end of the cooking time and the microwave oven will shut off.
- Open microwave oven door and slowly remove container. Water in container should be hot.
- To set the clock and other microwave oven functions, refer to the Use and Care Guide.
If you need Assistance or Service: Please reference the “Assistance or Service” section of the Use and Care Guide or contact the dealer from whom you purchased your built-in microwave oven.
W11559937B
®/TM ©2021 JennAir. All rights reserved. Used under license in Canada.


A. UL listed or CSA approved conduit connector
A. Spacer bar flange



















