WM55 Wireless Microphone
Ref. nr.: 179.210
INSTRUCTION MANUAL
Congratulations to the purchase of this Vonyx product. Please read this manual thoroughly prior to using the product in order to benefit fully from all features.
Read the manual prior to using the product. Follow the instructions in order not to invalidate the warranty. Take all precautions to avoid fire and/or electrical shock. Repairs must only be carried out by a qualified technician in order to avoid electrical shock. Keep the manual for future reference.
- Prior to using the product, please ask for advice from a specialist. When the product is switched on for the first time, some smell may occur. This is normal and will disappear after a while.
- The product contains voltage-carrying parts. Therefore, do NOT open the housing.
- Do not place metal objects or pour liquids into the product. This may cause electrical shock and malfunction.
- Do not place the product near heat sources such as radiators, etc. Do not place the product on a vibrating surface. Do not cover the ventilation holes.
- The product is not suitable for continuous use.
- Be careful with the mains lead and do not damage it. A faulty or damaged mains lead can cause electrical shock and malfunction.
- When unplugging the product from a mains outlet, always pull the plug, never the lead.
- Do not plug or unplug the product with wet hands.
- If the plug and/or the mains lead are damaged, they need to be replaced by a qualified technician.
- If the product is damaged to such an extent that internal parts are visible, do NOT plug the product into the main outlet and DO NOT switch the unit on. Contact your dealer. Do NOT connect the product to a rheostat or dimmer.
- To avoid fire and shock hazards, do not expose the product to rain and moisture.
- All repairs should be carried out by a qualified technician only.
- Connect the product to an earthed mains outlet (220240Vac/50Hz) protected by a 10-16A fuse.
- During a thunderstorm or if the product will not be used for a longer period of time, unplug it from the mains. The rule is: Unplug it from the mains when not in use.
- If the product has not been used for a longer period of time, condensation may occur. Let the unit reach room temperature before you switch it on. Never use the product in humid rooms or outdoors.
- To prevent accidents in companies, you must follow the application guidelines and follow instructions.
- Do not repeatedly switch the product on and off. This shortens the lifetime.
- Keep the product out of the reach of children. Do not leave the product unattended.
- Do not use cleaning sprays to clean switches. The residues of these sprays cause deposits of dust and grease. In case of malfunction, always seek advice from a specialist.
- Do not force the controls.
- If this product is with a speaker inside it can cause a magnetic field. Keep the product at least 60cm away from the computer or TV.
- If this product has a built-in lead-acid rechargeable battery. Please recharge the battery every 3 months if you are not going to use the product for a long period of time. Otherwise, the battery may be permanently damaged.
- If the battery is damaged, please replace it with a battery of the same specifications. And dispose of the damaged battery environment friendly.
- If the product has fallen, always have it checked by a qualified technician before you switch the product on again.
- Do not use chemicals to clean the unit. They damage the varnish. Only clean the product with a dry cloth.
- Keep away from electronic equipment that may cause interference.
- Only use original spares for repairs, otherwise serious damage and/or dangerous radiation may occur.
- Switch the product off prior to unplugging it from the mains and/or other equipment. Unplug all leads and cables prior to moving the product.
- Make sure that the mains lead cannot be damaged when people walk on it. Check the mains lead before every use for damages and faults!
- The mains voltage is 220-240Vac/50Hz. Check if the power outlet match. If you travel, make sure that the mains voltage of the country is suitable for this product.
- Keep the original packing material so that you can transport the product in safe conditions.
This mark attracts the attention of the user to high voltages that are present inside the housing and that are of sufficient magnitude to cause a shock hazard.
This mark attracts the attention of the user to important instructions that are contained in the manual and that he should read and adhere to.
The product has been certified CE. It is prohibited to make any changes to the product. They would invalidate the CE certificate and their guarantee!
NOTE: To make sure that the product will function normally, it must be used in rooms with a temperature between 5°C/41°F and 35°C/95°F.
Electric products must not be put into household waste. Please bring them to a recycling center. Ask your local authorities or your dealer about the way to proceed. The specifications are typical. The actual values can slightly change from one unit to the other. Specifications can be changed without prior notice.
Do not attempt to make any repairs yourself. This would invalidate your warranty. Do not make any changes to the product. This would also invalidate your warranty. The warranty is not applicable in case of accidents or damages caused by inappropriate use or disrespect of the warnings contained in this manual. Vonyx cannot be held responsible for personal injuries caused by the disrespect of the safety recommendations and warnings. This is also applicable to all damages in whatever form.
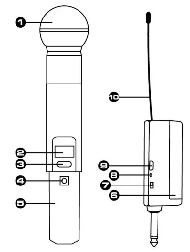
OVERVIEW
- Grille
- Display
- ON / OFF Switch
- Frequency switch
- Battery compartment 2x AA 1.5Volt
- Battery compartment 1×18650 3.7Volt
- ON / OFF Switch
- USB Charge port
- Charge indicator
- Antenna

OPERATION
- Open the battery cover (6) of the microphone receiver and insert the supplied battery. Charge the battery of the receiver using the supplied USB cable via the USB charging port (9).
- Screw the battery cover of the microphone and insert 2x AA 1.5Volt batteries (5), note the polarity!
- Place the receiver in a 6.3 mm microphone jack, for example, a mixer, active speaker, amplifier, etc.
- Switch on the receiver (7) and microphone (3).
- Synchronization between microphone and receiver is automatic!
- If the channel is busy or interfering, you can change it manually by pressing the selector switch (4).
TECHNICAL SPECIFICATION
| Batteries Microphone | : 2x 1.5Volt AA |
| Receiver | : 1x 3.7Volt Li-ion |
| Frequency | : 863-865Mhz |
| Frequency response | : 40Hz – 18kHz |
| Dimension Microphone | : ø52 x 245mm |
| Receiver | : 115 x 35 x 25mm |
| Weight Speaker | : 0,4kg |
The specifications are typical. The actual values can slightly change from one unit to the other. Specifications can be changed without prior notice.
European Union
Tronios B.V.,
Bedrijvenpark Twente Noord 18,
7602KR Almelo, The Netherlands
2014/35/EU
2014/30/EU
2011/65/EC
2014/53/EU
United Kingdom
Tronios Ltd.,
130 Harley Street,
London W1G 7JU, United Kingdom
S.I. 2016:1101
S.I. 2016:1091
S.I. 2012:3032
S.I. 2017:1206
Specifications and design are subject to change without prior notice.
www.tronios.com
Copyright © 2022 by TRONIOS the Netherlands


















