PHENYX PRO PTU-5000 4 Channel UHF Fixed Frequency Wireless Microphone System Owner’s Manual
Thank you for purchasing the PHENYX PRO PTU-5000 4-Channel UHF Fixed Frequency Wireless Microphone System. Please read this manual carefully to ensure proper use and operation, and keep it for future reference.
System Description
Box contents
- 1 x 4-Channel UHF wireless receiver with mixed 1/4- output and balanced XLR outputs
- 2 x Antenna
- 8 x AA battery
- 1 x Power adapter
- 1 x 6.5mm audio cable
- 1 x User’s manual
PTU-5000A:
- 4 x UHF wireless handheld microphone
- 4 x Anti-rolling ring
PTV-50008:
- 2 x UHF wireless handheld microphone
- 2 x Anti-rolling ring -2 x UHF wireless bodypack
- 2 x Wireless headset microphone -2 x Wireless lapel microphone
System overview
The PTU-5000 is a 4-channel UHF fixed frequency wireless microphone system developed by Phenxy Technology, a truly reliable and affordable solution for wireless performance. With LCD display of frequency and channel information, the setup and operation of this system is very quick and simple It also uses high performance of voice compression and expansion technology to ensure its true and clear sound quality.Microphones are equipped with and-shock ring that features stable and reliable outdoor performances ideal for conference rooms, class- rooms,dance hall, KTVrooms, churches and parties. Operating distance is up to 80m/260ft line of sight in open space.
Receiver for PTU-5000
Front Panel
- Power switch
Press the button for 1 sec to turn on receiver and press it again to turn it off - Volume A control: iN3
Adjust the volume output of sound from CH1 ® - Volume B control
- Channel 1 (“CH1”) and Channel 2 (“CH2”) LCD display
- RFA: CH1 wireless signal indicator
- AFA: CH1 audio indicator
- RFB: CH2 wireless signal indicator
- AFB: CH2 audio indicator
- Volume C control
- Volume D control
- Channel 3 (“CH3”) and Channel 4 (“CH4”) LCD Display
- RFA: CH3 wireless signal indicator
- AFA: CH3 audio indicator
- RFB: CH4 wireless signal indicator
- AFB: CH4 audio indicator
Back Panel
- Power jack: Connect AC/DC adapter to receiver
- 1/4″ audio output jack: Connect the audio cable from this jack to the input port of amplifier, mixer, or other PA systems.
- Antenna A
- Antenna B
- Balanced XLR output for CH1
- Balanced XLR output for CH2
- Balanced XLR output for CH3
- Balanced XLR output for CH4
Transmitters
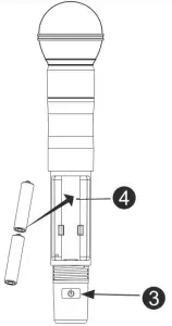
Handheld Microphone
- Microphone capsule
- LCD display window
- Power switch Press the power switch to turn on or turn off the microphone.
- Battery Compartment
- Battery Cover



When turn on the transmitter, the battery power icon is on the right of the LCD display. if the battery icon indicates that battery power is low, the batteries must be replaced to maintain normal operation.
Bodypack
The phenyx UHF bodypack is to be used with the phenyx lavalier microphone & headsets.


- Antenna
- Battery power indicator
- ON/OFF switch
- Microphone input
- Battery compartment
Set Up:
- Secure the bodypack to dothing, belt or pocket.
- (a)For alavalier microphone, dip the microphone to clothing about 1 foot under the mouth.
(b)For a headset, install headset comfort aby on head so the microphone can be placed dose to the mouth. - Connect the microphone audio connector to the bodypack microphone input(4)
- Turn the bodypack on by sliding the the ON/OFF switch. The battery power indicator (2) wi light up briefly, indicating that the batteries have sufficient power. If the battery power indicator (3) stays continuously on after powering on the bodypack, the batteries must be replaced. To replace the batteries, proceed as follows:
- Open the battery compartment door by pushing on the door sides and pulling it open
- After removing the old batteries, insert new ones, making sure to respect proper polarity
- Close compartment by genty pushing the compartment door untlit dicks
Operating Instructions
Set Up
- Install fresh batteries in the transmitters (fresh to the section relative to the specific transmitter you are using).
- Connect the AC power adapter to a wall outlet and to the back of the receiver.
- Screw antenna A,B in,and position them 60 degrees apart from each other.
- Connect one of the five outputs available at the back panel to the next stage in your system. Typically,use the 1/4″ output to connect to unbalanced equipment such a consumer level receivers, amplifiers. and mixers. Connect to professional equipment using the XLR outputs(cable not included).
- Making sure the volume of your speakers is off, tumn on the receiver and the transmitters. The LCD display turns on and the RFLED lits up, indicating that the corresponding transmitter is paired with the receiver. Note that the frequency and channel display are fixed and cannot be adjusted. The AF LED indicates the presence of an audio signal coming from the transmitter.
- Tur the volume of your speakers back on and start increasing the volume of the transmitters untilproper volume is achieved.
Operation
For better result, keep the transmitter at least 2′ away from the receiver but within the transmitter’s range (80m/260ft). Keep the transmitters in a direct line of sight with the receiver whenever possible.
Electronics devices such as mobile phones, radios, and other transmitting devices may interfere with the wireless system transmitters. Please keep transmitter and receiver away from those devices and other possible interfering sources.
Troubleshooting Tips
| ISSUE | REASON | SOLUTION |
| Transmitter battery indicator is rapidly flashing or continuously ON | The batteries are low | Replace with fresh batteries |
| A howling noise (also known as “feedback”) can be heard from the speakers | The microphone is too close to the speaker | Increase the dis- fence between the microphone and the speaker Avoid pointing the microphone directly at the speaker |
| No sound coming to the receiver | The wireless microphone is outside of the receivers range | Keep wireless microphone within operating range of the receiver |
| The wireless transmitter is off or muted (switch set to ‘OFF” or “MUTE”) | Turn wireless micro-phone on. Replace batteries if necessary | |
| Sound reaches the receiver, but no sound corning from the receiver | Volume control too low | Turn up the output volume by tuning the volume control buttons in the & front of the receiver clockwise. |
| Output is not (or wrongly) connected | Verify all connections to the rest of your system. Try different connection cables available. |
If product is defective or for all inquiries including warranty cover, please email [email protected]
Specifications
Overall Systems
| Frequency range | 530 — 580 MHz (Depends on local regulations) |
| Frequency stability | ±0.003% |
| Dynamic range | > 105dB |
| Operation temperature | -10 °C — 50 °C |
| Frequency response | 50Hz – 18kHz |
| Audio output level | 1/4 interface: 0 – 500 mV; XLR interface: 0-500mV |
| Working distance | 80M/260ft |
4 -Channel Wireless Receiver
| Oscillation mode | PLL Synthesized |
| Output impedance | XLR connector: 200 ohm. Antenna connector: 50 ohm |
| RF sensitivity | -105 dBm |
| Image rejection | >100 dB |
| Spurious rejection | >90 dB |
| Power requirement | DC 12 — 15V, Current 1000mA, External power adapter |
Handheld & Bodypack Transmitter
| Audio input level | Gain: 0dB; -20 dBV maximum – 10 dB; -0 dBV Maximum |
| Gain adjustment range | 10dB |
| Power requirement | 2 AA size alkaline batteries for each transmitter |
| Battery life | At least 8 Hours with original batteries for each transmitter. |
Technical Support & Warranty Information
Our Warranty to you: Phenyx Technology (“Phenyx”) warrants Phenyx products against evident de-fects in material and workmanship for a period of one year from the date of original purchase for use. This warranty is valid exclusively in the US and applies only to the original owner. If you discover a defect covered by this warranty, Phenyx will repair or replace the product at our sole discretion using new or refurbished components. Performance of repairs or replacements under this Warranty is sub-ject to registration of your product at www.phenyxusa.com/registerproduct.
Product failures not covered by this warranty:
This warranty covers defects in manufacturing that arise from the correct use of the device. It is limited to defects in materials or workmanship and does not cover electrical or mechanical damage resulting from abuse, misuse, unauthorized modification, lack of reasonable care, extreme heat, cold, damage due to natural forces, or corrosive environments. This warranty does not cover the normal wear and tear on covers, housing, connectors, and accessories.
Limits of liability:
If your Phenyx product fails or does not perform as warranted, your sole recourse shall be to replace or repair it as described above. Phenyx will not be liable to you or anyone else for any damages that result from the failure of this product. These damages include, but are not limited to, the following: lost profi ts, lost savings, lost data, damage to other equipment, and incidental or consequential damages arising from the use of or inability to use this product. IN NO EVENT PHENYX SHALL BE LIABLE FOR MORE THAN THE AMOUNT OF YOUR PURCHASE PRICE, NOT TO EXCEED THE CURRENT LIST PRICE OF THE PRODUCT.
How to obtain service under this warranty:
If you are receiving a system that is defective or you have any questions regarding operation or warranty cover, please contact us at [email protected] with any questions or concerns and a Phenyx Pro representative will contact you to provide assistance. You can also reach out to us through Facebook page: www.facebook.com/phenyxusa/ or our official website: www.phenyxpro.com
PHENYX PRO
www.phenyxpro.com
Designed in US Made in China![]()





















