Tektronix AWG5200 Series Arbitrary Waveform Generators
Important safety information
- This manual contains information and warnings that must be followed by the user for safe operation and to keep the product in a safe condition.
- To safely perform service on this product, see the Service safety summary that follows the General safety summary.
General safety summary
- Use the product only as specified. Review the following safety precautions to avoid injury and prevent damage to this product or any products connected to it. Carefully read all instructions. Retain these instructions for future reference.
- This product shall be used in accordance with local and national codes.
- For correct and safe operation of the product, it is essential that you follow generally accepted safety procedures in addition to the safety precautions specified in this manual.
- The product is designed to be used by trained personnel only.
- Only qualified personnel who are aware of the hazards involved should remove the cover for repair, maintenance, or adjustment.
- Before use, always check the product with a known source to be sure it is operating correctly.
- This product is not intended for detection of hazardous voltages.
- Use personal protective equipment to prevent shock and arc blast injury where hazardous live conductors are exposed.
- While using this product, you may need to access other parts of a larger system. Read the safety sections of the other component manuals for warnings and cautions related to operating the system.
- When incorporating this equipment into a system, the safety of that system is the responsibility of the assembler of the system.
To avoid fire or personal injury
- Use proper power cord : Use only the power cord specified for this product and certified for the country of use.
- Use proper power cord : Use only the power cord specified for this product and certified for the country of use. Do not use the provided power cord for other products.
- Use proper voltage setting: Before applying power, ensure that the line selector is in the proper position for the source being used.
- Ground the product : This product is grounded through the grounding conductor of the power cord. To avoid electric shock, the grounding conductor must be connected to earth ground. Before making connections to the input or output terminals of the product, ensure that the product is properly grounded. Do not disable the power cord grounding connection.
- Ground the product : This product is indirectly grounded through the grounding conductor of the mainframe power cord. To avoid electric shock, the grounding conductor must be connected to earth ground. Before making connections to the input or output terminals of the product, ensure that the product is properly grounded. Do not disable the power cord grounding connection.
- Power disconnect: The power switch disconnects the product from the power source. See instructions for the location. Do not position the equipment so that it is difficult to disconnect the power switch; it must remain accessible to the user at all times to allow for quick disconnection if needed.
- Power disconnect: The power cord disconnects the product from the power source. See instructions for the location. Do not position the equipment so that it is difficult to operate the power cord; it must remain accessible to the user at all times to allow for quick disconnection if needed.
- Use proper AC adapter: Use only the AC adapter specified for this product.
- Connect and disconnect properly: Do not connect or disconnect probes or test leads while they are connected to a voltage source.Use only insulated voltage probes, test leads, and adapters supplied with the product, or indicated by Tektronix to be suitable for the product.
- Observe all terminal ratings : To avoid fire or shock hazard, observe all rating and markings on the product. Consult the product manual for further ratings information before making connections to the product. Do not exceed the Measurement Category (CAT) rating and voltage or current rating of the lowest rated individual component of a product, probe, or accessory. Use caution when using 1:1 test leads because the probe tip voltage is directly transmitted to the product.
- Observe all terminal ratings: To avoid fire or shock hazard, observe all rating and markings on the product. Consult the product manual for further ratings information before making connections to the product. Do not apply a potential to any terminal, including the common terminal, that exceeds the maximum rating of that terminal. Do not float the common terminal above the rated voltage for that terminal.The measurement terminals on this product are not rated for connection to mains or Category II, III, or IV circuits.
- Do not operate without covers : Do not operate this product with covers or panels removed, or with the case open. Hazardous voltage exposure is possible.
- Avoid exposed circuitry: Do not touch exposed connections and components when power is present.
- Do not operate with suspected failures: If you suspect that there is damage to this product, have it inspected by qualified service personnel. Disable the product if it is damaged. Do not use the product if it is damaged or operates incorrectly. If in doubt about safety of the product, turn it off and disconnect the power cord. Clearly mark the product to prevent its further operation. Before use, inspect voltage probes, test leads, and accessories for mechanical damage and replace when damaged. Do not use probes or test leads if they are damaged, if there is exposed metal, or if a wear indicator shows.Examine the exterior of the product before you use it. Look for cracks or missing pieces. Use only specified replacement parts.
- Replace batteries properly: Replace batteries only with the specified type and rating.
- Recharge batteries properly: Recharge batteries for the recommended charge cycle only.
- Use proper fuse: Use only the fuse type and rating specified for this product.
- Wear eye protection: Wear eye protection if exposure to high-intensity rays or laser radiation exists.
- Do not operate in wet/damp conditions :Be aware that condensation may occur if a unit is moved from a cold to a warm environment.
- Do not operate in an explosive atmosphere
- Keep product surfaces clean and dry :Remove the input signals before you clean the product.
- Provide proper ventilation : Refer to the installation instructions in the manual for details on installing the product so it has proper ventilation.Slots and openings are provided for ventilation and should never be covered or otherwise obstructed. Do not push objects into any of the openings.
- Provide a safe working environment : Always place the product in a location convenient for viewing the display and indicators. Avoid improper or prolonged use of keyboards, pointers, and button pads. Improper or prolonged keyboard or pointer use may result in serious injury. Be sure your work area meets applicable ergonomic standards. Consult with an ergonomics professional to avoid stress injuries. Use care when lifting and carrying the product. This product is provided with a handle or handles for lifting and carrying.
Warning: The product is heavy. To reduce the risk of personal injury or damage to the device get help when lifting or carrying the product.
Warning: The product is heavy. Use a two-person lift or a mechanical aid.
Use only the Tektronix rackmount hardware specified for this product.
Probes and test leads
Before connecting probes or test leads, connect the power cord from the power connector to a properly grounded power outlet. Keep fingers behind the protective barrier, protective finger guard, or tactile indicator on the probes. Remove all probes, test leads and accessories that are not in use. Use only correct Measurement Category (CAT), voltage, temperature, altitude, and amperage rated probes, test leads, and adapters for any measurement.
- Beware of high voltages :Understand the voltage ratings for the probe you are using and do not exceed those ratings. Two ratings are important to know and understand:
- The maximum measurement voltage from the probe tip to the probe reference lead
- The maximum floating voltage from the probe reference lead to earth ground
These two voltage ratings depend on the probe and your application. Refer to the Specifications section of the manual for more information.
Warning: To prevent electrical shock, do not exceed the maximum measurement or maximum floating voltage for the oscilloscope input BNC connector, probe tip, or probe reference lead.
- Connect and disconnect properly :Connect the probe output to the measurement product before connecting the probe to the circuit under test. Connect the probe reference lead to the circuit under test before connecting the probe input. Disconnect the probe input and the probe reference lead from the circuit under test before disconnecting the probe from the measurement product.
- Connect and disconnect properly : De-energize the circuit under test before connecting or disconnecting the current probe. Connect the probe reference lead to earth ground only. Do not connect a current probe to any wire that carries voltages or frequencies above the current probe voltage rating.
- Inspect the probe and accessories : Before each use, inspect probe and accessories for damage (cuts, tears, or defects in the probe body, accessories, or cable jacket). Do not use if damaged.
- Ground-referenced oscilloscope use: Do not float the reference lead of this probe when using with ground-referenced oscilloscopes. The reference lead must be connected to earth potential (0 V).
- Floating measurement use : Do not float the reference lead of this probe above the rated float voltage.
Risk assessment warnings and information
Service safety summary
The Service safety summary section contains additional information required to safely perform service on the product. Only qualified personnel should perform service procedures. Read this Service safety summary and the General safety summary before performing any service procedures.
- To avoid electric shock : Do not touch exposed connections.
- Do not service alone : Do not perform internal service or adjustments of this product unless another person capable of rendering first aid and resuscitation is present.
- Disconnect power : To avoid electric shock, switch off the product power and disconnect the power cord from the mains power before removing any covers or panels, or opening the case for servicing.
- Use care when servicing with power on: Dangerous voltages or currents may exist in this product. Disconnect power, remove battery (if applicable),
and disconnect test leads before removing protective panels, soldering, or replacing components. - Verify safety after repair : Always recheck ground continuity and mains dielectric strength after performing a repair.
Terms in the manual
These terms may appear in this manual:
Warning: Warning statements identify conditions or practices that could result in injury or loss of life.
CAUTION: Caution statements identify conditions or practices that could result in damage to this product or other property.
Terms on the product
These terms may appear on the product:
- DANGER indicates an injury hazard immediately accessible as you read the marking.
- WARNING indicates an injury hazard not immediately accessible as you read the marking.
- CAUTION indicates a hazard to property including the product.
Symbols on the product
When this symbol is marked on the product, be sure to consult the manual to find out the nature of the potential hazards and any actions which have to be taken to avoid them. (This symbol may also be used to refer the user to ratings in the manual.) The following symbols may appear on the product:

Preface
This manual contains information needed to service some parts of the AWG5200 Arbitrary Waveform Generators. If further service is required, send the instrument to a Tektronix Service Center. If the instrument does not function properly, troubleshooting and corrective measures should be taken immediately to prevent additional problems from occurring. To prevent personal injury or damage to the instrument, consider the following before beginning service:
- The procedures in this manual should be performed only by a qualified service person.
- Read the General safety summary on page 4 and the Service safety summary.
When using this manual for servicing, be sure to follow all warnings, cautions, and notes.
Manual conventions
This manual uses certain conventions with which you should become familiar. Some sections of the manual contain procedures for you to perform. To keep those instructions clear and consistent, this manual uses the following conventions:
- Names of front-panel controls and menus appear in the same case (initial capitals, all capitals, etc.) in the manual as is used on the instrument front panel and menus.
- Instruction steps are numbered unless there is only one step.
- Bold text refers to specific interface elements that you are instructed to select, click, or clear.
- Example: Press the ENTER button to access the PRESET submenu.
- Italic text refers to document names or sections. Italics are also used in NOTES, CAUTIONS, and WARNINGS.
- Example: The Replaceable parts section includes an exploded view diagram.
Safety
Symbols and terms related to safety appear in the General safety summary.
Product Documentation
The following table lists additional documents for the AWG5200 Series Arbitrary Waveform Generators.
Table 1: Product documentation
| Document | Tektronix PN | Description | Availability |
| Safety and Installation Instructions | 071-3529-XX | This document provides product safety, compliance, environmental, and power on information and basic instrument power specifications. | www.tek.com/downloads |
| Printable Help | 077-1334-XX | This PDF file is a printable version of the AWG5200 Series instrument help content. It provides information on controls and screen elements. | www.tek.com/downloads |
| Table continued… | |||
| Document | Tektronix PN | Description | Availability |
| Specifications and Performance Verification Technical Reference | 077-1335-XX | This document provides complete AWG5200 Series instrument specifications and explains how to verify that the instrument is performing according to the specifications. | www.tek.com/downloads |
| AWG5200 Series Rackmount Instructions (GF–RACK3U) | 071-3534-XX | This document provides instructions to mount the AWG5200 Series Arbitrary Waveform Generators into a standard 19-inch equipment rack. | www.tek.com/downloads |
| AWG5200 Series Declassification and Security Instructions | 077-1338-xx | This document provides instructions for clearing and sanitizing the instrument for declassification and securuty purposes. | www.tek.com/downloads |
Theory of operation
This section describes the electrical operation of the AWG5200 Series Arbitrary Waveform Generators.
System overview
The AWG5200 Series Arbitrary Waveform Generators provide various models with different sample rates and numbers of channels.
System block diagram
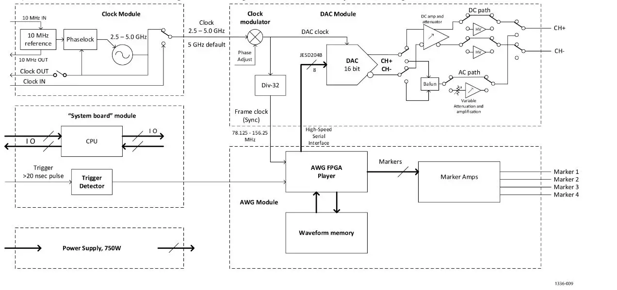
The picture below is a basic block diagram for a single AWG5200 arbitrary waveform generator channel.
Stable timing is derived from a 10 MHz crystal oscillator. Alternatively, an external 10 MHz reference may be used. The 2.5-5.0 GHz clock signal from the clock module is common to all AWG5200 channels. Each channel has independent clock timing (phase) adjustment which is located on the DAC module. The AWG FPGA waveform players are central to the design. These FPGAs retrieve waveform data from memory, receive clock and trigger timing, and play out waveform data via an eight-lane high-speed-serial interface (JESD204B) to the DAC. The DAC creates the waveform. The DAC output has four different paths: DC High Bandwidth (DC thru-path), DC High Voltage, AC direct (AC thru-path), and AC amplified. Note that the AC signal is single-ended, and has its output at the positive phase (CH+). The DC paths are differential. An AWG module contains two waveform players FPGAs. Each drives two DAC channels. A fully-loaded single AWG module provides waveform data for four channels. Each DAC module has two channels. Output bandwidth is a little less than half of the DAC sampling clock frequency. The DAC has a “double-data-rate” (DDR) mode where the DAC is sampled at both rising and falling edges of the clock, and waveform values are interpolated on the falling-edge sample. This doubles the image-suppressed bandwidth of the system.
Maintenance
Introduction
This section contains information for technicians to service some parts of the AWG5200 Arbitrary Waveform Generators. If further service is required, send the instrument to a Tektronix Service Center.
Service prerequisites
To prevent personal injury or damage to the instrument, ensure the following before servicing this instrument:
- Procedures in this manual must be performed by a qualified service person.
- Read the General safety summary and the Service safety summary at the beginning of this manual. (See General safety summary on page 4) and (See Service safety summary).
- When using this manual for servicing, follow all warnings, cautions, and notes.
- Remove and replace procedures describe how to install or remove a replaceable module.
Performance check interval
Generally, the performance check described in the Specifications and Performance Verification Technical Reference document should be done every 12 months. In addition, a performance check is recommended after repair. If the instrument does not meet performance criteria, as shown in the Specifications and Performance Verification Technical Reference document, repair is necessary.
Electrostatic damage prevention
This instrument contains electrical components that are susceptible to damage from electrostatic discharge. Static voltages of 1 kV to 30 kV are common in unprotected environments.
CAUTION: Static discharge can damage any semiconductor component in this instrument.
Observe the following precautions to avoid static damage:
- Minimize handling of static-sensitive components.
- Transport and store static-sensitive components or assemblies in their original containers, on a metal rail, or on conductive foam. Label any package that contains static-sensitive assemblies or components.
- Discharge the static voltage from your body by wearing a wrist strap while handling these components. Servicing static-sensitive assemblies or components should only be performed at a static-free workstation by qualified personnel.
- Nothing capable of generating or holding a static charge should be allowed on the workstation surface.
- Keep the component leads shorted together whenever possible.
- Pick up components by the body, never by the leads.
- Do not slide the components over any surface.
- Avoid handling components in areas that have a floor or work surface covering capable of generating a static charge.
- Do not remove the circuit board assembly from the mounting plate. The mounting plate is an important stiffener, which prevents damage to surface-mount components.
- Use a soldering iron that is connected to earth ground.
- Use only special antistatic, suction-type or wick-type desoldering tools.
Note: A lead-free solder such as SAC 305 is recommended for making repairs in this instrument. Cleaning of rosin residue is not recommended. Most cleaning solvents tend to reactivate the rosin and spread it under components where it may cause corrosion under humid conditions. The rosin residue, if left alone, does not exhibit these corrosive properties.
Inspection and cleaning
- This section describes how to inspect for dirt and damage and how to clean the exterior of the instrument.
- The instrument cover helps keep dust out of the instrument, and is needed to meet EMI and cooling requirements. The cover should be in place when the instrument is in operation.
- Inspection and cleaning, when performed regularly, may prevent the instrument from malfunctioning and enhance its reliability. Preventive maintenance consists of visually inspecting and cleaning the instrument and using general care when operating it. How often preventive maintenance should be performed depends on the severity of the environment in which the instrument is used. A proper time to perform preventive maintenance is just before making any product adjustments.
- Inspect and clean the instrument as often as operating conditions require.This section describes how to inspect for dirt and damage and how to clean the exterior of the instrument.
- The instrument cover helps keep dust out of the instrument, and is needed to meet EMI and cooling requirements. The cover should be in place when the instrument is in operation.
- Inspection and cleaning, when performed regularly, may prevent the instrument from malfunctioning and enhance its reliability. Preventive maintenance consists of visually inspecting and cleaning the instrument and using general care when operating it. How often preventive maintenance should be performed depends on the severity of the environment in which the instrument is used. A proper time to perform preventive maintenance is just before making any product adjustments.
- Inspect and clean the instrument as often as operating conditions require.
Exterior inspection
CAUTION: Do not use chemical cleaning agents that might damage the plastics used in this instrument.
Inspect the outside of the instrument for damage, wear, and missing parts, using the following Table 2 on page 12 as a guide. An instrument that appears to have been dropped or otherwise abused should be checked thoroughly to verify correct operation and performance. Immediately repair defects that could cause personal injury or lead to further damage to the instrument.
Table 2: External inspection checklist
| Item | Inspect for | Repair action |
| Cabinet, front panel, and cover | Cracks, scratches, deformations, damaged hardware or gaskets | Send the instrument to Tektronix for service. |
| Front-panel buttons | Missing or damaged buttons | Send the instrument to Tektronix for service. |
| Connectors | Broken shells, cracked insulation, or deformed contacts. Dirt in connectors | Send the instrument to Tektronix for service. |
| Carrying handle and cabinet feet | Correct operation. In this manual, procedures refer to “front,” “rear,” “top,” etc. of the instrument | Repair or replace defective handle/feet |
| Accessories | Missing items or parts of items, bent pins, broken or frayed cables, or damaged connectors | Repair or replace damaged or missing items, frayed cables, and defective modules |
Exterior cleaning
To clean the exterior of the instrument, perform the following steps:
- Blow off dust through instrument vents with dry, low-pressure, deionized air (approximately 9 psi).
- Remove loose dust on the outside of the instrument with a lint-free cloth.
CAUTION:To prevent getting moisture inside the instrument during external cleaning, use only enough liquid to dampen the cloth or applicator. - Remove remaining dirt with a lint-free cloth dampened in a general-purpose detergent and water solution. Do not use abrasive cleaners.
Lubrication
There is no periodic lubrication required for this instrument.
Remove and replace
This section contains procedures for removal and installation of customer-replaceable modules in the AWG5200 series generator. All parts listed in the Replaceable Parts section of this manual is a module.
Preparation
Warning: Before performing this or any other procedure in this manual, read the General safety summary and the Service safety summary at the beginning of this manual. Also, to prevent possible damage to the components, read the information on preventing ESD in this section. This section contains the following items:
- List of equipment required to remove and disassemble modules
- Module locator diagram for finding the replaceable modules
- Interconnect instructions
- Procedures for removal and reinstallation of instrument modules
Warning: Before removing or replacing any module, disconnect the power cord from the line voltage source. Failure to do so could cause serious injury or death.
Required equipment
The following table lists equipment that you will need to remove and replace instrument modules.
Table 3: Required tools for removal and replacement of modules
| Name | Description |
| Torque driver | Accepts 1/4 inch screwdriver bits. Torque range of 5 in/lb. to 14 in/lb. |
| T10 TORX tip | TORX driver bit for T10 size screw heads |
| T20 TORX tip | TORX driver bit for T20 size screw heads |
| T25 TORX tip | TORX driver bit for T25 size screw heads |
Remove and replace procedures not requiring factory calibration
Note: Calibration is not required when you remove external assemblies, shown in this section.
Rear-corner feet
There are four rear-corner feet.
- Stand the instrument on its handles, with the rear panel facing up.
- Remove the screw holding the foot, using a T25 tip.
- To replace the foot, align it carefully and hold it in alignment while installing the screw. Use a T25 tip and torque to 20 in-lbs.
Bottom feet
There are four feet on the instrument bottom: two flip feet at the front, and two stationary feet at the rear.
- Set the instrument on its top, with the bottom facing up.
- Remove the rubber plug that is installed in the bottom foot you are replacing.
- Remove the screw attaching the foot, and then remove the foot.
- To replace the foot, place it in position and install the screw, using a T-20 tip, and torque to 10 in-lbs.
Handles
- To remove the handles, place the instrument bottom on the work surface.
- Remove the three screws that attach the handle to the instrument as shown, and remove the handle.

- To replace the handles, position the handle on the instrument, lining up the holes in the handle with the posts on the instrument. Attach the handle with two T25 screws and torque to 20 in-lbs.
Side handle
- Remove the four screws using T20 bit to remove the two handle top caps. While installation, torque to 20 in*lb with T20 bit.

- Remove the silicone handle from top of the spacers and remove the two spacers.
- To replace, reverse the procedure.
Encoder knob
Note: The encoder knob is a push-button knob. You must leave at least 0.050 inches of clearance between the back face of the knob and the front panel.
- To remove the encoder knob, loosen the set screw. Do not remove the spacer and nut under the knob.
- To replace the encoder knob:
- Carefully align the encoder knob on the encoder post, on top of the spacer and nut.
- Ensure that there is at least 0.050” of clearance between the back face of the knob and the front panel to allow for push-button operation.
- Install and tighten the set screw. Do not overtighten.
Removable hard drive
- The hard drive is mounted to a hard drive sled located on the front panel. To remove the sled with hard drive, unscrew the two thumbscrews on the front panel (labeled REMOVABLE HARD DRIVE) and slide the hard drive sled out of the instrument.
- To replace, reverse the procedure.
Software upgrades
Software upgrades, as available, are located at www.tektronix.com/downloads.
Calibration
CAUTION: The AWG5200 series has a calibration utility, which does not require any external signals or equipment. This self-cal does not replace a full factory calibration by Tektronix. The full factory calibration must be performed after any procedure that opens the front panel or rear panel. Any measurements made after opening the front or rear panel, without performing the full factory calibration afterward, are invalid.
Factory calibration
The factory calibration must be performed after any procedure module that opens the front panel or rear panel. This calibration can only be performed by Tektronix personnel. If the front panel or rear panel is opened, a full factory calibration must be performed by Tektronix.
Restore Factory calibration
If you run a self-cal and the results are bad, you can restore the factory cal constants by clicking RESTORE FACTORY CAL in the Calibration window.
Self-calibration
Run the calibration utility under the following conditions:
- If your application requires optimum performance, you should run the self-calibration utility before performing critical tests if there are temperature is more than 5 °C above or below the temperature at which the calibration was last run. You must run the complete self-cal. It takes about 10 minutes. If you abort, it won’t write any new cal constants.
- Always start a self-cal by doing the Calibration initialization. It is a hardware reset; it prepares for calibration.
- LOOP: you can loop the calibration, but it never saves the constants. Loop can help find intermittent problems.
- The screen turns pink when there is an error or failure.
Run self-calibration
To run the calibration utility, proceed as follows:
- No external signals or equipment is necessary. Allow the instrument to run for at least 20 minutes under the environmental conditions in which it will operate after calibration. Ensure that the instrument’s internal temperature has stabilized.
- Open the Calibration window:
- Select the Utilities workspace tab.
- Select the Diag & Cal button.
- Select the Diagnostics & Calibration button.
- Select the Calibration button, then the Calibration check box to select all self-calibrations, and change the Log options as desired. All available tests and adjustments are selected now.
- Click Start to begin the calibration. The Start button changes to Abort while the calibration is in process.
- During calibration, you can click the Abort button to stop the calibration and revert to the previous calibration data. If you do so, no calibration constants will be saved.
- If you allow the calibration to complete, and there are no errors, the new calibration data is applied and saved. The pass/fail result is shown in the right panel of the Calibration page, and contains the associated date, time, and temperature information.
- Calibration data is automatically stored in non-volatile memory. If you don’t want to use the calibration data from the most recent self-calibration, click the Restore factory cal button. This loads the original calibration data shipped with the instrument.
Diagnostics
This section contains information designed to help troubleshoot the AWG5200 series instruments to the module level. Component-level repair is not supported. Use the instrument diagnostics to help troubleshoot these instruments.
Note: The diagnostics are available during normal start-up of the AWG5200 Series application.
Back up data
Before running any diagnostics or calibrations on a unit, copy C:\ProgramData\Tektronix\AWG\AWG5200\Logs to a another location.
Review this data with an XML editor or Excel spreadsheet to locate the errors. Then when you run diagnostics or calibrations, you can compare current and previous instrument behavior.
Saving the persistence file
Before you start troubleshooting, use Microsoft Windows Explorer to back up the persistence file to a safe service copy location. After service is complete, restore the persistence file. The persistence file location is C:\ProgramData\Tektronix\AWG\AWG5200\persist.xml.
resultStatistics log file
The resultStatistics log file is a good starting point when diagnosing a reported problem. This file contains the instrument’s identification data and includes which tests were run and results. This is an .xml file and the best way to view the file is as follows:
- Open a blank Excel spreadsheet.
- Click on the Data tab.
- Click Get Data and then select File > From XML.
- Navigate to C:\ProgramData\Tektronix\AWG\AWG5200\resultStatistics.xml and import the data.
Diagnostics overview
The instrument runs some self-tests at start-up. These are the POST tests.The POST tests check connectivity between the boards and also check that the power is within the required range, and that the clocks are functional. You can also choose to run the POST tests at any time, by selecting POST Only in the Diagnostics window.If there is an error, the instrument automatically goes into diagnostics.The levels of diagnostics in the tree are:
- Board level (such as System)
- Area to be tested (such as System Board)
- Feature to be tested (such as Communications)
- Actual tests
Using the Log directory
You can use Microsoft Windows Explorer to copy the log files from: C:\ProgramData\Tektronix\AWG\AWG5200\Logs to a safe service copy location. This can be done without the application running. This directory contains XML files, which show statistics about the instrument diagnostics that have been run. Files that you want to look at are those starting with result, such as resultHistory (raw data from the log at the bottom of the screen when you are running diagnostics) and calResultHistory (raw data from the log at the bottom of the screen when you are running calibration), and calResultStatistics. Copy the diagnostic logs from the AWG onto your computer, where you can use an XML editor to view the logs. To import the logs into an Excel spreadsheet, use the import commands in Excel, for example: Data->From Other Sources ->From XML Data Import (choose file to open with *Statistics in name).
Files and utilities
System. When you select the About my AWG button under Utilities, the first screen shows information such as the installed options, instrument serial number, software version, and PLD versions. Preferences. Check to be sure that the problem is not caused by something being disabled, such as the display, security (USB), or error messages. The error messages appear in the lower left part of the screen, so if they do not appear, they might be disabled. Status also appears in the lower left of the screen.
Diagnostics & Calibration window
When you select the Utilities> Diag & Cal>Diagnostics & Calibration, you open a window where you can run the Self Calibration or Diagnostics. The screen shows the last time that calibration ran and the internal temperature of the instrument when calibration ran. If the temperature is out of range, a message alerts you to rerun the self calibration. For information on the self calibration, see the section on Calibration. This is not the same as a full factory calibration.
Error log
When you select Diagnostics, you can select one or more diagnostics groups to run, then select Start to run. When the tests are complete, the log will appear in the bottom part of the screen. You can set the log to show All results or Failures only. If All results is selected, a log file will always be generated. If Failures only is selected, a log file will only be generated if a selected test fails. Checking Show Failure Info provides more information about the failed test.
Note: Optimum settings for troubleshooting is to select Failures only and check Show failure details.
Click Copy text to make a text file of the log, which you can copy into a Word file or spreadsheet. The error log tells when the instrument passed a test, when it failed, and other pertinent failure data. This does not copy the contents of the log file. Access the log files and read their contents. (See Using the Log directory on page 17) When you close the Diagnostics window, the instrument goes to the previous state, after running a brief hardware initialization. The previous state is restored, with the exception that waveforms and sequences are not stored in memory; they will have to be reloaded.
Repackaging instructions
Use the following instructions to prepare your instrument for shipment to a Tektronix, Inc., Service Center:
- Attach a tag to the instrument showing: the owner, complete address and phone number of someone at your firm who can be contacted, the instrument serial number, and a description of the required service.
- Package the instrument in the original packaging materials. If the original packaging materials are not available, follow these directions:
- Obtain a carton of corrugated cardboard, having inside dimensions six or more inches greater than the dimensions of the instrument. Use a shipping carton that has a test strength of at least 50 pounds (23 kg).
- Surround the module with a protective (anti-static) bag.
- Pack dunnage or urethane foam between the instrument and the carton. If you are using Styrofoam kernels, overfill the box and compress the kernels by closing the lid. There should be three inches of tightly packed cushioning on all side of the instrument.
- Seal the carton with shipping tape, industrial stapler, or both.
Replaceable parts
This section contains separate subsections for different product groups. Use the lists in the appropriate section to identify and order replacement parts for your product.
Standard accessories. Standard accessories for these products are listed in your user manual. The user manual is available at www.tek.com/manuals.
Parts ordering information
Use the lists in the appropriate section to identify and order replacement parts for your product. Replacement parts are available through your local Tektronix field office or representative. Standard accessories for these products are listed in your user manual. The user manual is available at www.tek.com/manuals.
Changes to Tektronix products are sometimes made to accommodate improved components as they become available and to give you the benefit of the latest improvements. Therefore, when ordering parts, it is important to include the following information in your order:
- Part number
- Instrument type or model number
- Instrument serial number
- Instrument modification number, if applicable
If you order a part that has been replaced with a different or improved part, your local Tektronix field office or representative will contact you concerning any change in part number.
Module servicing
- Modules can be serviced by selecting one of the following three options. Contact your local Tektronix Service Center or representative for repair assistance.
- Module exchange. In some cases, you may exchange your module for a remanufactured module. These modules cost significantly less than new modules and meet the same factory specifications. For more information about the module exchange program, call 1-800-833-9200. Outside North America, contact a Tektronix sales office or distributor; see the Tektronix Web site (www.tek.com) for a list of offices.
- Module repair and return. You may ship your module to us for repair, after which we will return it to you.
- New modules. You may purchase replacement modules in the same way as other replacement parts.
Abbreviations
Abbreviations conform to American National Standard ANSI Y1.1-1972.
Using the replaceable parts list
This section contains a list of the replaceable mechanical and/or electrical components. Use this list to identify and order replacement parts. The following table describes each column in the parts list.
Parts list column descriptions
| Column | Column name | Description |
| 1 | Figure & index number | Items in this section are referenced by figure and index numbers to the exploded view illustrations that follow. |
| 2 | Tektronix part number | Use this part number when ordering replacement parts from Tektronix. |
| 3 and 4 | Serial number | Column three indicates the serial number at which the part was first effective. Column four indicates the serial number at which the part was discontinued. No entry indicates the part is good for all serial numbers. |
| 5 | Qty | This indicates the quantity of parts used. |
| 6 | Name & description | An item name is separated from the description by a colon (:). Because of space limitations, an item name may sometimes appear as incomplete. Use the U.S. Federal Catalog handbook H6-1 for further item name identification. |
Replaceable parts – external
Figure 1: Replaceable parts – external exploded view
Table 4: Replaceable parts – external
| Index number | Tektronix part number | Serial no. effective | Serial no. discont’d | Qty | Name & description |
| Refer to Figure 1 on page 21 | |||||
| 1 | 348-2037-XX | 4 | FOOT, REAR, CORNER, SAFETY CONTROLLED | ||
| 2 | 211-1481-XX | 4 | SCREW, MACHINE, 10-32X.500 PANHEAD T25, WITH BLUE NYLOK PATCH | ||
| 3 | 211-1645-XX | 2 | SCREW, MACHINE, 10-32X.750 FLATHEAD, 82 DEG, TORX 20, WITH THREAD LOCKING PATCH | ||
| 4 | 407-5991-XX | 2 | HANDLE, SIDE, TOP CAP | ||
| 5 | 407-5992-XX | 2 | SPACER, HANDLE, SIDE | ||
| Table continued… | |||||
| Index number | Tektronix part number | Serial no. effective | Serial no. discont’d | Qty | Name & description |
| 6 | 367-0603-XX | 1 | OVERMOLD ASSY, HANDLE, SIDE, SAFETY CONTROLLED | ||
| 7 | 348-1948-XX | 2 | FOOT, STATIONARY, NYLON W/30% GLASS FILL, SAFETY CONTROLLED | ||
| 8 | 211-1459-XX | 8 | SCREW, MACHINE, 8-32X.312 PANHEAD T20, WITH BLUE NYLOK PATCH | ||
| 9 | 348-2199-XX | 4 | CUSHION, FOOT; SANTOPRENE, (4) BLACK 101-80) | ||
| 10 | 211-1645-XX | 6 | SCREW, MACHINE, 10-32X.750 FLATHEAD, 82 DEG, TORX 20, WITH THREAD LOCKING PATCH | ||
| 11 | 367-0599-XX | 2 | HANDLE ASSY, BASE AND GRIP, SAFETY CONTROLLED | ||
| 12 | 348-1950-XX | 2 | FOOT ASSEMBLY, FLIP, SAFETY CONTROLLED | ||
| 13 | 348-2199-XX | 4 | CUSHION; FOOT, STACKING | ||
| 14 | 377-0628-XX | 1 | KNOB, WEIGHTED INSERT | ||
| 15 | 366-0930-XX | 1 | KNOB, ASSY | ||
| 16 | 214-5089-XX | 1 | SPRING;KNOB RETAINER |
























