INVENTUM IMC6125F Built-In Microwave Oven
safety instructions
- Carefully and fully read the instruction manual prior to use the appliance and carefully store the manual for future reference.
- Only use this appliance for the purposes described in the instruction manual. Do not use aggressive cleaning agents in this appliance. This microwave oven is only suitable for heating. The appliance is not suitable for industrial or laboratory use.
- Do not try to use this microwave oven with the door open. This could result in hazardous exposure to micro energy. Do not break or adapt the safety hooks.
- Do not place any object between the door of the microwave oven. Make sure the door and sealing always remain clean.
- When the door or sealing is damaged, the microwave oven should no longer be used until it is repaired by an expert.
- aution: Liquids and other foods may not be heated in closed tin cans, as they can explode due to the pressure.
- Repairs to electrical appliances should only be performed by skilled persons. It is dangerous to perform a repair whereby the base unit of the appliance must be opened. The base unit provides protection against exposure to micro energy.
- Keep the appliance out of reach of children. Children do not see the dangers when handling electrical appliances. Therefore, never allow children to work with electrical appliances without supervision. Keep the appliance and cord out of reach of children younger than 8 years of age.
- The appliance can be used by children of 8 years and older and persons with a limited physical, sensory or mental capacity or lack of experience or knowledge, provided they use the appliance under supervision or have been instructed about its safe use and understand the hazards involved.
Children are not allowed to play with the appliance. - The appliance may not be cleaned or maintained by children unless this is done under supervision.
- Only use materials that are suitable for use in the microwave oven.
- Regularly clean the microwave oven and remove food residues.
- Keep an eye on the microwave oven when heating food in a plastic or paper container. It could combust spontaneously.
- Do not use the microwave mode when there is nothing in the appliance. This could damage the appliance.
- In case of smoke, switch off the microwave oven and remove the plug from the socket. Keep the door closed to smother the flames.
- Do not overcook the food.
- Do not use the inside of the microwave oven as storage space. Do not store any biscuits, bread, etc. in the appliance.
- Remove metal closing strips and metal grips of paper or plastic containers/bags before placing them in the microwave oven.
- Always install the microwave oven in accordance with the instructions.
- Eggs in their shells and hard-boiled eggs should not be heated in the microwave oven, as they could explode. Even after the microwave oven has been switched off.
- Do not use the appliance if the plug, cord, or appliance is damaged, if the appliance no longer functions properly or if it is damaged in any other way. If this is the case, consult the shop or our technical service. Never replace the plug or cord yourself.
- Only use and store the appliance indoors.
- Do not use the microwave oven near water, a damp basement/garage, or near a swimming pool.
- Avoid contact with hot surfaces when the appliance is switched on. The inside becomes hot!
- Never cover the ventilation holes.
- Never bend the power cord sharply or allow it to run across hot parts.
- Not keeping the microwave oven clean could result in wear and tear which, in its turn, will have an effect on the life span and could result in dangerous situations.
- The contents of baby bottles and jars of baby food should be stirred or shaken prior to consumption. Check the temperature to prevent burns.
- Caution: Heating liquids could result in explosive boiling over of the liquid. Also after the microwave oven has been switched off. Be careful when removing the cup or container from the microwave oven. Therefore, always place plastic or ceramic spoon in the cup when heating.
- The microwave oven cannot be used with a timer or separate remote control.
- Always make sure the appliance is placed on a sturdy, flat surface.
- Only connect the appliance to an alternate current, to an earthed wall socket, with a mains voltage that corresponds with the information provided on the information plate of the appliance.
- Do not leave the appliance unsupervised if the appliance is operational.
- If you want to move the appliance, make sure the appliance is switched off. Use both hands when moving the appliance.
- Never use the appliance with parts that are not recommended or supplied by the manufacturer.
- Do not pull the cord and/or appliance to remove the plug from the wall socket. Never touch the appliance with wet or moist hands.
- If you decide not to use the appliance anymore due to a defect, we recommend cutting off the cord after removing the plug from the wall socket. Take the appliance to the waste processing department concerned of your municipality.
- If the appliance does not function after it has been switched on, it is possible that the fuse or earth leakage circuit breaker has been activated in the electrical distribution box. The group can be overloaded or an earth leakage current may have occurred.
- In case of a breakdown, never make repairs yourself; a blown safety device in the appliance could indicate a defect that cannot be remedied by removing or replacing this safety device. Only original parts should ever be used.
- Never submerge the appliance, cord, or plug in water.
- This appliance is only suitable for household use. If the appliance is not used as intended, no compensation can be claimed in case of defects or accidents and the warranty will be invalidated.
- Be careful with the following materials and make sure that they may be used in the microwave oven:
- aluminum foil yes*
- paper yes**
- cling film yes
- aluminum container no
- microwave crockery yes
- heat resistant plastic yes
- unglazed pottery no
- metal cookware no
- ovenproof glass and ceramics yes
- normal glass yes
- metal closing strip no
- plate with metal decorative rim no
- mercury thermometer no
- closed jar no***
- bottle with a narrow neck no
- oven bag yes
- Use small pieces to prevent thinner sections of chicken, for example, from getting cooked too quickly.
- Use non-decorated kitchen paper to cover food and absorb fat.
- Remove the cover and make sure the jar is not heated too long. The glass may burst.
- Small household appliances do not belong in the dustbin. Take them to the waste processing department concerned in your municipality.
Product description
- Display
- Operating panel
- Door open knob
- Grille (only use with grill/hot air mode)
- Ring for rotating platform
- Cam for rotating platform
- Rotating platform
- Door with safety hooks
- Window
- 2.1 Button for microwave mode
- 2.2 Button for grill/combination mode 2.3 Button for hot air mode
- 2.4 Button for defrost mode
- 2.5 Button for the clock
- 2.6 STOP and reset button
- 2.7 START/ + 30 SEC button
- 2.8 Adjusting knob or selecting a menu
prior to first use
Before using the microwave oven for the first time, please proceed as follows: carefully unpack the microwave oven and remove all packaging material and any promotional stickers. Keep the packaging (plastic bags and cardboard) out of the reach of children. After unpacking the appliance, check it for external damage that may have occurred during transport. Check that the voltage corresponds with what is stated on the information plate. Prior to installing the microwave oven, observe the instructions in section 18. Clean the microwave oven and all accessories with warm water and a mild cleaning agent. Properly rinse with water only and dry. The appliance is now ready for use. It is possible that the microwave oven smells “new” when used for the first time, this is entirely normal, will do no harm and the smell will disappear automatically. Use of the microwave oven could cause interference of your television or radio signal. Therefore, do not place the microwave oven near such equipment. Do not place the microwave oven near heat sources such as heating or cooker.
Attention
The waveguide cover inside the microwave divides the microwaves and must never be removed.
setting the clock
When inserting the plug of the microwave oven into the socket, 0:00 appears on the display.
- Press the CLOCK button to set the clock, the hour digits will start to flash.
- Turn to set the correct hour – 0-23 (24-hour clock).
- Press the CLOCK button once more, and the minute digits will start to flash.
- Turn to set the correct minutes – 0-59.
- Press the CLOCK button once more to confirm the correct time. The colon between the hours and minutes will start to flash.
- If the clock is not set, it will not function. The display will remain on 0:00.
- If the STOP button is pressed while setting the clock, the display will return to the previous entry.
setting the kitchen timer
- Press the CLOCK button twice to set the kitchen timer. 00:00 appears in the display.
- Turn to set the number of minutes. The maximum time is 95 minutes.
- Press the START/+30 SEC. button to confirm the setting.
- When the set time has expired, five beeps sound and the display returns to the current time.
preparing food in the microwave oven
- Press the MICROWAVE button and P100 appears on the display. Repeatedly press the MICROWAVE button to change the wattage or use the rotary knob – P100-P80-P50-P30-P10.
- Press the START/+30 SEC. button to confirm the power setting.
- Turn to set the correct preparation time. The preparation time can be set from 0:05 to 95:00.
- Press the START/+30 SEC. button to confirm the preparation time setting and start the microwave oven.
| Microwave power | Application |
| P10 = 90 Watts | Softening butter or ice cream |
| P30 = 270 Watts | Soup, mash pot or defrosting |
| P50 = 450 Watts | Mash pot, fish |
| P80 = 720 Watts | Rice, fish, chicken, minced meat |
| P100 = 900 Watts | Heating, milk, boiling water, vegetables, heating drinks |
The steps for setting the time are as follows:
- 0-1 minute: 5 seconds
- 1-5 minutes: 10 seconds
- 5-10 minutes: 30 seconds
- 10-30 minutes: 1 minute
- 30-95 minutes: 5 minutes
grilling or combined preparation
- Press the GRILL/COMBI button and G-1appears on the display. Repeatedly press the GRILL/COMBI button to change the program or do this by means of the rotary knob – C-1, C-2, C-3 or C-4.
- Press the START/+30 SEC. button to confirm the program setting.
- Turn to set the correct preparation time. The preparation time can be set from 0:05 to 95:00.
- Press the START/+30 SEC. button once more to start the program.

Extra:
If the grill is set to 10 minutes, for example, two beeps sound halfway the grilling time to indicate that the dish must be turned over. Close the door after turning over the dish and press the START/+30 SEC. button to continue grilling the dish.
hot air with preheating mode
Preparing food with hot air is the same as with a traditional oven. The microwave is not used. Before placing the dish in the oven, we recommend preheating the oven.
- Press the HOT AIR button. In the display 130°C starts to flash.
- Repeatedly press the HOT AIR button or turn to change the temperature. The temperature can be set from 130 to 220°C.
- Press the START/+30 SEC. button to confirm the temperature.
- Press the START/+30 SEC. button once more to start preheating. When the set temperature has been reached, two beeps sound to remind you to place the dish in the oven. The set temperature will flash.
- Place the dish in the oven, close the door, and set the required time with the rotary knob. The maximum is 95 minutes.
- Press the START/+30 SEC. button to start baking.
Extra:
The preparation time can only be set once the oven has been preheated. When the set temperature has been reached, the door must be opened once to set the preparation time. If preheating takes longer than 30 minutes, the microwave oven will stop preheating 5 minutes later. The beep sounds five times and the microwave oven switches off.
hot air without preheating
- Press the HOT AIR button. In the display 130°C starts to flash.
- Repeatedly press the HOT AIR button or turn to change the temperature. The temperature can be set from 130 to 220°C.
- Press the START/+30 SEC. button to confirm the temperature.
- Use the rotary knob to set the required time. The maximum is 95 minutes.
- Press the START/+30 SEC. button to start baking.
preparing food with several modes
With the microwave oven, a maximum of two modes can be used at the same time. If one of the modes is defrosting, it will have to be set first. One beep will sound after each step and before the following step starts
Example:
if you want to defrost food for 5 minutes and then heat it with 80% microwave power for 7 minutes, you must observe the following steps:
- Press the DEFROST button twice so that d-2 appears on the display.
- Use the rotary knob to set the defrost time to 5 minutes.
- Press MICROWAVE once and use the rotary knob to set the microwave power to 80% – P80.
- Press the START/+30 SEC. button to confirm the setting.
- Use the rotary knob to set the heating time to 7 minutes.
- Press the START/+30 SEC. button to start the preparation.
quick start
- Press the START/+30 SEC. button to heat up quickly at full power (900 Watts) for 30 seconds. When the same button is pressed repeatedly, the time is extended by 30 seconds each time. The maximum is 95 minutes. or
- When using microwave, grill, hot air, combination positions, and defrosting, press the START/+30 SEC. button in time, to extend the full power preparation time by 30 seconds. When the same button is pressed repeatedly, the time is extended by 30 seconds each time.
defrosting
DEFROSTING ON THE BASIS OF WEIGHT
- Press the DEFROST button once to defrost on the basis of weight. In the display, d-1 starts to flash.
- Use the rotary knob to select the weight of the food to be defrosted. The weight must be between 100 and 2000 grams.
- Press the START/+30 SEC. button to start defrosting.
DEFROSTING ON THE BASIS OF TIME
- Press the DEFROST button twice to defrost on the basis of time. In the display, d-2 starts to flash.
- Use the rotary knob to select the required time for the food to be defrosted. The maximum time is 95 minutes.
- Press the START/+30 SEC. button to start defrosting.
- Turn the knob to the right to select the correct menu and A 1, A 2, A 3….. A 10 will appear in the display.
- Press the START/+30 SEC. button to confirm the correct menu.
- Use the rotary knob to set the required weight or portion of the menu.
- Press the START/+30 SEC. button to start the menu.
Extra:
The CAKE program – A8 – uses hot air with preheating at 180°C. Once the set temperature has been reached, a beep sounds to indicate that you can place the cake in the oven. Then press the START/+30 SEC. button to start baking. See the next page for an extensive menu overview.
Overview of preprogrammed menus
| Menu | Weight (g) | Display | Used position |
|
A 1 HEATING | 150 g | 150 |
MICROWAVE P100 |
| 250 g | 250 | ||
| 350 g | 350 | ||
| 450 g | 450 | ||
| 600 g | 600 | ||
| A 2 POTATOES | 1 (approx. 230 g) | 1 | MICROWAVE P100 |
| 2 (approx. 460 g) | 2 | ||
| 3 (approx. 690 g) | 3 | ||
|
A 3 MEAT | 150 g | 150 |
MICROWAVE P100 |
| 300 g | 300 | ||
| 450 g | 450 | ||
| 600 g | 600 | ||
| A 4 VEGETABLES | 150 g | 150 | MICROWAVE P100 |
| 350 g | 350 | ||
| 500 g | 500 | ||
|
A 5 FISH | 150 g | 150 |
MICROWAVE P80 |
| 250 g | 250 | ||
| 350 g | 350 | ||
| 450 g | 450 | ||
| 650 g | 650 | ||
| A 6 PASTA | 50 g (with 450 ml of water) | 50 | MICROWAVE P80 |
| 100 g (with 800 ml of water) | 100 | ||
| 150 g (with 1200 ml of water) | 150 | ||
| A 7 SOUP | 200 g | 200 | MICROWAVE P100 |
| 400 g | 400 | ||
| 600 g | 600 | ||
| A 8 CAKE | 475 g | 475 | Preheating at 180°C |
| A 9 PIZZA | 200 g | 200 | C-4 |
| 300 g | 300 | ||
| 400 g | 400 | ||
|
A 10 CHICKEN | 500 g | 500 |
C-4 |
| 750 g | 750 | ||
| 1000 g | 1000 | ||
| 1200 g | 1200 |
child lock
The microwave oven is equipped with a child lock. It is used to block all operating elements and prevents your child from accidentally switching on the appliance.
Activating the child lock:
To activate the child lock off the microwave oven you must press the STOP button for 3 seconds. A long beep sounds and the child lock indicator lights up. The display shows the current time if it has been set.
Canceling the child lock:
To cancel the child lock you must press the STOP button for 3 seconds. A long beep sounds. The child lock indicator disappears.
extras
- When using the microwave oven you can press the CLOCK button for 2-3 seconds to show the current time.
- When using one of the microwave modes, you can see the selected position by pressing the accompanying mode button MICROWAVE or GRILL/COMBI. The power is shown in the display for 2-3 seconds.
- The beep signal sounds once each time you turn the knob during a new setting.
- START/+30 SEC. must be pressed again when the door of the microwave oven has been open during preparation.
- When a program has been set but is not started within five minutes, the setting will disappear and the display will show the current time (if set).
- The beep signal only sounds when you properly press the buttons. If you do not press the buttons properly, the signal will not sound and the mode will not be activated.
- The beep signal sounds five times to indicate that the preparation time has ended.
cleaning and maintenance
Before cleaning your microwave oven, switch off the appliance, remove the plug from the socket and allow the appliance to cool down fully.
Interior
Clean the interior of the appliance after each use. Use a damp cloth. For thorough cleaning, use warm water with washing-up liquid and properly wipe the interior dry with a cloth.
Accessories
Loose accessories such as the rotating platform, the ring for the rotating platform, and the grille must be cleaned with warm water and washing-up liquid. These accessories may also be cleaned in the dishwasher. Properly dry everything before using it again.
Exterior
Clean the exterior of the appliance with a damp cloth or sponge. If necessary, you can clean the exterior of the appliance by means of a mild washing-up liquid. Also properly clean the door and door rubber.
Problems & solutions
First check the following, before contacting customer service.
| Problem | Solution |
| The microwave oven does not work | Is the plug inserted in the socket? Is the fuse in the meter cupboard defective? |
| The microwave oven does not heat up | Is the door properly closed? Open the door and close it again properly. |
| The rotating platform makes noise | Clean the ring for the rotating platform and the bottom of the microwave oven. |
| The food is not properly defrosted | Were power and time set correctly? Did you stir the food during defrosting or turn it over? |
| The steam collects on the inside of the door, hot air comes out of the ventilation holes. | When preparing food, it is possible that steam is produced. Most of this steam will disappear automatically via the ventilation holes, but it is possible that steam also accumulates at a colder location such as the oven door. This is normal. |
| The microwave mode has been activated by accident, without anything in the microwave oven. | The microwave mode should never be used without any food in the microwave oven. This is highly dangerous and the microwave oven could become defective. |
installation instruction
- Safety during use is only guaranteed if the assembly has taken place in a technically correct way and in accordance with these installation instructions. The installer is liable for damage caused by incorrect assembly.
- The electrical connection may be carried out only by a qualified electrician. This person should be aware of the national and regional safety instructions with which the connection has to comply.
- The microwave oven falls under protective class I and may only be used in combination with an earthed connection. The manufacturer is not liable for the unsuitable operation and possible damage caused by unsuitable electric installations.
- The microwave oven must be connected to a permanent installation in which provisions for switching off are integrated, in accordance with the installation instructions.
- Make sure that the power supply cable does not get jammed during installation or is running along sharp edges. It must be placed in such a way that no contact is made with hot parts of the microwave oven.
- The connection point, socket and/or plug must always be accessible.
- The kitchen furniture in which the microwave oven is built, must be heat resistant (> 75°C).
- Check that the kitchen furniture in which the microwave oven will be mounted is firmly attached. For example, by screwing it to the adjacent elements.
- In case of incorrect installation or connection, the warranty becomes invalid.
- Attention: any change to the appliance, including replacement of the power supply cable, must be performed by a certified installer.
ELECTRICAL CONNECTION
The mains voltage must correspond with the voltage shown on the information plate in the microwave oven. In the meter cupboard, the groups must each be protected with a 16 Ampere fuse at least. The connection cable must have a core cross-section of at least 2.5 mm² and a length of 1.5 m. If the cable is too short, you cannot connect the microwave oven and place it against the wall before you want to insert the plug in the socket.
BUILDING IN THE MICROWAVE OVEN
- Check that the kitchen furniture and recess meet the set requirements in relation to dimensions. The figure below shows the dimensions of the recess in mm.

- Read the instructions on the provided drawing template.
- Place the drawing template on the bottom of the kitchen cupboard. Make sure that the center line of the template is also the center of the kitchen cabinet.

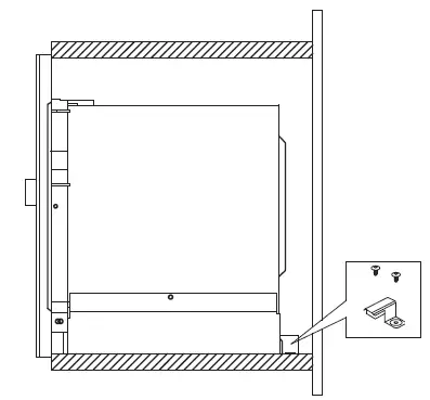
- Place the tilting safeguard on the correct location on the drawing and mount it with the provided screws. Now pull loose the drawing.

- Slide the microwave oven in the kitchen cabinet. Caution: make sure that the connection cable does not get jammed and does not lie on top of the microwave oven.
- Open the door of the microwave oven. Use the screw provided to fasten the microwave oven at the front and place the plastic cap on the screw head.

- Close the door and insert the plug in the socket.
- The microwave oven is now ready to be used.
Product fiche
| Manufacturer | INVENTUM |
| Model number | IMC6125F |
| Appliance type | built-in microwave oven |
| Number of oven chambers | 1 |
| Heat source per oven chamber | electric |
| Construction | |
| Capacity | 25 litres |
| Rotating platform Ø | 315 mm |
| Dimensions (wxdxh) in mm – interior | 328 x 346 x 226 |
| Technical data | |
| Dimension (wxdxh) in mm | 595 x 470 x 460 |
| Nett Weight in kg | 21 kg |
| Electrical connected load – microwave [W] | 1450 watts |
| Microwave power | 900 watts |
| Electrical connected load – grill [W] | 1100 watts |
| Electrical connected load – hot air [W] | 2500 watts |
| Mains voltage [V] / mains frequency [Hz] | 230V ~/ 50 Hz |
Remark: On the information plate – on the inside of the appliance – you will also find the technical data of the microwave oven.


























